TOP
|
特許
|
意匠
|
商標
特許ウォッチ
Twitter
他の特許を見る
公開番号
2025153585
公報種別
公開特許公報(A)
公開日
2025-10-10
出願番号
2024056133
出願日
2024-03-29
発明の名称
作業機械を含むシステム、作業機械、および作業機械の自動走行制御方法
出願人
株式会社小松製作所
代理人
弁理士法人深見特許事務所
主分類
E02F
9/20 20060101AFI20251002BHJP(水工;基礎;土砂の移送)
要約
【課題】一の掘削対象から他の掘削対象へ移動する際に、自動作業の作業開始位置への移動を自動で行う作業機械を含むシステム、作業機械、および作業機械の自動走行制御方法を提供する。
【解決手段】ホイールローダ1は、第1掘削対象200Aの掘削終了をトリガーとして第2掘削対象200Bの作業開始位置P2に移動する。この後、第2掘削対象200Bを掘削し、掘削された掘削物を積込対象300に積み込む一連の作業を自動化した自動作業が実行される。位置情報センサ111、112はホイールローダ1の現在位置P1と作業開始位置P2との位置情報を検出する。自動化コントローラ100は、現在位置P1と作業開始位置P2との位置情報に基づいて、現在位置P1から作業開始位置P2までの走行経路R1を生成する。
【選択図】図5
特許請求の範囲
【請求項1】
第1掘削対象の掘削終了をトリガーとして第2掘削対象の作業開始位置に移動した後に、前記第2掘削対象を掘削し、掘削された掘削物を積込対象に積み込む一連の作業を自動化した自動作業を実行する、作業機械を含むシステムであって、
前記作業機械の現在位置を検出する位置情報センサと、
前記位置情報センサが検出した前記現在位置と前記第2掘削対象の作業開始位置との位置情報に基づいて、前記現在位置から前記第2掘削対象の作業開始位置までの走行経路を生成するコントローラと、を備える、システム。
続きを表示(約 1,100 文字)
【請求項2】
前記作業機械は、走行体を有し、
前記コントローラは、生成した前記走行経路に沿って前記作業機械が自動で走行するように前記走行体を制御する、請求項1に記載のシステム。
【請求項3】
前記コントローラは、前記第1掘削対象の掘削終了をトリガーとして、前記第1掘削対象および前記第2掘削対象を含む複数の掘削対象の各々の作業開始位置のうち前記第2掘削対象の作業開始位置を選択して前記走行経路を生成する、請求項1に記載のシステム。
【請求項4】
前記コントローラは、前記第1掘削対象および前記第2掘削対象を含む複数の掘削対象の各々の作業開始位置のうちオペレータの操作によって選択された前記第2掘削対象の作業開始位置に基づいて前記走行経路を生成する、請求項1に記載のシステム。
【請求項5】
オペレータによる前記操作は、前記作業機械から離れた遠隔地からのオペレータの操作である、請求項4に記載のシステム。
【請求項6】
前記コントローラは、前記第1掘削対象の掘削終了に基づいて、前記第2掘削対象の作業開始位置までの前記走行経路を自動的に生成する、請求項1に記載のシステム。
【請求項7】
前記コントローラは、据え切りせずに走行可能な前記走行経路を生成する、請求項1に記載のシステム。
【請求項8】
第1掘削対象の掘削終了をトリガーとして第2掘削対象の作業開始位置に移動した後に、前記第2掘削対象を掘削し、掘削された掘削物を積込対象に積み込む一連の作業を自動化した自動作業を実行する作業機械であって、
前記作業機械の現在位置を検出する位置情報センサと、
前記位置情報センサが検出した前記現在位置と前記第2掘削対象の作業開始位置との位置情報に基づいて、前記現在位置から前記第2掘削対象の作業開始位置までの走行経路を生成するコントローラと、を備える、作業機械。
【請求項9】
第1掘削対象の掘削終了をトリガーとして第2掘削対象の作業開始位置に移動した後に、前記第2掘削対象を掘削し、掘削された掘削物を積込対象に積み込む一連の作業を自動化した自動作業を実行する、作業機械の自動走行制御方法であって、
前記作業機械の現在位置を検出するステップと、
検出された前記現在位置と前記第2掘削対象の作業開始位置との位置情報に基づいて、前記現在位置から前記第2掘削対象の作業開始位置までの走行経路を生成するステップと、を備える、作業機械の自動走行制御方法。
発明の詳細な説明
【技術分野】
【0001】
本開示は、作業機械を含むシステム、作業機械、および作業機械の自動走行制御方法に関する。
続きを表示(約 1,400 文字)
【背景技術】
【0002】
たとえば特開平10-88625号公報(特許文献1)には、掘削から、積込み時のダンプアプローチ、ダンプへの積込までの一連の作業を自動で実行することができるホイールローダが開示されている。
【先行技術文献】
【特許文献】
【0003】
特開平10-88625号公報
【発明の概要】
【発明が解決しようとする課題】
【0004】
複数の掘削対象(地山)があり、ある掘削対象(地山)での一連の作業を終えた後、選択された別の掘削対象(地山)で一連の作業を実行することが必要な場合がある。この場合、選択された別の掘削対象(地山)での自動作業を開始する待機位置(作業開始位置)にホイールローダなどの作業機械を正確に位置決めさせる必要があるが、手動での位置合わせは煩雑な作業である。
【0005】
本開示の目的は、一の掘削対象から他の掘削対象へ移動する際に、自動作業の作業開始位置への移動を自動で行う作業機械を含むシステム、作業機械、および作業機械の自動走行制御方法を提供することである。
【課題を解決するための手段】
【0006】
本開示の作業機械を含むシステムおよび作業機械の各々は、第1掘削対象の掘削終了をトリガーとして第2掘削対象の作業開始位置に移動した後に、第2掘削対象を掘削し、掘削された掘削物を積込対象に積み込む一連の作業を自動化した自動作業を実行する。本開示の作業機械を含むシステムおよび作業機械の各々は、位置情報センサと、コントローラとを備える。位置情報センサは、作業機械の現在位置を検出する。コントローラは、位置情報センサが検出した現在位置と第2掘削対象の作業開始位置との位置情報に基づいて、現在位置から第2掘削対象の作業開始位置までの走行経路を生成する。
【0007】
本開示の作業機械の自動走行制御方法は、第1掘削対象の掘削終了をトリガーとして第2掘削対象の作業開始位置に移動した後に、第2掘削対象を掘削し、掘削された掘削物を積込対象に積み込む一連の作業を自動化した自動作業を実行する。本開示の作業機械の自動走行制御方法は、以下のステップを備える。
【0008】
作業機械の現在位置の位置情報が検出される。検出された現在位置と第2掘削対象の作業開始位置との位置情報に基づいて、現在位置から第2掘削対象の作業開始位置までの走行経路が生成される。
【発明の効果】
【0009】
本開示によれば、一の掘削対象から他の掘削対象へ移動する際に、自動作業の作業開始位置への移動を自動で行う作業機械を含むシステム、作業機械、および作業機械の自動走行制御方法を実現することができる。
【図面の簡単な説明】
【0010】
作業機械の一例としてのホイールローダの側面図である。
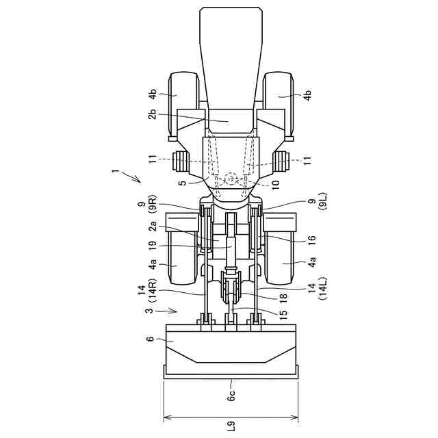
図1に示されるホイールローダの平面図である。
ホイールローダによる掘削積込作業を説明する図である。
ホイールローダの制御システムの概略構成を示すブロック図である。
ホイールローダの自動走行制御システムの構成を示すブロック図である。
自動作業の作業開始位置までのホイールローダの走行経路を示す模式図である。
ホイールローダの自動走行制御方法を示すフローチャートである。
【発明を実施するための形態】
(【0011】以降は省略されています)
この特許をJ-PlatPat(特許庁公式サイト)で参照する
関連特許
株式会社小松製作所
作業機械および方法
8日前
株式会社小松製作所
作業機械および方法
8日前
株式会社小松製作所
作業機械および方法
8日前
株式会社小松製作所
作業機械および方法
9日前
株式会社小松製作所
発注システムおよび発注方法
10日前
株式会社小松製作所
発注システムおよび発注方法
10日前
株式会社小松製作所
作業車両および作業車両の制御方法
8日前
株式会社小松製作所
作業機械および作業機械の制御方法
8日前
株式会社小松製作所
作業車両用作動油タンク及び作業車両
16日前
株式会社小松製作所
油圧駆動システムおよび油圧駆動方法
9日前
株式会社小松製作所
システム、作業機械、および制御方法
8日前
株式会社小松製作所
作業車両の制御システム及び作業車両
8日前
株式会社小松製作所
作業機械システムおよび作業機械の制御方法
9日前
株式会社小松製作所
作業機械システムおよび作業機械の制御方法
9日前
株式会社小松製作所
作業機械の点検支援システム及び点検支援方法
8日前
株式会社小松製作所
作業機械、及び、作業機械を制御するための方法
11日前
株式会社小松製作所
散水システム、散水機械および散水装置の制御方法
10日前
株式会社小松製作所
散水システム、作業機械および散水装置の制御方法
10日前
株式会社小松製作所
感情推定装置、感情推定方法および遠隔操作システム
11日前
株式会社小松製作所
作業機械、作業機械のシステムおよび作業機械の制御方法
10日前
株式会社小松製作所
作業機械、作業機械のシステムおよび作業機械の制御方法
10日前
株式会社小松製作所
認証情報表示システム、情報端末、及び認証情報表示方法
8日前
株式会社小松製作所
作業機械の暖房装置、および作業機械の暖房装置の制御方法
9日前
株式会社小松製作所
作業機械の表示システム、作業機械、及び作業機械の表示方法
10日前
株式会社小松製作所
表示制御装置、情報端末、表示制御方法、及び表示制御システム
8日前
株式会社小松製作所
作業機械、作業機械を含むシステム、および作業機械の制御方法
8日前
株式会社小松製作所
作業機械を含むシステム、作業機械、および作業機械の自動走行制御方法
8日前
株式会社小松製作所
作業機械の制御システム、作業機械、作業機械の遠隔操作システム、及び作業機械の制御方法
9日前
株式会社小松製作所
作業機械の制御システム、作業機械、作業機械の遠隔操作システム、及び作業機械の制御方法
9日前
株式会社小松製作所
作業機械の制御システム、作業機械、作業機械の遠隔操作システム、及び作業機械の制御方法
9日前
株式会社小松製作所
作業機械の制御システム、作業機械、作業機械の遠隔操作システム、及び作業機械の制御方法
9日前
株式会社小松製作所
作業機械の制御システム、作業機械、作業機械の遠隔操作システム、及び作業機械の制御方法
9日前
鈴健興業株式会社
敷板部材
15日前
株式会社クボタ
作業車
17日前
株式会社クボタ
作業車
17日前
個人
擁壁用ブロックおよび擁壁
16日前
続きを見る
他の特許を見る