TOP
|
特許
|
意匠
|
商標
特許ウォッチ
Twitter
他の特許を見る
公開番号
2025165248
公報種別
公開特許公報(A)
公開日
2025-11-04
出願番号
2024069245
出願日
2024-04-22
発明の名称
乳酸閾値導出装置、方法、プログラム、記録媒体
出願人
株式会社アドバンテスト
代理人
個人
,
個人
主分類
A61B
5/00 20060101AFI20251027BHJP(医学または獣医学;衛生学)
要約
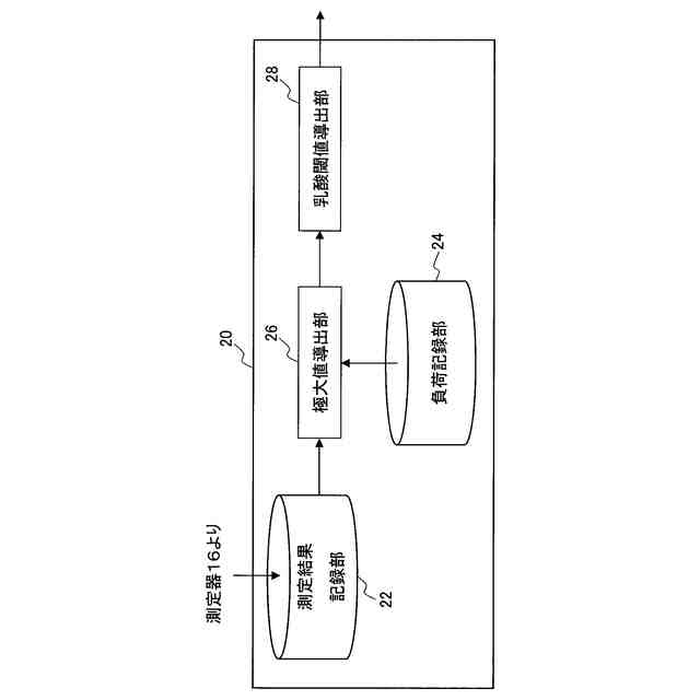
【課題】汗中の乳酸値の測定結果に基づき、乳酸閾値を正確に導出する。
【解決手段】乳酸閾値導出装置20は、被験者の汗中の乳酸の量の測定結果を時間と対応付けて記録する測定結果記録部22と、被験者にかけた負荷を時間と対応付けて記録する負荷記録部24と、測定結果の極大値を負荷に対応づけて導出する極大値導出部26と、負荷に対する極大値の上昇率が減少に変化する変化点における負荷に基づき、被験者の乳酸閾値を導出する乳酸閾値導出部28とを備える。ただし、負荷が、被験者の準備運動の後で、運動の後に休憩をとるサイクルを複数回繰り返したときの運動の際の負荷であり、 負荷がサイクルごとに上昇する。
【選択図】図3
特許請求の範囲
【請求項1】
被験者の汗中の乳酸の量の測定結果を時間と対応付けて記録する測定結果記録部と、
前記被験者にかけた負荷を時間と対応付けて記録する負荷記録部と、
前記測定結果の極大値を前記負荷に対応づけて導出する極大値導出部と、
前記負荷に対する前記極大値の上昇率が減少に変化する変化点における負荷に基づき、前記被験者の乳酸閾値を導出する乳酸閾値導出部と、
を備え、
前記負荷が、前記被験者の準備運動の後で、運動の後に休憩をとるサイクルを複数回繰り返したときの前記運動の際の負荷であり、
前記負荷が前記サイクルごとに上昇する、
乳酸閾値導出装置。
続きを表示(約 2,100 文字)
【請求項2】
被験者の汗中の乳酸の量の測定結果を時間と対応付けて記録する測定結果記録部と、
前記被験者にかけた負荷を時間と対応付けて記録する負荷記録部と、
前記測定結果が極大値をとる時間の近傍の測定結果の合計を前記負荷に対応づけて導出する合計導出部と、
前記負荷に対する前記合計の上昇率が減少に変化する変化点における負荷に基づき、前記被験者の乳酸閾値を導出する乳酸閾値導出部と、
を備え、
前記負荷が、前記被験者の準備運動の後で、運動の後に休憩をとるサイクルを複数回繰り返したときの前記運動の際の負荷であり、
前記負荷が前記サイクルごとに上昇する、
乳酸閾値導出装置。
【請求項3】
請求項1または2に記載の乳酸閾値導出装置であって、
前記乳酸閾値導出部が、前記変化点における負荷を前記乳酸閾値とする、
乳酸閾値導出装置。
【請求項4】
請求項1または2に記載の乳酸閾値導出装置であって、
前記乳酸閾値導出部が、前記変化点における負荷と前記変化点における負荷の1サイクル後の負荷との間の負荷を前記乳酸閾値とする、
乳酸閾値導出装置。
【請求項5】
請求項1または2に記載の乳酸閾値導出装置であって、
前記準備運動が、前記被験者の心拍数が所定の回数の下で、所定時間行われる、
乳酸閾値導出装置。
【請求項6】
請求項1または2に記載の乳酸閾値導出装置であって、
前記休憩の時間が、前記運動の時間よりも長い、
乳酸閾値導出装置。
【請求項7】
被験者の汗中の乳酸の量の測定結果を時間と対応付けて記録する測定結果記録工程と、
前記被験者にかけた負荷を時間と対応付けて記録する負荷記録工程と、
前記測定結果の極大値を前記負荷に対応づけて導出する極大値導出工程と、
前記負荷に対する前記極大値の上昇率が減少に変化する変化点における負荷に基づき、前記被験者の乳酸閾値を導出する乳酸閾値導出工程と、
を備え、
前記負荷が、前記被験者の準備運動の後で、運動の後に休憩をとるサイクルを複数回繰り返したときの前記運動の際の負荷であり、
前記負荷が前記サイクルごとに上昇する、
乳酸閾値導出方法。
【請求項8】
被験者の汗中の乳酸の量の測定結果を時間と対応付けて記録する測定結果記録工程と、
前記被験者にかけた負荷を時間と対応付けて記録する負荷記録工程と、
前記測定結果が極大値をとる時間の近傍の測定結果の合計を前記負荷に対応づけて導出する合計導出工程と、
前記負荷に対する前記合計の上昇率が減少に変化する変化点における負荷に基づき、前記被験者の乳酸閾値を導出する乳酸閾値導出工程と、
を備え、
前記負荷が、前記被験者の準備運動の後で、運動の後に休憩をとるサイクルを複数回繰り返したときの前記運動の際の負荷であり、
前記負荷が前記サイクルごとに上昇する、
乳酸閾値導出方法。
【請求項9】
乳酸閾値導出処理をコンピュータに実行させるためのプログラムであって、
前記乳酸閾値導出処理が、
被験者の汗中の乳酸の量の測定結果を時間と対応付けて記録する測定結果記録工程と、
前記被験者にかけた負荷を時間と対応付けて記録する負荷記録工程と、
前記測定結果の極大値を前記負荷に対応づけて導出する極大値導出工程と、
前記負荷に対する前記極大値の上昇率が減少に変化する変化点における負荷に基づき、前記被験者の乳酸閾値を導出する乳酸閾値導出工程と、
を備え、
前記負荷が、前記被験者の準備運動の後で、運動の後に休憩をとるサイクルを複数回繰り返したときの前記運動の際の負荷であり、
前記負荷が前記サイクルごとに上昇する、
プログラム。
【請求項10】
乳酸閾値導出処理をコンピュータに実行させるためのプログラムであって、
前記乳酸閾値導出処理が、
被験者の汗中の乳酸の量の測定結果を時間と対応付けて記録する測定結果記録工程と、
前記被験者にかけた負荷を時間と対応付けて記録する負荷記録工程と、
前記測定結果が極大値をとる時間の近傍の測定結果の合計を前記負荷に対応づけて導出する合計導出工程と、
前記負荷に対する前記合計の上昇率が減少に変化する変化点における負荷に基づき、前記被験者の乳酸閾値を導出する乳酸閾値導出工程と、
を備え、
前記負荷が、前記被験者の準備運動の後で、運動の後に休憩をとるサイクルを複数回繰り返したときの前記運動の際の負荷であり、
前記負荷が前記サイクルごとに上昇する、
プログラム。
(【請求項11】以降は省略されています)
発明の詳細な説明
【技術分野】
【0001】
本発明は、乳酸閾値の測定に関する。
続きを表示(約 2,000 文字)
【背景技術】
【0002】
従来より、乳酸が血液中に蓄積し始める運動強度(すなわち、乳酸閾値)を測定し、体力を判断することが知られている。
【0003】
乳酸閾値は採血することにより測定が可能である。しかし、採血は侵襲的であるため、非侵襲的に乳酸閾値を測定することが好ましい。
【0004】
そこで、汗中の乳酸値の測定結果に基づき、乳酸閾値を導出することが試みられている(特許文献1および非特許文献1~8を参照)。
【先行技術文献】
【特許文献】
【0005】
国際公開第2023/126525号
【非特許文献】
【0006】
Xing Xuan et.al., “Fully Integrated Wearable Device for ContinuousSweat Lactate Monitoring in Sports”, American Chemical Society Sensors 2023年6月8日, 8, p. 2401-2409
H.Okawara et.al., “Anaerobic threshold using sweat lactate sensorunder hypoxia”, Nature Portfolio Scientific Reports, 2023年12月21日,13(1),22865
Y.Muramoto et.al., “Estimation of maximal lactate steady state usingthe sweat lactate sensor” Nature Portfolio Scientific Reports, 2023年6月26日,13(1),10366
Y.Maeda et.al., “Implications of the Onset of Sweating on the SweatLactate Threshold”, MDPI Sensors, 2023年3月23日,23(7),3378
T.Sawada et.al., “Constant Load Pedaling Exercise Combined withElectrical Muscle Stimulation Leads to an Early Increase in Sweat LactateLevels”, MDPI Sensors, 2022年12月7日,22(24),9585
H.Okawara et.al., “Kinetic changes in sweat lactate followingfatigue during constant workload exercise”, The Physiological Society,Physiological Reports, 2022年1月,e15169
Y.Katsumata et.al., “Laminar flow ventilation system to preventairborne infection during exercise in the COVID-19 crisis: A single-centerobservational study”, PLOS ONE, 2021年11月10日,16(11),e0257549
Y.Seki et.al., “A novel device for detecting anaerobic thresholdusing sweat lactate during exercise”, Nature Portfolio Scientific Reports, 2021年3月2日,11(1),4929
【発明の概要】
【発明が解決しようとする課題】
【0007】
ここで、汗中の乳酸のほとんどが、血液中の乳酸が染み出て汗に溶け込んだものであれば、乳酸閾値において、血液中の乳酸値のみならず汗中の乳酸値も上昇し始めることになる。
【0008】
しかしながら、汗中の乳酸のうち、血液中の乳酸が染み出て汗に溶け込んだものは少ない。むしろ、汗中の乳酸は、発汗を司っている筋肉の運動により出る乳酸が大部分を占めているものと思われる。
【0009】
このため、乳酸閾値において、汗中の乳酸値が上昇し始めるというわけでもない。よって、汗中の乳酸値の測定結果に基づき、乳酸閾値を正確に導出することは難しい。
【0010】
そこで、本発明は、汗中の乳酸値の測定結果に基づき、乳酸閾値を正確に導出することを課題とする。
【課題を解決するための手段】
(【0011】以降は省略されています)
この特許をJ-PlatPat(特許庁公式サイト)で参照する
関連特許
個人
貼付剤
9日前
個人
短下肢装具
3か月前
個人
白内障治療法
7か月前
個人
嚥下鍛錬装置
4か月前
個人
洗井間専家。
7か月前
個人
前腕誘導装置
3か月前
個人
排尿補助器具
22日前
個人
バッグ式オムツ
4か月前
個人
胸骨圧迫補助具
2か月前
個人
アイマスク装置
2か月前
個人
歯の修復用材料
4か月前
個人
腰ベルト
12日前
個人
ホバーアイロン
7か月前
個人
矯正椅子
5か月前
個人
ウォート指圧法
20日前
個人
汚れ防止シート
1か月前
個人
湿布連続貼り機。
2か月前
個人
歯の保護用シール
5か月前
個人
シャンプー
6か月前
個人
車椅子持ち上げ器
7か月前
個人
哺乳瓶冷まし容器
3か月前
三生医薬株式会社
錠剤
7か月前
個人
陣痛緩和具
4か月前
個人
美容セット
今日
株式会社結心
手袋
8か月前
株式会社八光
剥離吸引管
5か月前
個人
服薬支援装置
7か月前
個人
治療用酸化防御装置
1か月前
個人
性行為補助具
3か月前
株式会社大野
骨壷
4か月前
株式会社コーセー
化粧料
19日前
個人
エア誘導コルセット
2か月前
株式会社ダリヤ
毛髪化粧料
1か月前
個人
高気圧環境装置
4か月前
株式会社ニデック
眼科装置
26日前
株式会社ニデック
検眼装置
3か月前
続きを見る
他の特許を見る