TOP
|
特許
|
意匠
|
商標
特許ウォッチ
Twitter
他の特許を見る
公開番号
2025166450
公報種別
公開特許公報(A)
公開日
2025-11-06
出願番号
2024070512
出願日
2024-04-24
発明の名称
防舷構造物、水域構造物及び交換方法
出願人
日鉄エンジニアリング株式会社
代理人
個人
,
個人
,
個人
,
個人
,
個人
,
個人
,
個人
,
個人
主分類
E02B
3/26 20060101AFI20251029BHJP(水工;基礎;土砂の移送)
要約
【課題】耐食性に優れた防舷構造物、水域構造物及び防舷構造物に設けられた防舷材の交換方法を提供することを目的とする。
【解決手段】船舶が接岸する防舷構造物1であって、ゴム製防舷材10と、ゴム製防舷材10が連結された第1合金部20と、を有し、第1合金部20のうち、ゴム製防舷材10と接触する部位は、Ni基合金製である、ことを特徴とする。
【選択図】図1
特許請求の範囲
【請求項1】
船舶が接岸する防舷構造物であって、
ゴム製防舷材と、
前記ゴム製防舷材が連結された第1合金部と、
を有し、
前記第1合金部のうち、前記ゴム製防舷材と接触する部位は、Ni基合金製である、
ことを特徴とする防舷構造物。
続きを表示(約 970 文字)
【請求項2】
前記第1合金部は、前記部位を含む第1プレート、及び、第2プレートを含み、
前記第1プレート、前記第2プレート、及び、前記ゴム製防舷材は、前記ゴム製防舷材、前記第1プレート、前記第2プレートの順に配置され、
前記第1プレートは、前記第2プレートに重なり、
前記第1プレート及び前記第2プレートは、前記Ni基合金製である、
ことを特徴とする請求項1に記載の防舷構造物。
【請求項3】
前記第1プレートは、第1ボルトにより、前記第2プレートに取り付けられ、
前記第1ボルトは、前記Ni基合金製である、
ことを特徴とする請求項2に記載の防舷構造物。
【請求項4】
前記第2プレートの側であって、前記ゴム製防舷材と反対の側は、ステンレス鋼製の第3プレートの一端が溶着により接合され、
前記溶着に用いられる合金は、Ni基合金を含む、
ことを特徴とする請求項3に記載の防舷構造物。
【請求項5】
前記第3プレートの他端は、ステンレスクラッド鋼製の部材に接続される、
ことを特徴とする請求項4に記載の防舷構造物。
【請求項6】
前記ゴム製防舷材と前記部位とは、第2ボルトで連結され、
前記第2ボルトは、前記Ni基合金製である、
ことを特徴とする請求項1乃至5のいずれか1項に記載の防舷構造物。
【請求項7】
請求項1乃至5のいずれか1項に記載の防舷構造物を備える、
ことを特徴とする水域構造物。
【請求項8】
請求項2乃至5のいずれか1項に記載の防舷構造物が有する前記ゴム製防舷材の交換方法であって、
前記ゴム製防舷材が取り付けられた前記第1プレートを、前記第2プレートから、取り外す取り外しステップと、
前記取り外しステップにて取り外された前記第1プレートに取り付けられた前記ゴム製防舷材を新たな前記ゴム製防舷材に交換する交換ステップと、
前記交換ステップにて前記ゴム製防舷材が新たな前記ゴム製防舷材に交換された前記第1プレートを前記第2プレートに取り付ける取り付けステップと、
を有することを特徴とする交換方法。
発明の詳細な説明
【技術分野】
【0001】
本開示は、防舷構造物、水域構造物及び交換方法に関する。
続きを表示(約 1,600 文字)
【背景技術】
【0002】
従来、水域構造物に防舷構造が設けられることがある。
特許文献1は、船舶の接舷時の衝撃を和らげるための緩衝部と、この緩衝部を岸壁等に取り付けるための岸壁固定部とを備え、この岸壁固定部は、鉄材料よりも高い防錆性を有する固定部材を含む、防舷材を開示する。
特許文献2は、水域鋼構造物に連結された耐摩耗性鋼材と、この耐摩耗性鋼材に連結されたゴム製防舷材と、を有し、この耐摩耗性鋼材がステンレス鋼になっている防舷構造を開示する。
【先行技術文献】
【特許文献】
【0003】
特開2016-20625号公報
特開2021-8780号公報
【発明の概要】
【発明が解決しようとする課題】
【0004】
しかしながら、特許文献1及び2では、耐食性について改善の余地があった。
【0005】
本開示は、前述した事情に鑑みてなされたものであって、耐食性に優れた防舷構造物、水域構造物及び防舷構造物に設けられた防舷材の交換方法を提供することを目的とする。
【課題を解決するための手段】
【0006】
本開示の一態様に係る防舷構造物は、船舶が接岸する防舷構造物であって、ゴム製防舷材と、前記ゴム製防舷材が連結された第1合金部と、を有し、前記第1合金部のうち、前記ゴム製防舷材と接触する部位は、Ni基合金製である、ことを特徴とする。
【発明の効果】
【0007】
本開示によれば、耐食性に優れた防舷構造物、水域構造物及び防舷構造物に設けられた防舷材の交換方法を提供することができる。
【図面の簡単な説明】
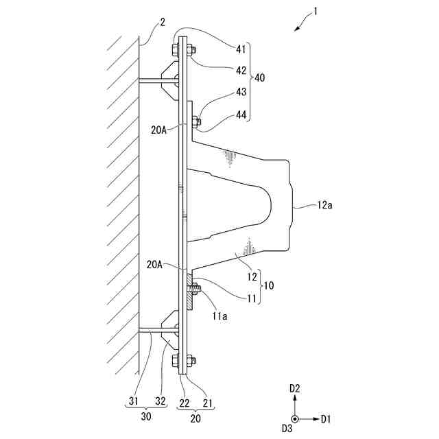
【0008】
実施形態に係る防舷構造物の平面図である。
実施形態に係る取り外しステップを示す模式図である。
実施形態に係る交換ステップを示す模式図である。
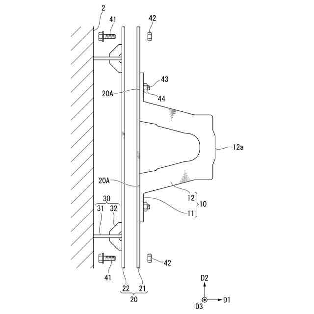
締結部がワッシャを更に含む変形例である。
【発明を実施するための形態】
【0009】
以下、図面を参照し、本開示の一実施形態に係る防舷構造物、及び、防舷構造物が有するゴム製防舷材の交換方法について説明する。
まず、本実施形態に係る防舷構造物について説明する。防舷構造物は、後述するように、水域構造物等に取り付けられる。このことで、船舶が水域構造物等に接岸する時、船舶は防舷構造物に接触する。このことで、防舷構造物は、船舶と、防舷構造物の取り付け対象である水域構造物等と、が直接に接触することを抑える。これにより、防舷構造物は、船舶、及び、防舷構造物の取り付け対象である水域構造物等が損傷することを抑える。
防舷構造物の取り付け対象は、例えば、岸壁である。あるいは、防舷構造物の取り付け対象は、桟橋等をはじめとする係留設備や、海底に打設されたモノパイル、海洋に設置されるジャケット構造体等であってもよい。以下、本実施形態において、上述のような防舷構造物の取り付け対象を、水域構造物という。
【0010】
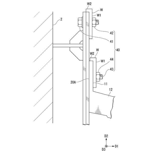
(防舷構造物の概要)
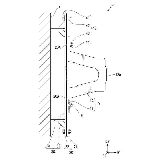
図1は、実施形態に係る防舷構造物1の平面図である。
以下、本実施形態の説明において方向を示す際、図1に示すように、後述する第1合金部20の板厚方向を第1方向D1、第1方向D1と直交する方向であって、図1に示す第1合金部20の板幅方向を第2方向D2、第1方向D1及び第2方向D2の両方に直交する方向をD3という。
図1に示すように、防舷構造物1は、水域構造物2に取り付けられる。防舷構造物1は、ゴム製防舷材10と、第1合金部20と、第3プレート30と、締結部40と、を有する。
(【0011】以降は省略されています)
この特許をJ-PlatPat(特許庁公式サイト)で参照する
関連特許
個人
バケット
1か月前
個人
建物の不同沈下の修正方法
1か月前
鹿島建設株式会社
接続方法
20日前
日本車輌製造株式会社
杭打機
今日
株式会社富田製作所
継手部構造
1か月前
株式会社大林組
操縦装置
1か月前
株式会社郷土開発
傾斜地の切土工法
19日前
ウエダ産業株式会社
アタッチメント
11日前
日立建機株式会社
建設機械
1か月前
エポコラム機工株式会社
地盤改良装置
4日前
日立建機株式会社
建設機械
6日前
日立建機株式会社
作業機械
1か月前
日本車輌製造株式会社
建設機械
4日前
株式会社クボタ
作業機
19日前
FKS株式会社
擁壁及び擁壁の築造方法
1か月前
日本車輌製造株式会社
杭打機の表示システム
1か月前
ナブテスコ株式会社
ドーザブレード駆動機構
1か月前
日本車輌製造株式会社
杭打機の制御システム
1か月前
株式会社大林組
評価支援装置及び評価支援方法
1か月前
日本車輌製造株式会社
建設機械の電源システム
1か月前
株式会社大林組
施工支援装置及び施工支援方法
1か月前
株式会社大林組
施工支援装置及び施工支援方法
1か月前
株式会社大林組
施工支援装置及び施工支援方法
1か月前
株式会社大林組
掘削支援装置及び掘削支援方法
13日前
セイコー機器株式会社
親綱支柱
今日
株式会社大林組
免震構造及び免震構造の施工方法
1か月前
個人
保護カバー及び保護カバーの取付方法
1か月前
エポコラム機工株式会社
地盤改良装置及び地盤改良工法
4日前
エポコラム機工株式会社
地盤改良装置及び地盤改良工法
4日前
コベルコ建機株式会社
建設機械
6日前
ヤンマーホールディングス株式会社
作業機械
19日前
コベルコ建機株式会社
建設機械
6日前
ジャパンパイル株式会社
基礎構造の設計方法及び基礎構造
6日前
ヤンマーホールディングス株式会社
作業機械
19日前
個人
真空バケット浚渫工法と真空バケット及び真空バケット浚渫船
1か月前
鹿島建設株式会社
基礎構造および構築方法
11日前
続きを見る
他の特許を見る