TOP
|
特許
|
意匠
|
商標
特許ウォッチ
Twitter
他の特許を見る
10個以上の画像は省略されています。
公開番号
2025168385
公報種別
公開特許公報(A)
公開日
2025-11-07
出願番号
2025137798,2023173705
出願日
2025-08-21,2023-10-05
発明の名称
閉鎖機構および上部工の構築方法
出願人
東亜建設工業株式会社
代理人
清流国際弁理士法人
主分類
E02B
3/06 20060101AFI20251030BHJP(水工;基礎;土砂の移送)
要約
【課題】水底地盤に立設された支持体に設置したプレキャストブロックの下方での作業を行わずに、効率的に水上の上部工を構築できる水上の上部工の構築方法を提供する。
【解決手段】閉塞枠体8を支持体40に対して上下方向に移動可能な状態で外嵌めして仮配置する。プレキャストブロック2の貫通孔3に支持体40を遊挿してプレキャストブロック2の底面を閉塞枠体8の上面に当接させた状態とし、プレキャストブロック2と閉塞枠体8を所定の設置高さまで下方移動させるとともに、当接維持手段9により閉塞枠体8の上面をプレキャストブロック2の底面に当接させた状態を維持する。支持体40の外周面と貫通孔3の内周面との間に中詰材20を充填して、プレキャストブロック2と固化された中詰材20とを一体化した上部工1を支持体40の上部に固定する。
【選択図】図4
特許請求の範囲
【請求項1】
上部工の構成部材であるプレキャストブロックの挿通孔に対して水底地盤に立設する支持体を挿入させ、前記支持体の外周面と前記挿通孔の内周面との間に中詰材を充填して固化させる際、前記支持体の外周面と前記挿通孔とのすき間を閉塞する閉塞機構であって、
前記支持体に外嵌めされて上下方向に移動可能であり、前記すき間と対向する面を有する閉塞枠体と、
前記プレキャストブロックが前記閉塞枠体に上方から当接して前記閉塞部材の押下がされる際、前記押下に抗する上向きの力を発生させ、前記上向きの力によって前記閉塞枠体を前記プレキャストブロックに当接維持させる当接維持手段とを有することを特徴とする閉塞機構。
続きを表示(約 970 文字)
【請求項2】
前記当接維持手段は、前記閉塞枠体よりも上方に位置する前記支持体の上部と前記閉塞枠体との間で接続されている弾性部材であり、
前記上向きの力は、前記押下によって前記弾性部材に生じる弾性力であることを特徴とする請求項1に記載の閉塞機構。
【請求項3】
前記当接維持手段は、前記閉塞枠体に設けた浮力体であり、
前記上向きの力は、前記押下によって前記浮力体の水面下に沈められた部分に生じる浮力であることを特徴とする請求項1に記載の閉塞機構。
【請求項4】
紐状又は索状の吊り部材を有し、
前記吊り部材は、予め前記閉塞枠体に一方が固定され、前記押下の後、緊張状態で他方が前記支持体、又は前記プレキャストブロックに固定されることを特徴とする請求項1乃至3のいずれかに記載の閉塞機構。
【請求項5】
前記閉塞枠体に前記支持体の外周面に当接するように環状に配置されるすき間埋め部材を有することを特徴とする請求項1乃至3のいずれかに記載の閉塞機構。
【請求項6】
前記閉塞枠体が前記支持体への外嵌めの際に生じる空隙を埋める介在部材を有することを特徴とする請求項1乃至3のいずれかに記載の閉塞機構。
【請求項7】
前記介在部材は、前記支持体の外周面との摩擦を低減する部材であることを特徴とする請求項6に記載の閉塞機構。
【請求項8】
上部工の構成部材であるプレキャストブロックの挿通孔に対して水底地盤に立設する支持体を挿入させる工程と、
前記支持体の外周面と前記挿通孔とのすき間を閉塞機構を用いて閉塞する工程と、
前記支持体の外周面と前記挿通孔の内周面との間に中詰材を充填して固化させる工程とを有し、
前記閉塞機構は、
前記支持体に外嵌めされて上下方向に移動可能であり、前記すき間と対向する面を有する閉塞枠体と、
前記プレキャストブロックが前記閉塞枠体に上方から当接して前記閉塞部材の押下がされる際、前記押下に抗する上向きの力を発生させ、前記上向きの力によって前記閉塞枠体を前記プレキャストブロックに当接維持させる当接維持手段とを有することを特徴とする上部工の構築方法。
発明の詳細な説明
【技術分野】
【0001】
本発明は、閉鎖機構および上部工の構築方法に関し、さらに詳しくは、水底地盤に立設された杭や矢板などの支持体に設置したプレキャストブロックの下方での作業を行わずに、効率的に水上の上部工を構築できる閉鎖機構および上部工の構築方法に関するものである。
続きを表示(約 2,700 文字)
【背景技術】
【0002】
水底地盤に立設された杭や矢板などの支持体に支持される桟橋や護岸等の水上の上部工を構築する方法としては、例えば、水上または水中において鉄筋を配筋した後に型枠を設置して、施工現場で型枠内に生コンクリートを打設して固化させる方法がある。このような上部工の構築方法では、水上または水中に仮設足場や支保工を設置し、鉄筋を組み立てた後に型枠などの設置やコンクリートの打ち込み等を行って構築する必要があり、水上での煩雑な作業も多いため、施工効率を向上させるには限界がある。
【0003】
そこで、水上構造物(上部工)の構築方法として、杭が挿通する杭孔を有するプレキャストコンクリート版を地上で形成しておき、プレキャストコンクリート版の杭孔に杭の頭部を遊挿した状態で杭に対してプレキャストコンクリート版を固定し、プレキャストコンクリート版の外回りに足場を取付ける構築方法が提案されている(例えば、特許文献1参照)。この構築方法では、プレキャストコンクリート版の杭孔と杭の外周面との間のすき間を、プレキャストコンクリート版の下方に設けた漏れ止め板で塞いだ状態にして、前述したすき間に無収縮モルタルを充填することで、プレキャストコンクリート版を杭の頭部に固定している。しかしながら、特許文献1で提案されている構築方法では、プレキャストコンクリート版の杭孔と杭の外周面との間のすき間を漏れ止め板で塞ぐ作業を、杭に設置したプレキャストコンクリート版の下方から行う必要があるため、水上足場を設置することや、潜水士などの作業者がプレキャストコンクリート版の下に入って煩雑な作業を行う必要がある。それ故、水上の上部工を構築する施工効率や作業者の安全性を向上させるには改善の余地がある。
【先行技術文献】
【特許文献】
【0004】
特開2021-107631号公報
【発明の概要】
【発明が解決しようとする課題】
【0005】
本発明の目的は、水底地盤に立設された杭や矢板などの支持体に設置したプレキャストブロックの下方での作業を行わずに、効率的に水上の上部工を構築できる閉鎖機構および上部工の構築方法を提供することにある。
【課題を解決するための手段】
【0006】
上記の目的を達成するための本発明の閉鎖機構は、上部工の構成部材であるプレキャストブロックの挿通孔に対して水底地盤に立設する支持体を挿入させ、前記支持体の外周面と前記挿通孔の内周面との間に中詰材を充填して固化させる際、前記支持体の外周面と前記挿通孔とのすき間を閉塞する閉塞機構であって、前記支持体に外嵌めされて上下方向に移動可能であり、前記すき間と対向する面を有する閉塞枠体と、前記プレキャストブロックが前記閉塞枠体に上方から当接して前記閉塞部材の押下がされる際、前記押下に抗する上向きの力を発生させ、前記上向きの力によって前記閉塞枠体を前記プレキャストブロックに当接維持させる当接維持手段とを有することを特徴とする。
本発明の上部工の構築方法は、上部工の構成部材であるプレキャストブロックの挿通孔に対して水底地盤に立設する支持体を挿入させる工程と、前記支持体の外周面と前記挿通孔とのすき間を閉塞機構を用いて閉塞する工程と、前記支持体の外周面と前記挿通孔の内周面との間に中詰材を充填して固化させる工程とを有し、前記閉塞機構は、前記支持体に外嵌めされて上下方向に移動可能であり、前記すき間と対向する面を有する閉塞枠体と、前記プレキャストブロックが前記閉塞枠体に上方から当接して前記閉塞部材の押下がされる際、前記押下に抗する上向きの力を発生させ、前記上向きの力によって前記閉塞枠体を前記プレキャストブロックに当接維持させる当接維持手段とを有することを特徴とする。
【発明の効果】
【0007】
本発明によれば、閉塞枠体を支持体に対して上下方向に移動可能な状態で外嵌めして仮配置し、貫通孔を有するプレキャストブロックを、支持体の上方から下方移動させて、貫通孔に支持体を遊挿してプレキャストブロックの底面を閉塞枠体の上面に当接させた状態にする。その状態からプレキャストブロックと閉塞枠体を所定の設置高さまで下方移動させるとともに、当接維持手段により閉塞枠体の上面をプレキャストブロックの底面に当接させた状態を維持することで、支持体に設置したプレキャストブロックの下方での作業を行わずに、閉塞枠体によって支持体の外周面とプレキャストブロックの貫通孔の下端との間のすき間を塞いだ状態にできる。その後、支持体の外周面とプレキャストブロックの貫通孔の内周面との間に中詰材を充填して固化させることで、支持体に設置したプレキャストブロックの下方での作業を行わずに、水上の上部工を効率的に構築することができる。
【図面の簡単な説明】
【0008】
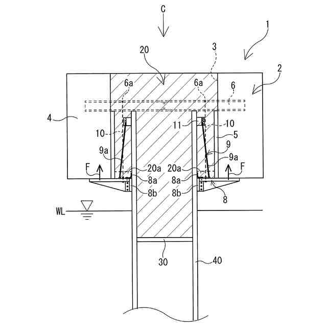
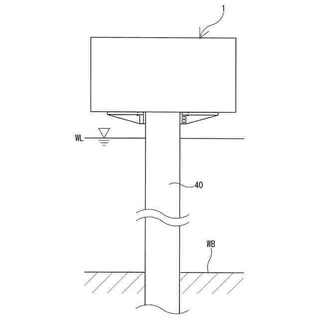
本発明の水上の上部工の構築方法で支持体の上部に構築した上部工を側面視で例示する説明図である。
支持体に仮配置した状態の当接維持手段として弾性部材を設けた閉塞枠体と、プレキャストブロックとをそれぞれ断面視で例示する説明図である。
図2のA矢視図である。
図2および図3の状態からプレキャストブロックを支持体に設置した状態を断面視で例示する説明図である。
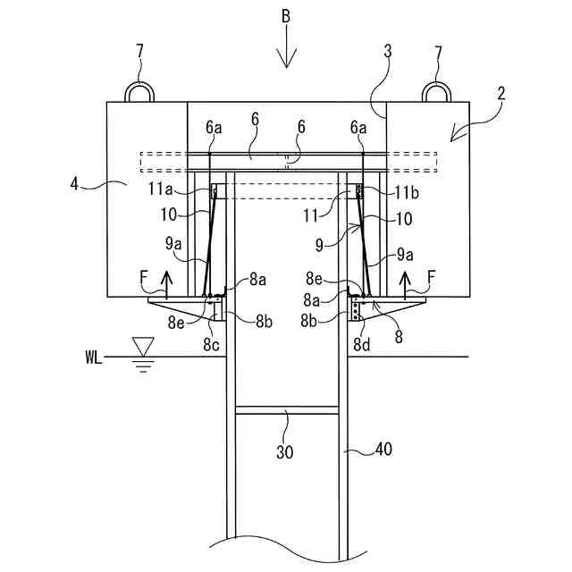
図4のB矢視図である。
図4および図5の状態から支持体の外周面とプレキャストブロックの貫通孔の内周面との間に中詰材を充填して固化させた状態を断面視で例示する説明図である。
図6のC矢視図である。
当接維持手段として浮力体を設けた閉塞枠体を水上に浮かべた状態で支持体に仮配置した状態を断面視で例示する説明図である。
図8の状態からプレキャストブロックを支持体に設置した状態を断面視で例示する説明図である。
【発明を実施するための形態】
【0009】
以下、本発明の閉鎖機構および上部工の構築方法を図に示した実施形態に基づいて説明する。
【0010】
図1に例示するように、本発明は、水底地盤WBに打設された杭や矢板などの支持体40の上部に固定される桟橋や護岸等の水上の上部工1を構築する方法である。支持体40としては、例えば、鋼管杭やコンクリート杭などの杭や、鋼管矢板などの矢板が例示できる。以下に説明する図1~図7に例示する実施形態では、支持体40が杭である場合を例示する。
(【0011】以降は省略されています)
この特許をJ-PlatPat(特許庁公式サイト)で参照する
関連特許
東亜建設工業株式会社
浮体式洋上風力発電施設の施工方法
13日前
東亜建設工業株式会社
浮体式洋上風力発電施設の施工方法
13日前
東亜建設工業株式会社
水中におけるモニタリング方法および水中モニタリングシステム
1か月前
東亜建設工業株式会社
閉鎖機構および上部工の構築方法
12日前
東亜建設工業株式会社
水中延在物の管理システム、発信機付き水中延在物、水中延在物管理用ソフトウェアおよび水中延在物の管理方法
今日
個人
バケット
20日前
個人
建物の不同沈下の修正方法
27日前
鹿島建設株式会社
接続方法
今日
株式会社富田製作所
継手部構造
20日前
千代田工営株式会社
回転貫入杭
1か月前
株式会社大林組
操縦装置
23日前
株式会社熊谷組
山留壁用親杭
1か月前
ヤンマーホールディングス株式会社
作業機械
1か月前
日立建機株式会社
作業機械
12日前
日立建機株式会社
作業機械
1か月前
ヤンマーホールディングス株式会社
作業機械
1か月前
日立建機株式会社
作業機械
1か月前
日立建機株式会社
作業機械
1か月前
日立建機株式会社
作業車両
1か月前
日本車輌製造株式会社
建設機械
1か月前
日立建機株式会社
建設機械
13日前
FKS株式会社
擁壁及び擁壁の築造方法
22日前
鹿島建設株式会社
接続方法および接続構造
1か月前
株式会社三誠
建物の免震構造
27日前
株式会社次世代一次産業実践所
登山道の施工装置
28日前
株式会社竹内製作所
作業用車両
1か月前
株式会社竹内製作所
作業用車両
1か月前
株式会社竹内製作所
作業用車両
1か月前
株式会社竹内製作所
作業用車両
1か月前
山形新興株式会社
建築物の基礎及び基礎成形型
1か月前
清水建設株式会社
遮水層の構築方法
1か月前
日本車輌製造株式会社
杭打機の表示システム
15日前
ナブテスコ株式会社
ドーザブレード駆動機構
12日前
個人
アンカーボルト支持装置
1か月前
コベルコ建機株式会社
施工システム
1か月前
日本車輌製造株式会社
杭打機の制御システム
26日前
続きを見る
他の特許を見る