TOP
|
特許
|
意匠
|
商標
特許ウォッチ
Twitter
他の特許を見る
10個以上の画像は省略されています。
公開番号
2025170782
公報種別
公開特許公報(A)
公開日
2025-11-19
出願番号
2025104970
出願日
2025-06-20
発明の名称
水中延在物の管理システム、発信機付き水中延在物、水中延在物管理用ソフトウェアおよび水中延在物の管理方法
出願人
東亜建設工業株式会社
代理人
清流国際弁理士法人
主分類
B63C
11/48 20060101AFI20251112BHJP(船舶またはその他の水上浮揚構造物;関連艤装品)
要約
【課題】水中延在物の延在状態をより精度よく把握して的確に管理できる管理システム、発信機付き水中延在物、管理用ソフトウェア及び管理方法を提供する。
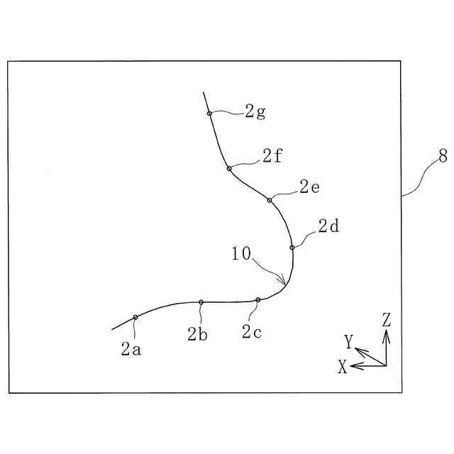
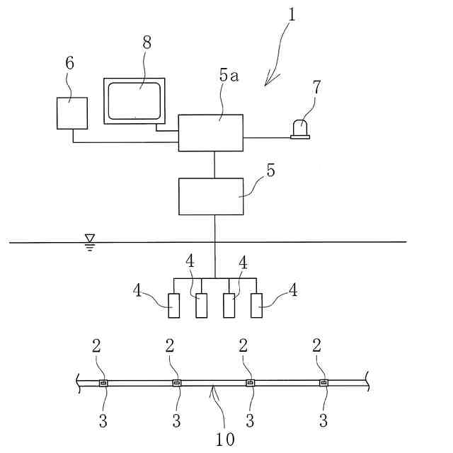
【解決手段】送気ホース10Aに間隔をあけて設置された複数の発信機2a~2gから発信される超音波Wを受信機4により受信し、それぞれの超音波Wの受信データをコンピュータ5に入力し、コンピュータ5がそれぞれの受信データに基づいて各発信機2の位置を算出し、算出した各発信機2の位置と、送気ホース10Aでの各発信機2の設置位置情報と、絶対位置測量機6により測量した受信機4の絶対位置情報と、に基づいて送気ホース10Aの絶対位置に基づく延在状態を検出し、検出した送気ホース10Aが警告領域Rに延在して異常状態であるとコンピュータ5が判断すると、警告灯7a、警報装置7bを作動させて潜水士H1や水上の管理者H2に異常を知らせる。
【選択図】図8
特許請求の範囲
【請求項1】
水中に延在する水中延在物に間隔をあけて設置される複数の発信機と、それぞれの前記発信機から発信される発信信号を受信する受信機と、前記受信機と通信可能に接続されたコンピュータと、を備えて、
前記コンピュータが、前記受信機が受信するそれぞれの前記発信信号の受信データに基づいてそれぞれの前記発信機の位置を算出し、
算出したそれぞれの前記発信機の位置と、前記水中延在物でのそれぞれの前記発信機の設置位置情報と、を用いて、前記水中延在物の延在状態を検出する水中延在物の管理システム。
続きを表示(約 920 文字)
【請求項2】
前記受信機の絶対位置を測量するための絶対位置測量機を有し、
前記絶対位置測量機により測量された前記受信機の絶対位置と、前記受信機を基準に算出されたそれぞれの前記発信機の位置と、それぞれの前記発信機の設置位置情報と、を用いて、
前記水中延在物の絶対位置における延在状態を検出する請求項1に記載の水中延在物の管理システム。
【請求項3】
前記発信機が前記発信信号を所定間隔で発信する構成である請求項1または2に記載の水中延在物の管理システム。
【請求項4】
前記発信機が内蔵するバッテリーによって作動する構成である請求項1または2に記載の水中延在物の管理システム。
【請求項5】
前記発信機が接続された給電線を通じて供給される電気によって作動する構成である請求項1または2に記載の水中延在物の管理システム。
【請求項6】
前記発信機が接続された通信線を通じて送信される命令信号により、前記発信信号の発信を開始および/または終了する構成である請求項1または2に記載の水中延在物の管理システム
【請求項7】
前記発信機の長さが100mm以下、幅および厚さがそれぞれ20mm以下である請求項1または2に記載の水中延在物の管理システム。
【請求項8】
それぞれの前記発信機がホルダを介して前記水中延在物の外周面に着脱自在に設置されている請求項1または2に記載の水中延在物の管理システム。
【請求項9】
前記コンピュータにより制御される警告装置を有し、
前記水中延在物の延在状態に対して正常状態と異常状態と設定しておき、
前記コンピュータが、算出された前記水中延在物の延在状態が異常状態と判断した場合に、前記コンピュータが前記警告装置を作動させる請求項1または2に記載の水中延在物の管理システム。
【請求項10】
前記警告装置が、警報装置、警告灯、警告表示装置、振動装置の少なくともいずれか1つである請求項9に水中延在物の管理システム。
(【請求項11】以降は省略されています)
発明の詳細な説明
【技術分野】
【0001】
本発明は、水中に延在する長尺体やシート体などの水中延在物を管理するための管理システム、発信機付き水中延在物、水中延在物管理用ソフトウェアおよび水中延在物の管理方法に関するものである。
続きを表示(約 1,600 文字)
【背景技術】
【0002】
潜水士の安全を確保するために、潜水士に空気を送る送気ホースの位置を管理する方法が提案されている(特許文献1参照)。この送気ホースは、潜水士船に設置されたポンプ装置に接続されていてポンプ装置から潜水士に空気を送る。特許文献1で提案されている方法では、GNSSユニットを用いて潜水士船の位置を把握し、潜水士に設置されたトランスポンダを用いて潜水士の位置を把握する。そして、潜水士船の位置と潜水士の位置とを結んだ直線状の線分が、送気ホースが存在している位置として把握される(段落0033)。
【0003】
しかしながら、送気ホースは潜水士船と潜水士との間で直線状に延在しているとは限らないので、この方法では送気ホースの状態を精度よく把握することができない。それ故、この方法では、送気ホースどうしが交差しているか否かを的確に判断できないリスクがある。
【先行技術文献】
【特許文献】
【0004】
特開2013-147220号公報
【発明の概要】
【発明が解決しようとする課題】
【0005】
上述した送気ホースに限らず、水中に延在するその他の種類のホース類や管体などの長尺体の延在状態を精度よく把握できれば、これら長尺体をより的確に管理することができる。水中に延在するシート体を的確に管理するにも同様にシート体の延在状態を精度よく把握できることが望ましい。それ故、水中延在物の延在状態をより精度よく把握して的確に管理するには改善の余地がある。
【0006】
そこで、本発明の目的は、水中に延在する長尺体やシート体などの水中延在物の延在状態をより精度よく把握して的確に管理できる水中延在物の管理システム、発信機付き水中延在物、水中延在物管理用ソフトウェアおよび水中延在物の管理方法を提供することにある。
【課題を解決するための手段】
【0007】
上記目的を達成するため本発明の水中延在物の管理システムは、水中に延在する水中延在物に間隔をあけて設置される複数の発信機と、それぞれの前記発信機から発信される発信信号を受信する受信機と、前記受信機と通信可能に接続されたコンピュータと、を備えて、前記コンピュータが、前記受信機が受信するそれぞれの前記発信信号の受信データに基づいてそれぞれの前記発信機の位置を算出し、算出したそれぞれの前記発信機の位置と、前記水中延在物でのそれぞれの前記発信機の設置位置情報と、を用いて、前記水中延在物の延在状態を検出することを特徴とする。
【0008】
本発明の発信機付き水中延在物は、上記の水中延在物の管理システムに用いられる発信機付き水中延在物であって、複数の前記発信機が前記水中延在物に間隔をあけて設置されていることを特徴とする。
【0009】
本発明の水中延在物管理用ソフトウェアは、上記の水中延在物の管理システムに用いられる水中延在物管理用ソフトウェアであって、前記コンピュータにインストールされた状態で、前記コンピュータが、それぞれの前記受信データに基づいてそれぞれの前記発信機の位置を算出する、ことを可能にすることを特徴とする。
【0010】
本発明の水中延在物の管理方法は、水中に延在する水中延在物に間隔をあけて複数の発信機を設置し、それぞれの前記発信機から発信される発信信号を受信機により受信して、それぞれの前記発信信号の受信データをコンピュータに入力し、前記コンピュータがそれぞれの前記受信データに基づいてそれぞれの前記発信機の位置を算出し、算出したそれぞれの前記発信機の位置と、前記水中延在物でのそれぞれの前記発信機の設置位置情報と、に基づいて、前記水中延在物の延在状態を検出することを特徴とする。
【発明の効果】
(【0011】以降は省略されています)
この特許をJ-PlatPat(特許庁公式サイト)で参照する
関連特許
東亜建設工業株式会社
浮体式洋上風力発電施設の施工方法
15日前
東亜建設工業株式会社
浮体式洋上風力発電施設の施工方法
15日前
東亜建設工業株式会社
水中におけるモニタリング方法および水中モニタリングシステム
1か月前
東亜建設工業株式会社
閉鎖機構および上部工の構築方法
14日前
東亜建設工業株式会社
水中延在物の管理システム、発信機付き水中延在物、水中延在物管理用ソフトウェアおよび水中延在物の管理方法
2日前
個人
水上遊具
5か月前
個人
川下り用船
11か月前
個人
洋上研究所
4か月前
個人
補助機構
8か月前
個人
津波防災ウエア
3か月前
個人
船用横揺防止具
9か月前
個人
コンパクトシティ船
8か月前
個人
渦流動力推進構造
8か月前
個人
セールのバテンガイド装置
4か月前
石田造船株式会社
内航船
14日前
炎重工株式会社
浮標
10か月前
個人
水質浄化・集熱昇温システム
5か月前
炎重工株式会社
浮標
10か月前
住友重機械工業株式会社
船舶
5か月前
株式会社フルトン
水中捕捉装置
8か月前
個人
船舶
10か月前
個人
スクリュープロペラ
8か月前
株式会社ラフティ
サーフボード
4か月前
ペアリ株式会社
海の環境改善装置
25日前
個人
回転式による流体流出防止タンカー
8か月前
オーケー工業株式会社
係留フック
9か月前
朝日電装株式会社
船外機用照明装置
3か月前
スズキ株式会社
船外機
6か月前
ヤマハ発動機株式会社
船外機
10か月前
株式会社アカデミー出版
船舶
4か月前
スズキ株式会社
船外機
6か月前
スズキ株式会社
船外機
8か月前
スズキ株式会社
船外機
8か月前
常石造船株式会社
メタノール燃料船
11か月前
炎重工株式会社
自律航行浮遊体
10か月前
ナブテスコ株式会社
主機制御システム
1か月前
続きを見る
他の特許を見る