TOP
|
特許
|
意匠
|
商標
特許ウォッチ
Twitter
他の特許を見る
10個以上の画像は省略されています。
公開番号
2025169780
公報種別
公開特許公報(A)
公開日
2025-11-14
出願番号
2024074892
出願日
2024-05-02
発明の名称
取付具、壁面パネルの交換方法及び壁面パネルの取付方法
出願人
株式会社エンバイン
代理人
個人
,
個人
,
個人
主分類
E02D
17/18 20060101AFI20251107BHJP(水工;基礎;土砂の移送)
要約
【課題】軽量盛土の正面に既設の支柱が配置された盛土構造における壁面パネルを容易に取り付けできる取付具と取付具を用いた壁面パネルの取付方法を提供する。
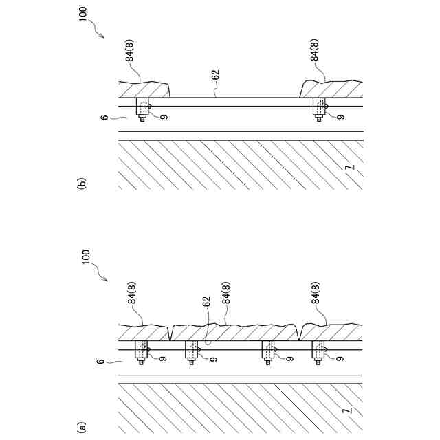
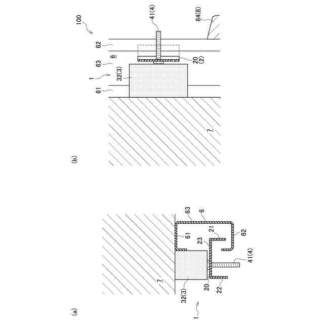
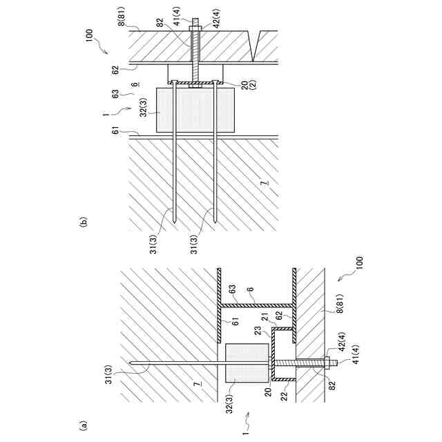
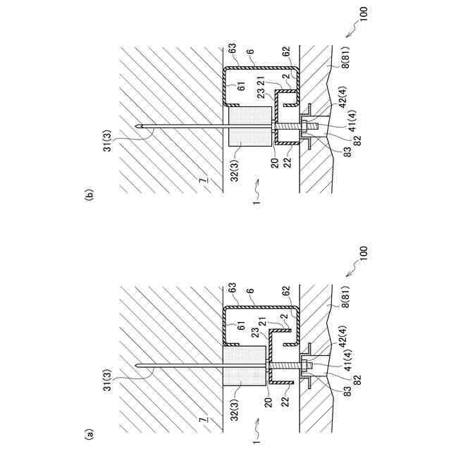
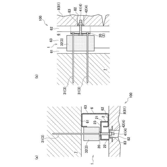
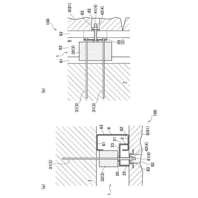
【解決手段】実施形態における取付具1は、軽量盛土7が背面側に設けられる第1フランジ61と、第1フランジ61から正面側に離間される第2フランジ62と、第1フランジ61と第2フランジ62とを繋ぐウェブ63と、を有する既設の支柱6の第2フランジ62に壁面パネル81を取り付けるための取付具1であって、第2フランジ62から側方にはみ出して配置されるはみ出し部20を有する接触板部2と、軽量盛土7に接触板部2を保持するための保持部3と、はみ出し部20に設けられるとともに接触板部2と壁面パネル81とにより第2フランジ62を挟んで固定するためのボルト接合部4と、を備える。
【選択図】図3
特許請求の範囲
【請求項1】
軽量盛土が背面側に設けられる第1フランジと、前記第1フランジから正面側に離間される第2フランジと、前記第1フランジと前記第2フランジとを繋ぐウェブと、を有する既設の支柱の前記第2フランジに壁面パネルを取り付けるための取付具であって、
前記第2フランジから側方にはみ出して配置されるはみ出し部を有する接触板部と、
前記軽量盛土に前記接触板部を保持するための保持部と、
前記はみ出し部に設けられるとともに前記接触板部と前記壁面パネルとにより前記第2フランジを挟んで固定するためのボルト接合部と、を備えること
を特徴とする取付具。
続きを表示(約 820 文字)
【請求項2】
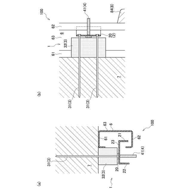
前記保持部は、前記軽量盛土に打ち込むための打ち込み部材を有すること
を特徴とする請求項1記載の取付具。
【請求項3】
前記保持部は、前記打ち込み部材が貫通される空間保持補助材を更に有すること
を特徴とする請求項2記載の取付具。
【請求項4】
前記ボルト接合部は、ボルトと、前記ボルトに螺着されるナットと、を有し、
前記ボルトは、前記ボルトの頭部と反対側の軸部の先端部が正面側に配置されること
を特徴とする請求項1記載の取付具。
【請求項5】
請求項1記載の取付具を用いて、前記軽量盛土の正面に配置される既設の前記支柱に取り付けられた壁面パネルを交換する壁面パネルの交換方法であって、
既設の前記支柱に取り付けられた既設の壁面パネルを撤去して前記支柱の前記第2フランジを露出する撤去工程と、
前記はみ出し部が前記第2フランジの側方からはみ出して配置されるように、前記軽量盛土に前記接触板部を前記保持部により保持する保持工程と、
前記はみ出し部に設けられる前記ボルト接合部を介して前記接触板部と新たな壁面パネルとにより前記第2フランジを挟んで固定する固定工程と、を備えること
を特徴とする壁面パネルの交換方法。
【請求項6】
請求項1記載の取付具を用いて、前記軽量盛土の正面に配置される既設の前記支柱に前記壁面パネルを取り付ける壁面パネルの取付方法であって、
前記はみ出し部が前記第2フランジの側方からはみ出して配置されるように、前記軽量盛土に前記接触板部を前記保持部により保持する保持工程と、
前記はみ出し部に設けられる前記ボルト接合部を介して前記接触板部と新たな壁面パネルとにより前記第2フランジを挟んで固定する固定工程と、を備えること
を特徴とする壁面パネルの取付方法。
発明の詳細な説明
【技術分野】
【0001】
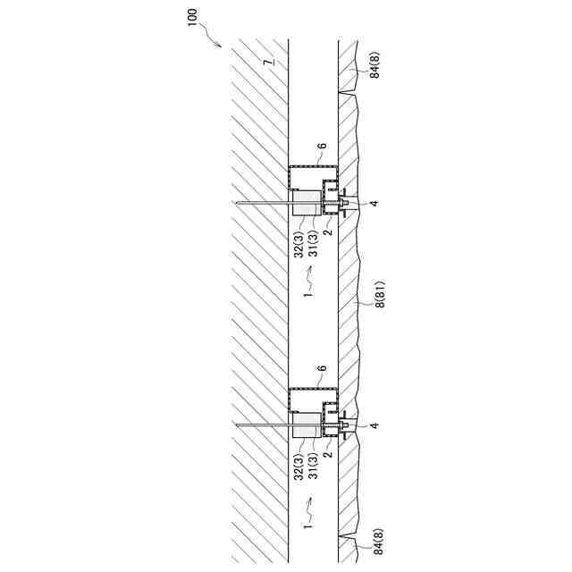
この発明は、軽量盛土が背面側に設けられる第1フランジと、前記第1フランジから正面側に離間される第2フランジと、前記第1フランジと前記第2フランジとを繋ぐウェブと、を有する既設の支柱の前記第2フランジに壁面パネルを取り付けるための取付具及び壁面パネルの交換方法に関する。
続きを表示(約 1,800 文字)
【背景技術】
【0002】
従来、発泡樹脂ブロックを保護する壁面パネルが設けられる盛土構造に関する技術として、特許文献1、2が開示される。
【0003】
特許文献1の盛土用の面状材付き発泡樹脂ブロックは、盛土用の面状材付き発泡樹脂ブロックであって、発泡樹脂ブロックと面状材の外形サイズを、盛土用の面状材付き発泡樹脂ブロックを積み重ねた状態で、少なくとも上下の面状材間に発泡樹脂ブロックの圧縮クリープ変形を許容する隙間が形成されるサイズに設定し、固定部とアンカー部とを有する固定具を、固定部を取付面の上部2箇所と下部1箇所の少なくとも3箇所にそれぞれ位置付けて発泡樹脂ブロックに設け、固定具の固定部に面状材を止め具で固定して、発泡樹脂ブロックの取付面に面状材を取り付けた。
【0004】
特許文献2の軽量盛土構造体は、樹脂発泡体ブロックを一側面がほぼ垂直面となるように多段に積み上げて軽量盛土とした軽量盛土構造体において、段積みされる樹脂発泡体ブロックの積層面間に係止部材の後端係止部を固定する。壁面材の裏面には受け部材を横方向に移動自在に取り付け、係止部材の前端係止部を受け部材の縦溝内に摺動自在に挿入係止する。
【先行技術文献】
【特許文献】
【0005】
特開2006-169764号公報
特開2004-162507号公報
【発明の概要】
【発明が解決しようとする課題】
【0006】
近年、軽量盛土を構成するEPSブロックを保護する壁面パネルにおいて、盛土の上部に設けられる路面からの水の侵入や融雪剤の影響、経年劣化、損傷等によりEPSブロック本体の保護材としての機能の低下が確認されるようになった。EPSブロックの前面に支柱を介して取り付けられる従来の支柱設置方式での壁面パネルの交換措置は、一部の壁面パネルを修繕するために、壁面の天端まで大きく撤去して修復せざるを得なかった。やむを得ずに損傷箇所のみの修繕で対応する場合、壁面パネルを背面の支柱に直にビス留めすることで部分交換対応する場合もあるが、支柱とビスとの締結力や長期耐久性において、撤去前の取付金具と同等の締結力そして長期耐久性を確保することが難しかった。また、ビス留めの場合、固定先の埋設プレートの板厚が薄く十分なタップ量が確保出来ないケースや斜めに打ち込まれてビスが破損する懸念やビスによる切削箇所への打ち直しが困難といった問題があった。
【0007】
特許文献1の開示技術は、発泡樹脂ブロックに埋め込まれる固定具の固定部に面状材をスクリュービスからなる止め具により固定具の金属板面に削孔固定させる。面状材を固定部から外すにはネジ切り固定部(削孔部)を強引に逆転切削させて抜き取ることになり、同位置へのスクリュービスによる削孔固定が出来なくなる。従って面状材の取り付けを容易に行うことが難しい。
【0008】
特許文献2の開示技術は、壁面材を横方向に移動自在な受け部材と、支柱となる縦溝と、により壁面材を発泡樹脂ブロックに取り付ける。このため、特許文献2の開示技術では、壁面材を受け部材に横方向に移動させて取り外すことから、発泡樹脂ブロックから壁面材を単体で取り外すことが難しく、壁面材の取り付けを容易に行うことが難しい。
【0009】
そこで本発明は、上述した問題に鑑みて案出されたものであり、その目的とするところは、軽量盛土の正面に既設の支柱が配置された盛土構造における壁面パネルを容易に取り付けできる取付具、壁面パネルの交換方法及び壁面パネルの取付方法を提供することにある。
【課題を解決するための手段】
【0010】
本発明に係る取付具は、軽量盛土が背面側に設けられる第1フランジと、前記第1フランジから正面側に離間される第2フランジと、前記第1フランジと前記第2フランジとを繋ぐウェブと、を有する既設の支柱の前記第2フランジに壁面パネルを取り付けるための取付具であって、前記第2フランジから側方にはみ出して配置されるはみ出し部を有する接触板部と、前記軽量盛土に前記接触板部を保持するための保持部と、前記はみ出し部に設けられるとともに前記接触板部と前記壁面パネルとにより前記第2フランジを挟んで固定するためのボルト接合部と、を備えることを特徴とする。
(【0011】以降は省略されています)
この特許をJ-PlatPat(特許庁公式サイト)で参照する
関連特許
株式会社エンバイン
取付具、壁面パネルの交換方法及び壁面パネルの取付方法
5日前
個人
バケット
20日前
個人
建物の不同沈下の修正方法
27日前
鹿島建設株式会社
接続方法
今日
株式会社大林組
操縦装置
23日前
千代田工営株式会社
回転貫入杭
1か月前
株式会社富田製作所
継手部構造
20日前
株式会社熊谷組
山留壁用親杭
1か月前
ヤンマーホールディングス株式会社
作業機械
1か月前
日立建機株式会社
建設機械
13日前
日立建機株式会社
作業機械
1か月前
日立建機株式会社
作業機械
1か月前
日立建機株式会社
作業機械
1か月前
日立建機株式会社
建設機械
1か月前
ヤンマーホールディングス株式会社
作業機械
1か月前
日立建機株式会社
建設機械
1か月前
日立建機株式会社
作業車両
1か月前
日立建機株式会社
作業機械
12日前
日立建機株式会社
作業機械
1か月前
日本車輌製造株式会社
建設機械
1か月前
日立建機株式会社
作業機械
1か月前
FKS株式会社
擁壁及び擁壁の築造方法
22日前
株式会社三誠
建物の免震構造
27日前
鹿島建設株式会社
接続方法および接続構造
1か月前
株式会社次世代一次産業実践所
登山道の施工装置
28日前
株式会社竹内製作所
作業用車両
1か月前
株式会社竹内製作所
作業用車両
1か月前
株式会社竹内製作所
作業用車両
1か月前
株式会社竹内製作所
作業用車両
1か月前
山形新興株式会社
建築物の基礎及び基礎成形型
1か月前
清水建設株式会社
遮水層の構築方法
1か月前
日本車輌製造株式会社
杭打機の表示システム
15日前
コベルコ建機株式会社
施工システム
1か月前
清水建設株式会社
免震装置の基礎構造
1か月前
日本車輌製造株式会社
杭打機の制御システム
26日前
個人
アンカーボルト支持装置
1か月前
続きを見る
他の特許を見る