TOP
|
特許
|
意匠
|
商標
特許ウォッチ
Twitter
他の特許を見る
10個以上の画像は省略されています。
公開番号
2025164541
公報種別
公開特許公報(A)
公開日
2025-10-30
出願番号
2024068574
出願日
2024-04-19
発明の名称
土留め構造物、鋼-コンクリート構造物、鋼製セグメント、構造物の施工方法、構造物の維持管理方法、構造物のパラメータ測定方法及び構造物のモニタリング方法
出願人
JFEスチール株式会社
,
JFE建材株式会社
代理人
アインゼル・フェリックス=ラインハルト
,
個人
,
個人
主分類
E02D
17/08 20060101AFI20251023BHJP(水工;基礎;土砂の移送)
要約
【課題】基礎構造物等の地中で用いられる鋼-コンクリート構造物を対象として、施工後における長期的な機能の維持管理が可能となる土留め構造物を提供する。
【解決手段】地中で用いられる構造物(1)を構築する際に使用される土留め構造物(10)であって、構造物の施工後における長期的な機能の維持管理に必要なパラメータを測定する測定装置(71,82,91)を備える。
【選択図】図1
特許請求の範囲
【請求項1】
地中で用いられる構造物を構築する際に使用される土留め構造物であって、
前記構造物の施工後における長期的な機能の維持管理に必要なパラメータを測定する測定装置を備えることを特徴とする土留め構造物。
続きを表示(約 1,100 文字)
【請求項2】
前記パラメータは、前記構造物の軸方向のひずみ、充填される中詰部の腐食、前記構造物の鉛直度、前記構造物を構成する部材の目開き量、材料腐食量、各部材ごとの荷重分担率の少なくとも一つであることを特徴とする請求項1に記載の土留め構造物。
【請求項3】
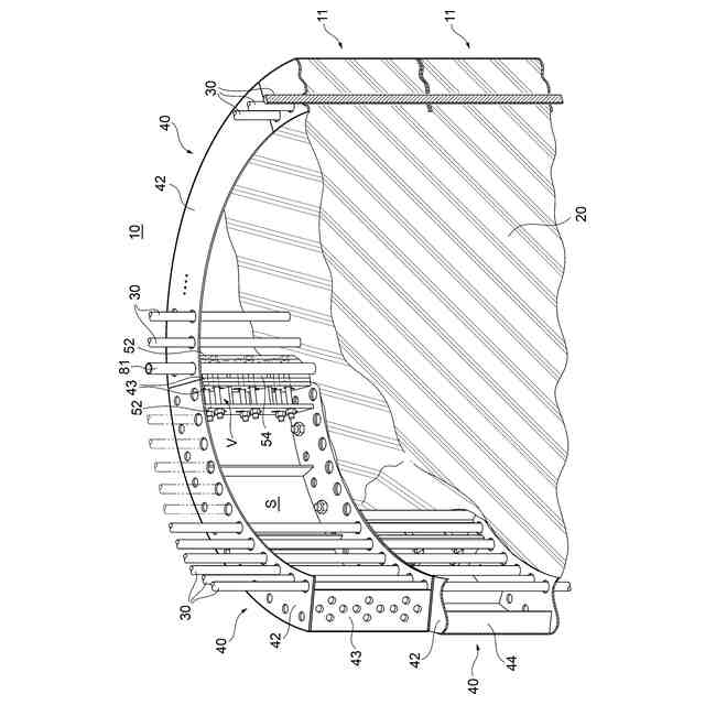
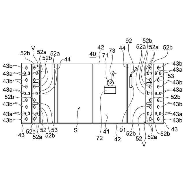
前記土留め構造物は、複数の鋼製セグメントを長手方向に連結した環状のリング体を前記鋼製セグメントの短手方向に複数連結したセグメント構造体であり、前記セグメント構造体の内側に設けられた中詰部と一体化されており、
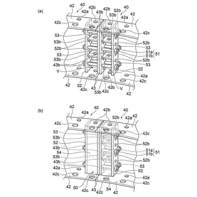
前記鋼製セグメントは、長手方向両端部において短手方向に沿って設けられ、隣接する鋼製セグメントに連結される継手部と、前記継手部間において短手方向に沿って設けられたリブと、を有し、
前記測定装置は、前記継手部又は前記リブに設けられ、当該継手部又はリブのひずみを計測するひずみ計測部であることを特徴とする請求項1又は2に記載の土留め構造物。
【請求項4】
前記ひずみ計測部は、複数設けられており、
前記ひずみ計測部は、前記リング体の延在方向に沿って等間隔に配置されていることを特徴とする請求項3に記載の土留め構造物。
【請求項5】
少なくとも一対の前記ひずみ計測部は、前記リング体における中心を挟んで対向する前記鋼製セグメントに設けられていることを特徴とする請求項4に記載の土留め構造物。
【請求項6】
前記ひずみ計測部は、前記セグメント構造体の上端と下端に位置するリング体の少なくとも一方における前記鋼製セグメントに設けられていることを特徴とする請求項3に記載の土留め構造物。
【請求項7】
前記鋼製セグメントは、前記セグメント構造体の壁面を形成するプレートを有し、
前記プレートの内壁面には、前記中詰部の腐食を検知する腐食検知部が設けられていることを特徴とする請求項3に記載の土留め構造物。
【請求項8】
前記腐食検知部は、前記リング体の径方向に沿って複数設けられていることを特徴とする請求項7に記載の土留め構造物。
【請求項9】
前記腐食検知部は、複数のリング体に設けられていることを特徴とする請求項7に記載の土留め構造物。
【請求項10】
前記鋼製セグメントは、前記セグメント構造体の壁面を形成するプレートと、前記プレートの短手方向両端部に立設された主桁と、を有し、
前記主桁には、前記セグメント構造体の鉛直度を計測する傾斜計を挿入する管材が前記セグメント構造体の軸線方向に沿って設けられていることを特徴とする請求項3に記載の土留め構造物。
(【請求項11】以降は省略されています)
発明の詳細な説明
【技術分野】
【0001】
本発明は、土留め構造物、鋼-コンクリート構造物、鋼製セグメント、構造物の施工方法、構造物の維持管理方法、構造物のパラメータ測定方法及び構造物のモニタリング方法に関する。
続きを表示(約 1,500 文字)
【背景技術】
【0002】
土留め部材の一つとして、例えば鋼製セグメントがあり、複数の鋼製のセグメントを用いて立坑等の土留め構造物を構築するセグメントの圧入工法が知られている。この工法においては、セグメントを圧入地点で周方向に連結して、リング体を組み立てて、圧入装置によってリング体を地中に圧入する。リング体の圧入後、リング体の内側を掘削して排土し、その上にリング体を増設するといった作業工程を所定の深度まで繰り返し、立坑等の土留め構造物を地中に構築するものである(例えば、特許文献1参照)。
上記工法により構築された構造物は、基礎構造物等の鋼-コンクリート構造物を構築するための地下空間を創り出す土留め構造物や基礎構造物等の鋼-コンクリート構造物の一部とすることができる。基礎構造物は、リング体により構成された構造物の内側に必要に応じた鉄筋を設置し、コンクリートを打設することにより構築される。
【先行技術文献】
【特許文献】
【0003】
特開2017-214722号公報
【発明の概要】
【発明が解決しようとする課題】
【0004】
ところで、基礎構造物等の地中で用いられる鋼-コンクリート構造物は、その上方に構築される橋脚等の基礎にされるなど、施工後にも長期的な機能の維持を求められることが多く、定期的に構造物の状態を確認することが求められる。
しかし、基礎構造物等の地中で用いられる鋼-コンクリート構造物は、上部構造物や周辺地盤により、直接点検が難しく、施工後において長期的な機能の維持管理が困難である。
【0005】
そこで本発明は、上記課題に鑑みてなされたものであり、基礎構造物等の地中で用いられる鋼-コンクリート構造物を対象として、施工後における長期的な機能の維持管理が可能となる土留め構造物を提供することを目的とする。
【課題を解決するための手段】
【0006】
本発明に係る一態様は、地中で用いられる構造物を構築する際に使用される土留め構造物であって、前記構造物の施工後における長期的な機能の維持管理に必要なパラメータを測定する測定装置を備えることを特徴とする。
【0007】
また、上記態様において、前記パラメータは、前記構造物の軸方向のひずみ、充填される中詰部の腐食、前記構造物の鉛直度、前記構造物を構成する部材の目開き量、材料腐食量、各部材ごとの荷重分担率の少なくとも一つであることが好ましい。
【0008】
また、上記態様において、前記土留め構造物は、複数の鋼製セグメントを長手方向に連結した環状のリング体を前記鋼製セグメントの短手方向に複数連結したセグメント構造体であり、前記セグメント構造体の内側に設けられた中詰部と一体化されており、前記鋼製セグメントは、長手方向両端部において短手方向に沿って設けられ、隣接する鋼製セグメントに連結される継手部と、前記継手部間において短手方向に沿って設けられたリブと、を有し、前記測定装置は、前記継手部又は前記リブに設けられ、当該継手部又はリブのひずみを計測するひずみ計測部であることが好ましい。
【0009】
また、上記態様において、前記ひずみ計測部は、複数設けられており、前記ひずみ計測部は、前記リング体の延在方向に沿って等間隔に配置されていることが好ましい。
【0010】
また、上記態様において、少なくとも一対の前記ひずみ計測部は、前記リング体における中心を挟んで対向する前記鋼製セグメントに設けられていることが好ましい。
(【0011】以降は省略されています)
この特許をJ-PlatPat(特許庁公式サイト)で参照する
関連特許
JFEスチール株式会社
遅れ破壊試験方法
17日前
JFEスチール株式会社
残留投射材の除去装置
6日前
JFEスチール株式会社
鋼板およびその製造方法
6日前
JFEスチール株式会社
プレス成形品の製造方法
13日前
JFEスチール株式会社
方向性電磁鋼板の製造方法
25日前
JFEスチール株式会社
方向性電磁鋼板の製造方法
25日前
JFEスチール株式会社
アルミキルド鋼の製造方法
20日前
JFEスチール株式会社
方向性電磁鋼板の製造方法
24日前
JFEスチール株式会社
厚さ計測方法及び厚さ計測装置
20日前
JFEスチール株式会社
鋼板、その製造方法およびスラブ
20日前
JFEスチール株式会社
冷間圧延方法および冷間圧延装置
24日前
JFEスチール株式会社
情報処理装置、および情報処理方法
12日前
JFEスチール株式会社
集塵機及び、ろ布の損傷状態認定方法
6日前
JFEスチール株式会社
回収装置、回収システム、及び回収方法
17日前
JFEスチール株式会社
構造物の損傷検出装置及び損傷検出方法
10日前
JFEスチール株式会社
表面粗度測定装置および表面粗度測定方法
11日前
JFEスチール株式会社
有価元素の回収方法および金属の製造方法
20日前
JFEスチール株式会社
検査方法、検査装置、及び部材の補修方法
25日前
JFEスチール株式会社
空調システムおよび運転室の空気調整方法
25日前
JFEスチール株式会社
未利用熱回収設備および未利用熱回収方法
25日前
JFEスチール株式会社
エアテーブル型密度分離装置及び分離方法
10日前
JFEスチール株式会社
金属帯の加工設備、および、金属帯の加工方法
10日前
JFEスチール株式会社
粒度判定装置、粒度判定方法及び造粒物の製造方法
11日前
JFEスチール株式会社
連続処理ラインにおける鋼帯通板装置及び鋼帯通板方法
24日前
JFEスチール株式会社
演算装置、物理演算装置、演算方法、及び演算プログラム
19日前
JFEスチール株式会社
黒鉛の精製方法
17日前
JFEスチール株式会社
圧延素材決定装置、圧延素材決定方法および板材製品の製造方法
13日前
JFEスチール株式会社
き裂解析方法、プログラム、材料設計支援方法及び材料設計方法
7日前
JFEスチール株式会社
コークスの製造方法
20日前
JFEスチール株式会社
原子モデル生成方法、プログラム、材料設計支援方法及び材料設計方法
7日前
JFEスチール株式会社
打撃試験装置、打撃試験方法、異常検知装置、および耐火物の厚み計測方法
5日前
JFEスチール株式会社
打撃試験装置、打撃試験方法、異常検知装置、および耐火物の厚み計測方法
5日前
JFEスチール株式会社
金属板の反り測定方法、反り制御方法、製造方法、反り測定装置、及びプログラム
20日前
JFEスチール株式会社
物理演算システム、物理演算方法、物理演算プログラム、サーバ、及びユーザ端末
25日前
JFEスチール株式会社
亜鉛の除去方法及び亜鉛の除去装置
4日前
JFEスチール株式会社
情報検索方法および情報検索システム
17日前
続きを見る
他の特許を見る