TOP
|
特許
|
意匠
|
商標
特許ウォッチ
Twitter
他の特許を見る
10個以上の画像は省略されています。
公開番号
2025172049
公報種別
公開特許公報(A)
公開日
2025-11-20
出願番号
2025078968
出願日
2025-05-09
発明の名称
製造条件決定方法、達成確率推定方法、達成確率推定モデル作成方法、製造条件決定装置及びプログラム
出願人
JFEスチール株式会社
代理人
個人
,
個人
,
個人
主分類
G06Q
50/04 20120101AFI20251113BHJP(計算;計数)
要約
【課題】目標の材料特性値を達成するために、実現可能な信頼度の高い製造条件の決定を可能にする製造条件決定方法、達成確率推定方法、達成確率推定モデル作成方法、製造条件決定装置及びプログラムが提供される。
【解決手段】製造条件決定方法は、製造対象としての材料に関して、目標の材料特性値を達成する達成確率を推定する達成確率推定モデルを用いて、達成確率を推定する推定工程(S13)と、推定された達成確率に基づいて、材料の製造条件を決定する決定工程(S14)と、を含み、達成確率推定モデルは、材料の製造条件データと材料の特性値データを含む初期データ群に基づいて作成されたモデルである。
【選択図】図2
特許請求の範囲
【請求項1】
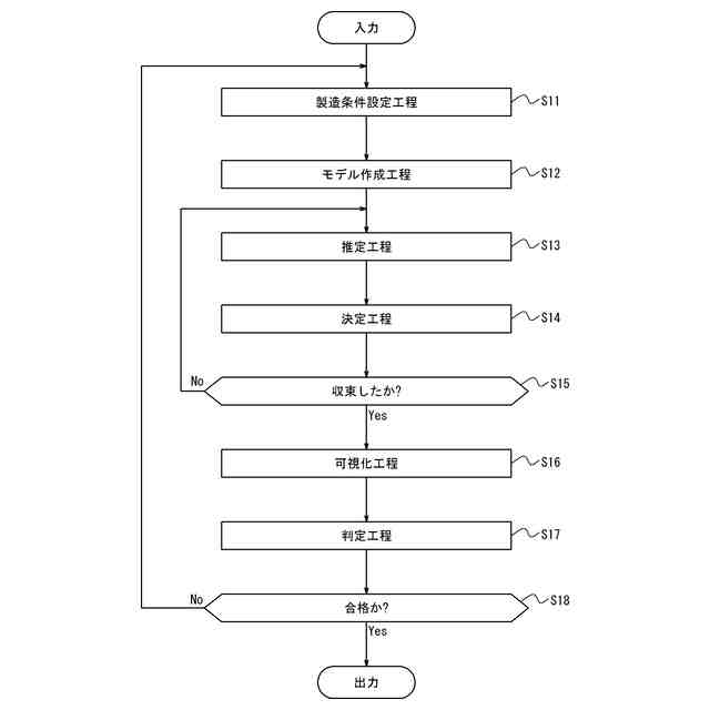
製造対象としての材料に関して、目標の材料特性値を達成する達成確率を推定する達成確率推定モデルを用いて、前記達成確率を推定する推定工程と、
推定された前記達成確率に基づいて、前記材料の製造条件を決定する決定工程と、を含み、
前記達成確率推定モデルは、前記材料の製造条件データと前記材料の特性値データを含む初期データ群に基づいて作成されたモデルである、製造条件決定方法。
続きを表示(約 1,000 文字)
【請求項2】
前記材料の製造条件データは、前記材料の製造条件の設定値及び前記材料の製造条件の揺らぎの統計情報を含む、請求項1に記載の製造条件決定方法。
【請求項3】
製造対象としての材料に関して、目標の材料特性値を達成する達成確率を推定する達成確率推定モデルを用いて、前記達成確率を推定する推定工程を含み、
前記達成確率推定モデルは、前記材料の製造条件データと前記材料の特性値データを含む初期データ群に基づいて作成されたモデルである、達成確率推定方法。
【請求項4】
製造対象としての材料に関して、前記材料の製造条件データと前記材料の特性値データを含む初期データ群に基づいて、目標の材料特性値を達成する達成確率を推定する達成確率推定モデルを作成するモデル作成工程を含む、達成確率推定モデル作成方法。
【請求項5】
前記目標の材料特性値の達成確率を可視化する可視化工程と、をさらに含む、請求項1又は2に記載の製造条件決定方法。
【請求項6】
前記材料の製造条件の変数を設定する製造条件設定工程と、
前記決定工程で決定された製造条件によって計算された、前記達成確率に基づき前記変数を変更するか否かを判定する判定工程と、をさらに含み、
前記判定工程において、前記目標の材料特性値の達成確率が基準値に満たない場合に、前記製造条件設定工程において、前記変数を変更する、請求項1又は2に記載の製造条件決定方法。
【請求項7】
製造対象としての材料に関して、目標の材料特性値を達成する達成確率を推定する達成確率推定モデルを用いて、前記達成確率を推定する推定部と、
推定された前記達成確率に基づいて、前記材料の製造条件を決定する決定部と、を備え、
前記達成確率推定モデルは、前記材料の製造条件データと前記材料の特性値データを含む初期データ群に基づいて作成されたモデルである、製造条件決定装置。
【請求項8】
製造条件決定装置に、
製造対象としての材料に関して、目標の材料特性値を達成する達成確率を推定する達成確率推定モデルを用いて、前記達成確率を推定することと、
推定された前記達成確率に基づいて、前記材料の製造条件を決定することと、を実行させ、
前記達成確率推定モデルは、前記材料の製造条件データと前記材料の特性値データを含む初期データ群に基づいて作成されたモデルである、プログラム。
発明の詳細な説明
【技術分野】
【0001】
本開示は、製造条件決定方法、達成確率推定方法、達成確率推定モデル作成方法、製造条件決定装置及びプログラムに関する。
続きを表示(約 1,800 文字)
【背景技術】
【0002】
材料の製造において、例えば金属材料の場合に、2以上の材料の特性値を同時に制御することが求められる。例えば鉄鋼材料の製造において、引張強度、降伏応力、延性、加工性、化成処理性及び溶接性などの特性値が目標範囲に収まることが求められる。しかしながら、例えば引張強度及び延性などの材料特性は、一方が増加すると、もう片方が低下するといった対立関係を有することがある。そのため、対立関係にある材料特性を同時に満足する製造条件を探索する場合に、多くの試行錯誤が必要となる。
【0003】
具体的に述べると、鉄鋼材料の特性は、C、Si、Mn、Mo、Cr、Ti、B、Nなどの含有量、熱処理過程における各温度条件などの多くの製造条件の影響を受ける。そのため、実験によって最適な製造条件を探索する場合に、網羅的な実験を行う必要が生じ、膨大なコストが必要となる。そこで、機械学習を用いて材料の特性値を予測し、効率的に製造条件を決定する技術が着目されている。
【0004】
特許文献1が提案する金属材料の製造仕様決定方法は、金属材料の製造中の所定工程後に確定した少なくとも1つ以上の実績データを取得するステップを含む。また、1つ以上の実績データと、製造仕様及び材料特性を結びつけた予測モデルとに基づき逆解析を行い、材料特性の推定値が所望の値に漸近するように所定工程後に係る製造仕様を製造中のフィードフォワード処理により最適化するステップが含まれる。
【0005】
特許文献2は、複数の組成からなる材料又は複数の製造条件の組合せにより製造される材料を含む設計対象材料を設計するための材料設計方法を提案する。具体的には、設計対象材料の設計条件と、材料特性値との対応関係を入出力するモデルの機械学習を行う学習ステップが含まれる。また、特定の設計対象材料について、学習ステップにて作成された特定の設計対象材料のための学習済みモデルを用いて、設計条件から材料特性値を又は材料特性値から設計条件を推定する推定ステップが含まれる。
【0006】
特許文献3が提案する方法は、判定対象の組成を取得するステップと、判定対象の組成に対して、熱力学計算を実行するステップと、を含む。また、所定の組成に対する熱力学計算の結果と、所定の組成により材料が製造可能であるかを示す製造可能性との対応関係に基づいて、判定対象の組成により材料が製造可能であるか否かを判定するステップが含まれる。
【先行技術文献】
【特許文献】
【0007】
特開2022-81474号公報
国際公開第2021/015134号
国際公開第2020/090805号
特開2003-328030号公報
特開2023-70334号公報
【発明の概要】
【発明が解決しようとする課題】
【0008】
材料の製造条件を決定する上で、その製造条件で製造した際の目標とする材料特性の達成確率が重要となる。しかし、特許文献1及び特許文献2に記載の方法において、目標とする材料特性の達成確率は考慮されていない。そのため、決定された材料の製造条件の信頼度が高いとは言えない。
【0009】
また、特許文献3に記載の材料探索装置は、熱力学計算に基づいて材料の製造条件での製造可否を判断できるが、やはり信頼度として十分でない。
【0010】
操業において製造条件の指示値(設定値)と測定値が必ずしも一致するとは限らない。例えば原料若しくは中間製品の特性のばらつき、加熱装置若しくは圧延装置の性能、制御センサーの測定誤差、環境条件、装置の摩耗又は老朽化の影響などが不一致の理由として考えられる。また、特にライン生産において、不一致の理由として前後のプロセスにおける相互関係が考えられる。例えば、赤外線加熱炉のような応答の遅い装置は、すぐに狙いの温度に変更することが難しく、直前の製品の製造条件の影響を受ける。複数の製品を連続して同じラインで製造する場合に、前製品の製造条件の影響を受けて、製品の切り替え後の歩留まりの低下があり得る。安定な操業のために、製造条件の指示値(設定値)と測定値のバイアス及び確率的な変動を考慮することが望ましい。
(【0011】以降は省略されています)
この特許をJ-PlatPat(特許庁公式サイト)で参照する
関連特許
個人
詐欺保険
1か月前
個人
縁伊達ポイン
1か月前
個人
職業自動販売機
9日前
個人
5掛けポイント
16日前
個人
RFタグシート
27日前
個人
ペルソナ認証方式
24日前
個人
QRコードの彩色
1か月前
個人
自動調理装置
26日前
個人
情報処理装置
19日前
個人
農作物用途分配システム
1か月前
個人
タッチパネル操作指代替具
1か月前
個人
インターネットの利用構造
23日前
個人
サービス情報提供システム
11日前
個人
携帯端末障害問合せシステム
1か月前
個人
スケジュール調整プログラム
1か月前
個人
エリアガイドナビAIシステム
24日前
トヨタ自動車株式会社
通知装置
1か月前
キヤノン株式会社
情報処理装置
3日前
キヤノン株式会社
画像認識装置
3日前
株式会社ワコム
電子ペン
18日前
キヤノン株式会社
印刷システム
1か月前
株式会社ケアコム
項目選択装置
19日前
株式会社ケアコム
項目選択装置
19日前
株式会社ワコム
電子ペン
18日前
エッグス株式会社
情報処理装置
1か月前
キヤノン株式会社
情報処理装置
17日前
キヤノン株式会社
情報処理装置
3日前
太陽誘電株式会社
表示装置
1か月前
大同大學
スーパーアプリ構築方法
3日前
トヨタ自動車株式会社
車両
1か月前
株式会社アジラ
行動推定システム
3日前
株式会社PIPS
2次元可視コード
1か月前
トヨタ自動車株式会社
作業計画装置
4日前
株式会社ゼロワン
ケア支援システム
16日前
TOTO株式会社
衛生評価システム
1か月前
株式会社フジシール
識別情報利用システム
9日前
続きを見る
他の特許を見る