TOP
|
特許
|
意匠
|
商標
特許ウォッチ
Twitter
他の特許を見る
公開番号
2025171727
公報種別
公開特許公報(A)
公開日
2025-11-20
出願番号
2024077358
出願日
2024-05-10
発明の名称
金物投入設備及び金物投入方法
出願人
JFEスチール株式会社
代理人
個人
,
個人
,
個人
,
個人
主分類
B22D
11/10 20060101AFI20251113BHJP(鋳造;粉末冶金)
要約
【課題】安全に且つ精度よく金物を投入することができる、金物投入設備及び金物投入方法を提供すること。
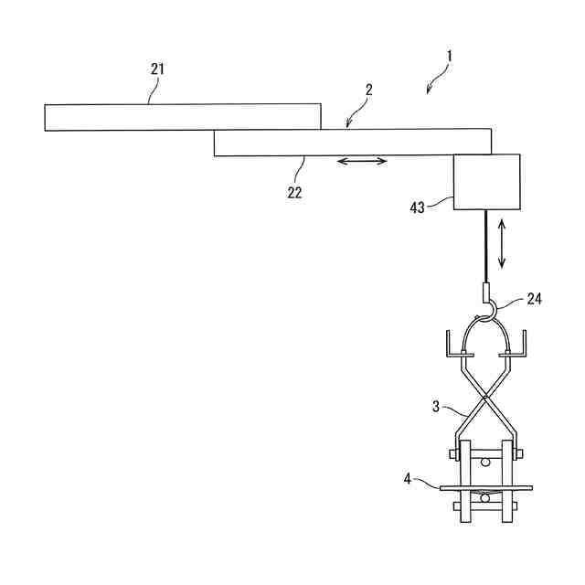
【解決手段】鋼の連続鋳造機の鋳型内に金物4を投入する金物投入設備1であって、金物4を保持する保持器3と、保持器3を移動させる移動装置2と、を備え、保持器3は、下端に金物4を保持する複数の保持部を有し、複数の保持部は、開閉可能に構成され、且つ保持器で金物4を吊り下げた状態から金物4が留置され、保持部と金物4との係合が外れることで、保持器の自重によって開くように構成される。
【選択図】 図1
特許請求の範囲
【請求項1】
鋼の連続鋳造機の鋳型内に金物を投入する金物投入設備であって、
前記金物を保持する保持器と、
前記保持器を移動させる移動装置と、
を備え、
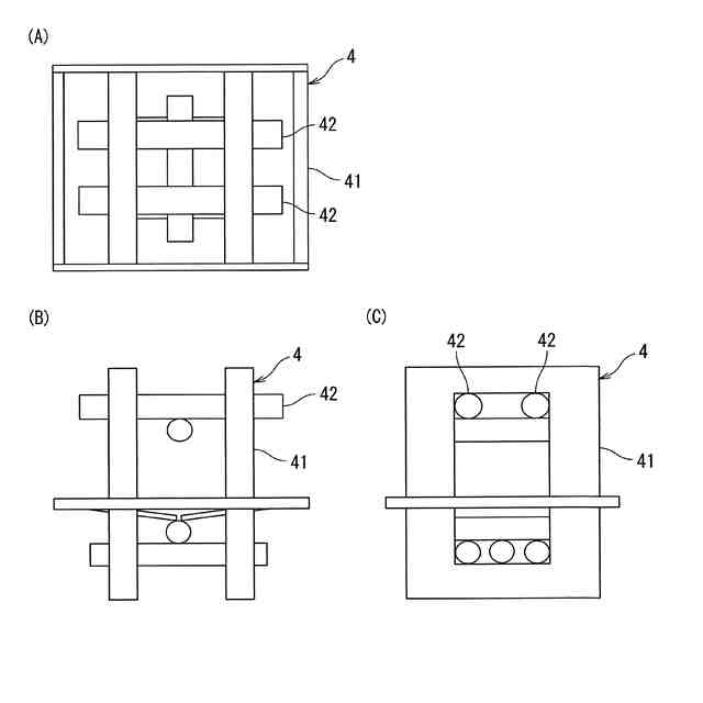
前記保持器は、下端に前記金物を保持する複数の保持部を有し、
前記複数の保持部は、開閉可能に構成され、且つ前記保持器で前記金物を吊り下げた状態から前記金物が留置され、前記保持部と前記金物との係合が外れることで、前記保持器の自重によって開くように構成される、金物投入設備。
続きを表示(約 620 文字)
【請求項2】
前記保持器は、X字状に交差し、交差する交点を中心に回転可能に設けられる2本のアームを有し、
前記保持部は、前記2本のアームの先端にそれぞれ設けられる、請求項1に記載の金物投入設備。
【請求項3】
前記移動装置は、
固定フレームと、
前記固定フレームで案内され、一方向に移動可能な可動フレームと、
前記可動フレームの先端部に設けられる吊具と、
を有し、
前記保持器は、前記吊具に吊り下げられる、請求項1又は2に記載の金物投入設備。
【請求項4】
前記移動装置は、前記可動フレームが遠隔で移動し、前記吊具が遠隔で昇降する、請求項3に記載の金物投入設備。
【請求項5】
前記金物は、前記鋳型の入り口から前記鋳型内に装入可能で、前記鋳型内のシェル上に留置可能なサイズである、請求項1又は2に記載の金物投入設備。
【請求項6】
前記連続鋳造機は、ビレット連続鋳造機又はブルーム連続鋳造機である、請求項1又は2に記載の金物投入設備。
【請求項7】
鋼の連続鋳造機の鋳型内に金物を投入する金物投入方法であって、
請求項1又は2に記載の金物投入設備を用い、
前記保持器で吊り下げた前記金物を前記鋳型内のシェルに留置し、前記保持器が自重によって開いた後に、前記保持器を上昇させる、金物投入方法。
発明の詳細な説明
【技術分野】
【0001】
本発明は、金物投入設備及び金物投入方法に関する。
続きを表示(約 1,200 文字)
【背景技術】
【0002】
鋼の連続鋳造法では、鋳造を中断せずに異なる鋼種のヒートを連続的に鋳造することが行われている。このような連続鋳造法における異鋼種接続では、先行鋳造鋼種と後続鋳造鋼種との混合範囲を小さくするために金物(ツナギ金物ともいう)が人力で鋳型内に投入されている(例えば、特許文献1,2)。また、人力ではなくフォークリフトを用いて、遠隔で金物を投入する方法も行われている(例えば、特許文献3,4)。
【先行技術文献】
【特許文献】
【0003】
特開2020-73291号公報
特開2020-62674号公報
特開2013-244531号公報
特開2015-98034号公報
【発明の概要】
【発明が解決しようとする課題】
【0004】
しかしながら、特許文献1,2の方法では、重労働かつ溶鋼が注入された鋳型近傍で作業をするため、安全性の懸念があった。
【0005】
また、フォークリフトは正面方向への調整は容易であるものの、横方向への調整が困難である。このため、特許文献3,4の方法では、鋳型サイズが小さい場合には投入に技量を要することから、作業者によっては投入精度が低くなるという問題があった。
【0006】
そこで、本発明は、上記の課題に着目してなされたものであり、安全に且つ精度よく金物を投入することができる、金物投入設備及び金物投入方法を提供することを目的としている。
【課題を解決するための手段】
【0007】
(1)本発明の一態様によれば、鋼の連続鋳造機の鋳型内に金物を投入する金物投入設備であって、上記金物を保持する保持器と、上記保持器を移動させる移動装置と、を備え、上記保持器は、下端に上記金物を保持する複数の保持部を有し、上記複数の保持部は、開閉可能に構成され、且つ上記保持器で上記金物を吊り下げた状態から上記金物が留置され、上記保持部と上記金物との係合が外れることで、上記保持器の自重によって開くように構成される、金物投入設備が提供される。
【0008】
(2)上記(1)に記載の金物投入設備であって、上記保持器は、X字状に交差し、交差する交点を中心に回転可能に設けられる2本のアームを有し、上記保持部は、上記2本のアームの先端にそれぞれ設けられる。
【0009】
(3)上記(1)又は(2)に記載の金物投入設備であって、上記移動装置は、固定フレームと、上記固定フレームで案内され、一方向に移動可能な可動フレームと、上記可動フレームの先端部に設けられる吊具と、を有し、上記保持器は、上記吊具に吊り下げられる。
【0010】
(4)上記(3)に記載の金物投入設備であって、上記移動装置は、上記可動フレームが遠隔で移動し、上記吊具が遠隔で昇降する。
(【0011】以降は省略されています)
この特許をJ-PlatPat(特許庁公式サイト)で参照する
関連特許
個人
鋼の連続鋳造用鋳型
2か月前
個人
ピストンの低圧鋳造金型
6か月前
芝浦機械株式会社
成形システム
1か月前
トヨタ自動車株式会社
押湯入子
3か月前
友鉄工業株式会社
錫プレート成形方法
2か月前
大阪硅曹株式会社
無機中子用水性塗型剤
3か月前
日本製鉄株式会社
モールドパウダー
1か月前
株式会社プロテリアル
合金粉末の製造方法
7か月前
トヨタ自動車株式会社
鋳バリ抑制方法
7か月前
株式会社キャステム
鋳造品の製造方法
7か月前
トヨタ自動車株式会社
中子の製造方法
3か月前
山石金属株式会社
ガスアトマイズ装置
3か月前
山石金属株式会社
ガスアトマイズ装置
3か月前
芝浦機械株式会社
射出装置及び成形機
3か月前
トヨタ自動車株式会社
中子の製造方法
4か月前
株式会社日本触媒
窒素被覆金属粒子の製造方法
4か月前
旭有機材株式会社
鋳型の製造方法
4か月前
山石金属株式会社
アルミニウム含有粒子
1か月前
トヨタ自動車株式会社
ケースの製造方法
5か月前
山石金属株式会社
アルミニウム含有粒子
1か月前
トヨタ自動車株式会社
突き折り棒
6か月前
トヨタ自動車株式会社
鋳物砂の再生方法
4か月前
芝浦機械株式会社
溶解保持炉
18日前
トヨタ自動車株式会社
金型冷却構造
6か月前
芝浦機械株式会社
局部変圧装置及び成形機
1か月前
JFEミネラル株式会社
Ni合金粉
1か月前
愛知製鋼株式会社
継ぎ目なし管の製造方法
2か月前
株式会社プロテリアル
金属付加製造物の製造方法
3か月前
株式会社豊田中央研究所
積層造形装置
5か月前
福田金属箔粉工業株式会社
Cu系粉末
5か月前
住友金属鉱山株式会社
金粉の製造方法
2か月前
日本製鉄株式会社
Al脱酸鋼の連続鋳造方法
7か月前
株式会社神戸製鋼所
炭素-銅含有粉末
6か月前
日立Astemo株式会社
成形装置
7か月前
ポーライト株式会社
焼結部品の製造方法
4か月前
日本製鉄株式会社
鋼の連続鋳造方法
3日前
続きを見る
他の特許を見る