TOP
|
特許
|
意匠
|
商標
特許ウォッチ
Twitter
他の特許を見る
公開番号
2025072152
公報種別
公開特許公報(A)
公開日
2025-05-09
出願番号
2023182714
出願日
2023-10-24
発明の名称
金型冷却構造
出願人
トヨタ自動車株式会社
代理人
個人
,
個人
主分類
B22C
9/06 20060101AFI20250430BHJP(鋳造;粉末冶金)
要約
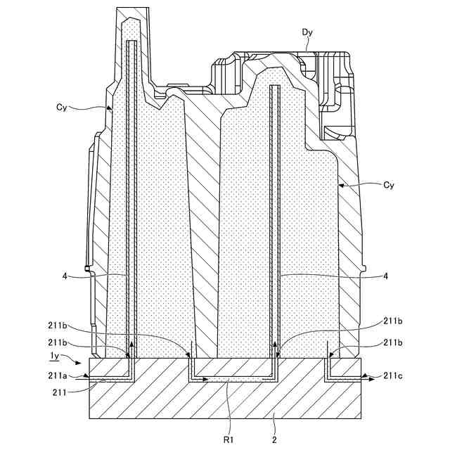
【課題】冷媒温度の過度な上昇を抑制可能な金型冷却構造を提供する。
【解決手段】金型冷却構造1は、金型Dの空洞部Cの開口を閉鎖する冷却板2と、冷却板2に固定されて金型Dの空洞部Cに挿入され、金型Dの空洞部Cの内壁との間に第1冷媒R1が循環する第1冷媒室RC1を形成する冷却ピース3と、を備える。冷却ピース3は、冷却ピース3を冷却する第2冷媒R2が循環する第2冷媒室RC2を有している。冷却板2は、第1冷媒R1を第1冷媒室RC1に循環させる第1冷媒流路211と、第2冷媒R2を第2冷媒室RC2に循環させる第2冷媒流路212と、を有している。
【選択図】図1
特許請求の範囲
【請求項1】
空洞部を有する金型を冷却する金型冷却構造であって、
前記金型の前記空洞部の開口を閉鎖する冷却板と、
前記冷却板に固定されて前記金型の前記空洞部に挿入され、前記金型の前記空洞部の内壁との間に第1冷媒が循環する第1冷媒室を形成する冷却ピースと、
を備え、
前記冷却ピースは、前記冷却ピースを冷却する第2冷媒が循環する第2冷媒室を有し、
前記冷却板は、前記第1冷媒を前記第1冷媒室に循環させる第1冷媒流路と、前記第2冷媒を前記第2冷媒室に循環させる第2冷媒流路と、を有する、
金型冷却構造。
発明の詳細な説明
【技術分野】
【0001】
本開示は、金型冷却構造に関する。
続きを表示(約 1,100 文字)
【背景技術】
【0002】
従来、金型内で流動する冷媒(例えば水)により金型のキャビティ面を冷却させるように構成された金型冷却構造が知られている(例えば、下記特許文献1)。特許文献1に記載された金型冷却構造は、複数の冷却穴部と、主冷媒路と、副冷媒路とを備える。
【0003】
上記複数の冷却穴部は、金型内で金型の基部からキャビティ面に向かって延在するとともに、第1の冷媒が流動する。上記主冷媒路は、複数の冷却穴部を直列に連結するとともに、第1の冷媒が流動する。副冷媒路は、上記主冷媒路の少なくとも一部に沿って延在するとともに、第1の冷媒と別の第2の冷媒が流動する。
【0004】
この従来の金型冷却構造では、上記第2の冷媒が上記第1の冷媒より低温であり、上記第2の冷媒により上記第1の冷媒の脱熱を行うようにしている。
【先行技術文献】
【特許文献】
【0005】
特開2017-029993号公報
【発明の概要】
【発明が解決しようとする課題】
【0006】
上記従来の金型の冷却構造は、上記複数の冷媒穴部を含む冷媒の回路が二次元的な構造であるため、上記第1の冷媒が流動する主冷媒路と上記第2の冷媒が流動する副冷媒路との間の脱熱可能面積が小さく、第1の冷媒の温度が十分に低下しないおそれがある。
【0007】
本開示は、冷媒温度の過度な上昇を抑制可能な金型冷却構造を提供する。
【課題を解決するための手段】
【0008】
本開示の一態様は、空洞部を有する金型を冷却する金型冷却構造であって、前記金型の前記空洞部の開口を閉鎖する冷却板と、前記冷却板に固定されて前記金型の前記空洞部に挿入され、前記金型の前記空洞部の内壁との間に第1冷媒が循環する第1冷媒室を形成する冷却ピースと、を備え、前記冷却ピースは、前記冷却ピースを冷却する第2冷媒が循環する第2冷媒室を有し、前記冷却板は、前記第1冷媒を前記第1冷媒室に循環させる第1冷媒流路と、前記第2冷媒を前記第2冷媒室に循環させる第2冷媒流路と、を有する、金型冷却構造を提供する。
【発明の効果】
【0009】
本開示の上記一態様によれば、冷媒温度の過度な上昇を抑制可能な金型冷却構造を提供することができる。
【図面の簡単な説明】
【0010】
本開示に係る金型冷却構造の実施形態を示す模式的な断面図である。
比較例1の金型冷却構造を示す模式的な断面図である。
比較例2の金型冷却構造を示す模式的な断面図である。
【発明を実施するための形態】
(【0011】以降は省略されています)
この特許をJ-PlatPat(特許庁公式サイト)で参照する
関連特許
トヨタ自動車株式会社
配管
1日前
トヨタ自動車株式会社
車両
14日前
トヨタ自動車株式会社
方法
14日前
トヨタ自動車株式会社
車体
14日前
トヨタ自動車株式会社
車両
15日前
トヨタ自動車株式会社
車両
14日前
トヨタ自動車株式会社
電池
6日前
トヨタ自動車株式会社
電池
15日前
トヨタ自動車株式会社
車両
1日前
トヨタ自動車株式会社
蓄電池
14日前
トヨタ自動車株式会社
ロータ
1日前
トヨタ自動車株式会社
モータ
13日前
トヨタ自動車株式会社
電動車
1日前
トヨタ自動車株式会社
制御装置
13日前
トヨタ自動車株式会社
制御装置
1日前
トヨタ自動車株式会社
鋳造装置
13日前
トヨタ自動車株式会社
制御装置
13日前
トヨタ自動車株式会社
推定装置
13日前
トヨタ自動車株式会社
路側装置
13日前
トヨタ自動車株式会社
電動車両
14日前
トヨタ自動車株式会社
蓄電セル
8日前
トヨタ自動車株式会社
樹脂外板
14日前
トヨタ自動車株式会社
路側装置
13日前
トヨタ自動車株式会社
路側装置
13日前
トヨタ自動車株式会社
電動車両
13日前
トヨタ自動車株式会社
制御装置
1日前
トヨタ自動車株式会社
製造設備
6日前
トヨタ自動車株式会社
濾過装置
15日前
トヨタ自動車株式会社
電動車両
13日前
トヨタ自動車株式会社
路側装置
13日前
トヨタ自動車株式会社
監視装置
6日前
トヨタ自動車株式会社
蓄電装置
13日前
トヨタ自動車株式会社
制御装置
1日前
トヨタ自動車株式会社
エンジン
1日前
トヨタ自動車株式会社
電池パック
14日前
トヨタ自動車株式会社
動力伝達装置
13日前
続きを見る
他の特許を見る