TOP
|
特許
|
意匠
|
商標
特許ウォッチ
Twitter
他の特許を見る
10個以上の画像は省略されています。
公開番号
2025165499
公報種別
公開特許公報(A)
公開日
2025-11-05
出願番号
2024069567
出願日
2024-04-23
発明の名称
樋門部の可撓矢板壁の構築方法
出願人
株式会社中大
,
西武ポリマ化成株式会社
代理人
個人
,
個人
主分類
E02D
5/08 20060101AFI20251028BHJP(水工;基礎;土砂の移送)
要約
【課題】現場での溶接や溶断を必要とせずに構築することができる樋門部の可撓矢板壁の構築方法を提供する。
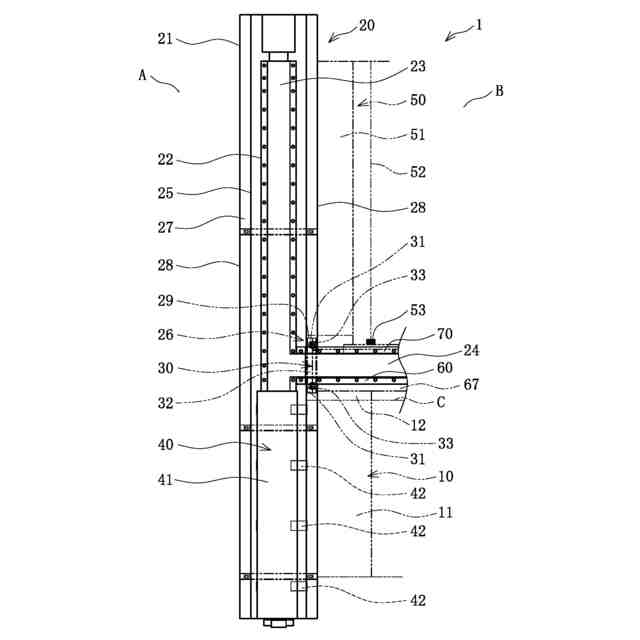
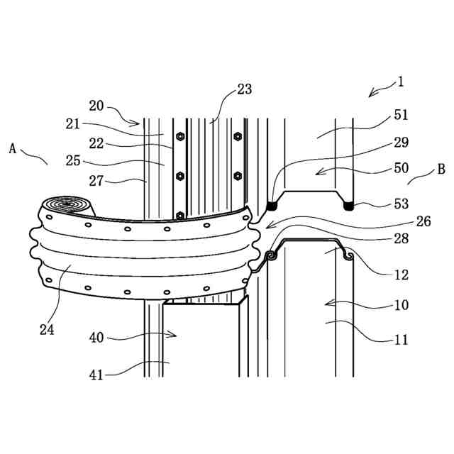
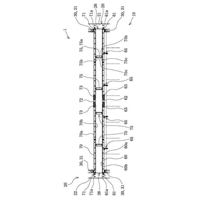
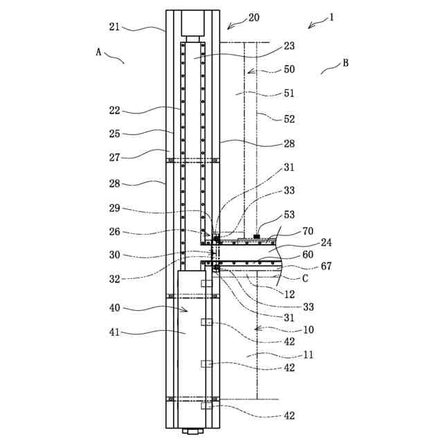
【解決手段】樋門部の可撓矢板壁の構築方法は、上下方向と左右方向に縦可撓継手23および横可撓継手24を設けた可撓矢板壁1を構築するに際し、左右方向の横可撓継手24を配置する下側に下側矢板壁10を打設する第1の工程と、上下方向の縦可撓継手23の中間部に左右方向の横可撓継手24が接続され巻かれた可撓矢板20を下側矢板壁10の両側に嵌合連結して打設する第2の工程と、左右方向の横可撓継手24の取付け幅をあけて上側矢板壁50を打設する第3の工程と、を備え、第3の工程では、上側鋼矢板51が嵌合連結される可撓矢板20の嵌合連結部28および隣接して嵌合連結される上側鋼矢板51の嵌合連結部52には、それぞれ連結される上側鋼矢板51の下端位置を位置決めする位置決め部29,53が形成されて打設されて構成される。
【選択図】図1
特許請求の範囲
【請求項1】
河川堤防を横断する樋門部に、上下方向と左右方向に可撓継手を設けた可撓矢板壁を構築するに際し、
左右方向の前記可撓継手を配置する下側に下側矢板壁を打設する第1の工程と、
上下方向の前記可撓継手の中間部に左右方向の前記可撓継手が接続され巻かれた可撓矢板を前記下側矢板壁の両側に嵌合連結して打設する第2の工程と、
左右方向の前記可撓継手の取付け幅をあけて上側矢板壁を打設する第3の工程と、を備え、
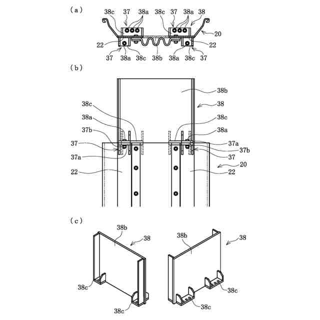
前記第2の工程では、前記可撓矢板の中間部の左右方向の前記可撓継手が接続された部分に締付け部材により着脱可能に設けられて打設時の剛性を確保し打設後に取り外される補強部材が設けられる、
ことを特徴とする樋門部の可撓矢板壁の構築方法。
続きを表示(約 1,400 文字)
【請求項2】
河川堤防を横断する樋門部に、上下方向と左右方向に可撓継手を設けた可撓矢板壁を構築するに際し、
左右方向の前記可撓継手を配置する下側に下側矢板壁を打設する第1の工程と、
上下方向の前記可撓継手の中間部に左右方向の前記可撓継手が接続され巻かれた可撓矢板を前記下側矢板壁の両側に嵌合連結して打設する第2の工程と、
左右方向の前記可撓継手の取付け幅をあけて上側矢板壁を打設する第3の工程と、を備え、
前記第3の工程では、上側矢板が嵌合連結される前記可撓矢板の嵌合連結部および隣接して嵌合連結される前記上側矢板の嵌合連結部には、それぞれ連結される前記上側矢板の下端位置を位置決めする位置決め部が形成されて打設される、
ことを特徴とする樋門部の可撓矢板壁の構築方法。
【請求項3】
河川堤防を横断する樋門部に、上下方向と左右方向に可撓継手を設けた可撓矢板壁を構築するに際し、
左右方向の前記可撓継手を配置する下側に下側矢板壁を打設する第1の工程と、
上下方向の前記可撓継手の中間部に左右方向の前記可撓継手が接続され巻かれた可撓矢板を前記下側矢板壁の両側に嵌合連結して打設する第2の工程と、
左右方向の前記可撓継手の取付け幅をあけて上側矢板壁を打設する第3の工程と、を備え、
前記第3の工程の後、前記下側矢板壁の上方に左右方向の前記可撓継手の下縁部を取り付ける下側取付け部材を、上下左右の位置を調整可能な位置調整部材を介して設けるとともに、中央連結部を締結部材により締め付ける挟み込み部材を介して連結して構築する第4の工程を備える、
ことを特徴とする樋門部の可撓矢板壁の構築方法。
【請求項4】
前記第4の工程の後、前記下側取付け部材の上方に、左右方向の前記可撓継手の上縁部を取り付ける上側取付け部材に、間隔保持部材を締結部材により着脱可能に設けるとともに、中央連結部を前記締結部材により締め付ける前記挟み込み部材を介して連結して構築する第5の工程を備える、
ことを特徴とする請求項3に記載の樋門部の可撓矢板壁の構築方法。
【請求項5】
前記下側取付け部材および前記上側取付け部材は、中央部に長さを調整した調整部材を介して連結して構築する、
ことを特徴とする請求項4に記載の樋門部の可撓矢板壁の構築方法。
【請求項6】
河川堤防を横断する樋門部に、上下方向と左右方向に可撓継手を設けた可撓矢板壁を構築するに際し、
左右方向の前記可撓継手を配置する下側に下側矢板壁を打設する第1の工程と、
上下方向の前記可撓継手の中間部に左右方向の前記可撓継手が接続され巻かれた可撓矢板を前記下側矢板壁の両側に嵌合連結して打設する第2の工程と、
左右方向の前記可撓継手の取付け幅をあけて上側矢板壁を打設する第3の工程と、を備え、
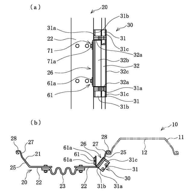
左右方向の前記可撓継手は、両側から巻き戻して互いの端縁部を中央部に向けて上側および下側の取付け部材に取り付けて行き、中央端縁部同士は薄肉成形部を形成して重ねて貼り合わせるとともに、締結部材により締め付ける挟み込み部材で取付け部材へ取り付けて構築する、
ことを特徴とする樋門部の可撓矢板壁の構築方法。
発明の詳細な説明
【技術分野】
【0001】
本発明は、樋門部の可撓矢板壁の構築方法に関する。
続きを表示(約 2,100 文字)
【背景技術】
【0002】
河川堤防を横断して取水・排水用の樋管や樋門などの樋門部を設置する場合には、樋門部の堤内側、堤外側などに鋼矢板を用いた遮水壁を設けることが行われる。鋼矢板遮水壁は、地盤変動などに追随できる様にするため鋼矢板に可撓継手を設けることで、堤防や樋門部の破損を防止している。
例えば、特許文献1に開示された鋼矢板の継手では、鋼矢板を縦方向に半割にした板状部の間に可撓継手の両縁部をそれぞれ取り付けた可撓矢板を樋門部の両側に打設し変位を吸収している。
【先行技術文献】
【特許文献】
【0003】
特開2005-256410号公報
【発明の概要】
【発明が解決しようとする課題】
【0004】
特許文献1に開示された可撓矢板では、水平方向の変位の吸収能力に比べて上下方向の変位の吸収能力が小さく、これを改善するためには、左右方向に可撓継手を設置する必要がある。
ところが、鋼矢板の中間部に左右方向の可撓継手を設置しようとすると、打設後の鋼矢板壁の途中に可撓継手の取付け幅の空間を形成する必要が生じ、溶断作業や、上側の矢板壁を保持する支持部材の溶接作業などが必要となる。このため資格を有した溶接・溶断に熟練した作業者が必要となるだけでなく、現場での準備や機材の運搬などの作業の増加などの問題がある。また、溶接や溶断作業にともないゴムなどの可撓継手の熱損傷の問題が生じる虞もある。
【0005】
本発明は、かかる従来技術の問題点に鑑みてなされたもので、現場での溶接や溶断を必要とせずに構築することができる樋門部の可撓矢板壁の構築方法を提供することを目的とする。
【課題を解決するための手段】
【0006】
上記課題を解決するための本発明の樋門部の可撓矢板壁の構築方法は、
河川堤防を横断する樋門部に、上下方向と左右方向に可撓継手を設けた可撓矢板壁を構築するに際し、
左右方向の前記可撓継手を配置する下側に下側矢板壁を打設する第1の工程と、
上下方向の前記可撓継手の中間部に左右方向の前記可撓継手が接続され巻かれた可撓矢板を前記下側矢板壁の両側に嵌合連結して打設する第2の工程と、
左右方向の前記可撓継手の取付け幅をあけて上側矢板壁を打設する第3の工程と、を備え、
第2の工程では、前記可撓矢板の中間部の左右方向の前記可撓継手が接続された部分に締付け部材により着脱可能に設けられて打設時の剛性を確保し打設後に取り外される補強部材が設けられる、
ことを特徴とする。
【0007】
本発明の樋門部の可撓矢板壁の構築方法は、
河川堤防を横断する樋門部に、上下方向と左右方向に可撓継手を設けた可撓矢板壁を構築するに際し、
左右方向の前記可撓継手を配置する下側に下側矢板壁を打設する第1の工程と、
上下方向の前記可撓継手の中間部に左右方向の前記可撓継手が接続され巻かれた可撓矢板を前記下側矢板壁の両側に嵌合連結して打設する第2の工程と、
左右方向の前記可撓継手の取付け幅をあけて上側矢板壁を打設する第3の工程と、を備え、
第3の工程では、上側矢板が嵌合連結される前記可撓矢板の嵌合連結部および隣接して嵌合連結される前記上側矢板の嵌合連結部には、それぞれ連結される前記上側矢板の下端位置を位置決めする位置決め部が形成されて打設される、
ことを特徴とする。
【0008】
本発明の樋門部の可撓矢板壁の構築方法は、
河川堤防を横断する樋門部に、上下方向と左右方向に可撓継手を設けた可撓矢板壁を構築するに際し、
左右方向の前記可撓継手を配置する下側に下側矢板壁を打設する第1の工程と、
上下方向の前記可撓継手の中間部に左右方向の前記可撓継手が接続され巻かれた可撓矢板を前記下側矢板壁の両側に嵌合連結して打設する第2の工程と、
左右方向の前記可撓継手の取付け幅をあけて上側矢板壁を打設する第3の工程と、を備え、
第3の工程の後、前記下側矢板壁の上方に左右方向の前記可撓継手の下縁部を取り付ける下側取付け部材を、上下左右の位置を調整可能な位置調整部材を介して設けるとともに、中央連結部を締結部材により締め付ける挟み込み部材を介して連結して構築する第4の工程を備える、
ことを特徴とする。
【0009】
第4の工程の後、前記下側取付け部材の上方に、左右方向の前記可撓継手の上縁部を取り付ける上側取付け部材に、間隔保持部材を締結部材により着脱可能に設けるとともに、中央連結部を前記締結部材により締め付ける前記挟み込み部材を介して連結して構築する第5の工程を備える、ことが好ましい。
【0010】
前記下側取付け部材および前記上側取付け部材は、中央部に長さを調整した調整部材を介して連結して構築する、ことが好ましい。
(【0011】以降は省略されています)
この特許をJ-PlatPat(特許庁公式サイト)で参照する
関連特許
株式会社中大
樋門部の可撓矢板壁の構築方法
1か月前
株式会社大林組
伸縮装置及び、伸縮装置の設置方法
11日前
個人
バケット
1か月前
個人
建物の不同沈下の修正方法
1か月前
鹿島建設株式会社
接続方法
19日前
株式会社富田製作所
継手部構造
1か月前
株式会社大林組
操縦装置
1か月前
ウエダ産業株式会社
アタッチメント
10日前
株式会社郷土開発
傾斜地の切土工法
18日前
エポコラム機工株式会社
地盤改良装置
3日前
株式会社クボタ
作業機
18日前
日本車輌製造株式会社
建設機械
3日前
日立建機株式会社
建設機械
1か月前
日立建機株式会社
作業機械
1か月前
日立建機株式会社
建設機械
5日前
FKS株式会社
擁壁及び擁壁の築造方法
1か月前
株式会社三誠
建物の免震構造
1か月前
株式会社次世代一次産業実践所
登山道の施工装置
1か月前
ナブテスコ株式会社
ドーザブレード駆動機構
1か月前
日本車輌製造株式会社
杭打機の制御システム
1か月前
日本車輌製造株式会社
杭打機の表示システム
1か月前
株式会社大林組
施工支援装置及び施工支援方法
1か月前
株式会社大林組
評価支援装置及び評価支援方法
1か月前
日本車輌製造株式会社
建設機械の電源システム
1か月前
株式会社大林組
施工支援装置及び施工支援方法
1か月前
株式会社大林組
施工支援装置及び施工支援方法
1か月前
株式会社大林組
掘削支援装置及び掘削支援方法
12日前
株式会社大林組
免震構造及び免震構造の施工方法
1か月前
個人
保護カバー及び保護カバーの取付方法
1か月前
エポコラム機工株式会社
地盤改良装置及び地盤改良工法
3日前
エポコラム機工株式会社
地盤改良装置及び地盤改良工法
3日前
コベルコ建機株式会社
建設機械
5日前
ジャパンパイル株式会社
基礎構造の設計方法及び基礎構造
5日前
ヤンマーホールディングス株式会社
作業機械
18日前
ヤンマーホールディングス株式会社
作業機械
18日前
コベルコ建機株式会社
建設機械
5日前
続きを見る
他の特許を見る