TOP
|
特許
|
意匠
|
商標
特許ウォッチ
Twitter
他の特許を見る
10個以上の画像は省略されています。
公開番号
2025167884
公報種別
公開特許公報(A)
公開日
2025-11-07
出願番号
2024072876
出願日
2024-04-26
発明の名称
作業機械
出願人
ヤンマーホールディングス株式会社
代理人
弁理士法人 佐野特許事務所
主分類
E02F
9/24 20060101AFI20251030BHJP(水工;基礎;土砂の移送)
要約
【課題】作業部の回動範囲を制限して、作業部が作業部とは別の部材に接触することを回避することができる作業機械を提供する。
【解決手段】作業機械としての電動ショベルは、電動モータと、電動モータによって回動される作業部と、作業部の回動を規制する規制部材と、を備える。
【選択図】図3
特許請求の範囲
【請求項1】
電動モータと、
前記電動モータによって回動される作業部と、
前記作業部の回動を規制する規制部材と、を備える、作業機械。
続きを表示(約 920 文字)
【請求項2】
前記規制部材は、
前記作業部の回動方向一方側の回動を規制する第1規制部材と、
前記作業部の回動方向他方側の回動を規制する第2規制部材と、を有する、請求項1に記載の作業機械。
【請求項3】
前記作業部は、
アームと、
前記アームに回動可能に連結されるアタッチメントと、を有し、
前記アタッチメントは、前記アームに連結される連結部を含み、
前記連結部は、前記アタッチメントが回動された場合に、前記規制部材に当たる、請求項2に記載の作業機械。
【請求項4】
前記アタッチメントは、
前記連結部に連結されるアタッチメント本体部と、
前記アタッチメント本体部と前記連結部とを連結する連結軸部と、を含み、
前記連結部は、前記アタッチメントが前記回動方向一方側に回動された場合に、前記第1規制部材に当たり、
前記連結軸部は、前記アタッチメントが前記回動方向他方側に回動された場合に、前記第2規制部材に当たる、請求項3に記載の作業機械。
【請求項5】
前記第2規制部材は、前記連結軸部が当たる凹部を含む、請求項4に記載の作業機械。
【請求項6】
前記規制部材は、前記作業部が当たる平面部を有する、請求項1に記載の作業機械。
【請求項7】
前記平面部は、弾性体で形成される、請求項6に記載の作業機械。
【請求項8】
前記作業部の回動角度を検知する第1センサと、
前記電動モータの回転を制御する制御装置と、を備え、
前記制御装置は、前記作業部が前記規制部材に当たる前において、前記作業部の回動角度が所定範囲外になった場合に、前記電動モータを停止させる、請求項1から7のいずれかに記載の作業機械。
【請求項9】
前記規制部材への前記作業部の接近を検知する第2センサを備え、
前記制御装置は、前記作業部が前記規制部材に当たる前において、前記第2センサの検知結果に基づいて前記電動モータを停止させる、請求項8に記載の作業機械。
発明の詳細な説明
【技術分野】
【0001】
本発明は、作業機械に関する。
続きを表示(約 1,200 文字)
【背景技術】
【0002】
作用部(作業部)としてのバケットと、バケットを回転駆動させる電動モータと、を備える建設機械が従来技術として知られている(例えば特許文献1参照)。
【先行技術文献】
【特許文献】
【0003】
特開2021-88834号公報
【発明の概要】
【発明が解決しようとする課題】
【0004】
ところで、電動モータ(具体的には電動モータの出力軸)は、無限回転可能である。このため、特許文献1の構成では、バケットが無限に回転駆動(回動)される。しかし、バケットが無限に回転駆動されると、例えば、バケットが建設機械内部のバケットとは別の部材に意図せず接触し、上記の部材が破損する虞がある。
【0005】
本発明は、上記の問題点を解決するためになされたものであり、その目的は、作業部の回動範囲を制限して、作業部が作業部とは別の部材に接触することを回避することができる作業機械を提供することにある。
【課題を解決するための手段】
【0006】
本発明の一側面に係る作業機械は、電動モータと、前記電動モータによって回動される作業部と、前記作業部の回動を規制する規制部材と、を備える。
【発明の効果】
【0007】
上記の構成によれば、作業部の回動範囲を制限して、作業部が作業部とは別の部材に接触することを回避することができる。
【図面の簡単な説明】
【0008】
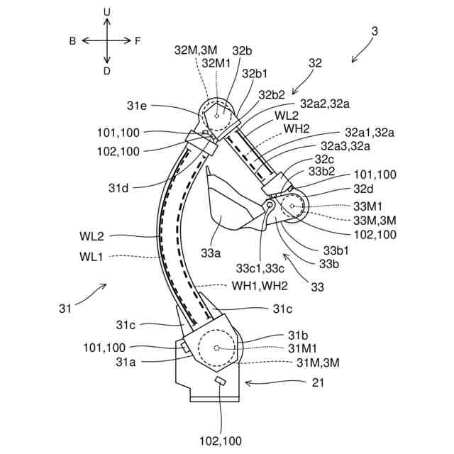
本発明の実施の一形態に係る作業機械の一例である電動ショベルの概略の構成を示す右側面図である。
上記電動ショベルの電気系の構成を模式的に示すブロック図である。
上記電動ショベルが備える作業部の構成を示す右側面図である。
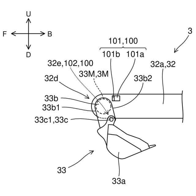
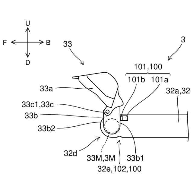
図3とは異なる姿勢での上記作業部の右側面図である。
上記作業部が当たる規制部材の構成を示す斜視図である。
上記作業部を回動させる電動モータの回転停止制御が実行されるときの流れを示すフローチャートである。
第1変形例における上記作業部の構成を示す左側面図である。
図7とは異なる姿勢での第1変形例における上記作業部の左側面図である。
第2変形例における上記作業部の構成を示す右側面図である。
【発明を実施するための形態】
【0009】
本発明の実施の形態について、図面に基づいて説明すれば、以下の通りである。
【0010】
〔1.作業機械の概略構成〕
図1は、本発明の実施の一形態に係る作業機械の一例である電動ショベル1の概略の構成を示す右側面図である。電動ショベル1は、機体2と、作業部3と、を備える。
(【0011】以降は省略されています)
この特許をJ-PlatPat(特許庁公式サイト)で参照する
関連特許
個人
バケット
1か月前
個人
建物の不同沈下の修正方法
1か月前
鹿島建設株式会社
接続方法
17日前
株式会社富田製作所
継手部構造
1か月前
株式会社大林組
操縦装置
1か月前
千代田工営株式会社
回転貫入杭
1か月前
株式会社郷土開発
傾斜地の切土工法
16日前
ウエダ産業株式会社
アタッチメント
8日前
株式会社クボタ
作業機
16日前
日立建機株式会社
建設機械
3日前
ヤンマーホールディングス株式会社
作業機械
1か月前
ヤンマーホールディングス株式会社
作業機械
1か月前
日立建機株式会社
作業機械
1か月前
日立建機株式会社
作業機械
29日前
日本車輌製造株式会社
建設機械
1日前
日立建機株式会社
建設機械
1か月前
エポコラム機工株式会社
地盤改良装置
1日前
FKS株式会社
擁壁及び擁壁の築造方法
1か月前
株式会社三誠
建物の免震構造
1か月前
株式会社次世代一次産業実践所
登山道の施工装置
1か月前
山形新興株式会社
建築物の基礎及び基礎成形型
1か月前
日本車輌製造株式会社
杭打機の表示システム
1か月前
ナブテスコ株式会社
ドーザブレード駆動機構
29日前
日本車輌製造株式会社
杭打機の制御システム
1か月前
個人
アンカーボルト支持装置
1か月前
株式会社大林組
評価支援装置及び評価支援方法
1か月前
株式会社大林組
施工支援装置及び施工支援方法
1か月前
株式会社大林組
施工支援装置及び施工支援方法
1か月前
株式会社大林組
掘削支援装置及び掘削支援方法
10日前
日本車輌製造株式会社
建設機械の電源システム
1か月前
株式会社大林組
施工支援装置及び施工支援方法
1か月前
株式会社大林組
免震構造及び免震構造の施工方法
1か月前
個人
保護カバー及び保護カバーの取付方法
1か月前
エポコラム機工株式会社
地盤改良装置及び地盤改良工法
1日前
エポコラム機工株式会社
地盤改良装置及び地盤改良工法
1日前
大成建設株式会社
推定方法
1か月前
続きを見る
他の特許を見る