TOP
|
特許
|
意匠
|
商標
特許ウォッチ
Twitter
他の特許を見る
公開番号
2025152247
公報種別
公開特許公報(A)
公開日
2025-10-09
出願番号
2024054057
出願日
2024-03-28
発明の名称
作業機械の暖房装置、および作業機械の暖房装置の制御方法
出願人
株式会社小松製作所
代理人
弁理士法人新樹グローバル・アイピー
主分類
E02F
9/16 20060101AFI20251002BHJP(水工;基礎;土砂の移送)
要約
【課題】暖房に用いる電力を低減することが可能な作業機械の暖房装置を提供すること。
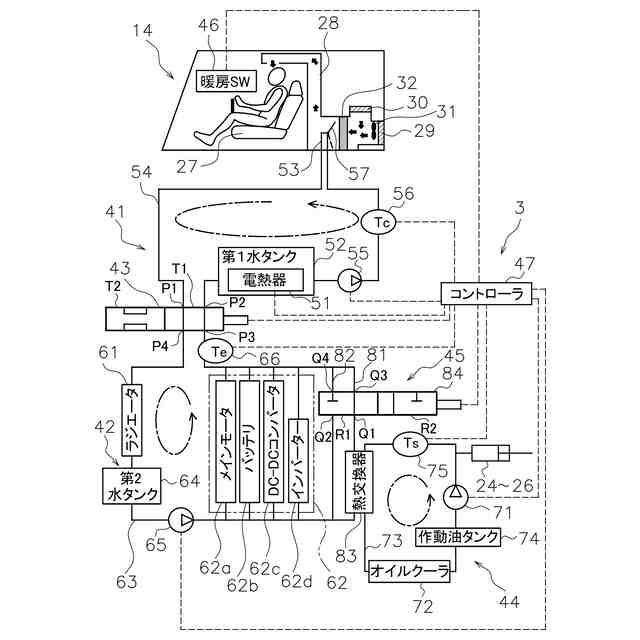
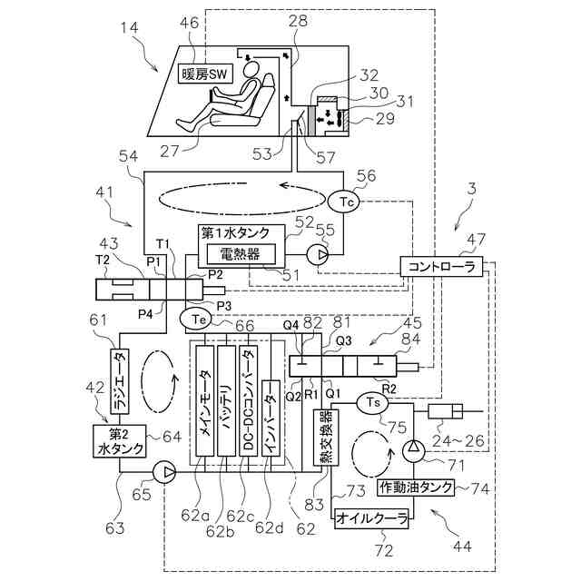
【解決手段】作業機械の暖房装置3は、暖房回路41と、電気部品冷却回路42と、第1バルブ43と、コントローラ47と、を備える。暖房回路41は、暖房に用いられる水が流通する第1流路54と、第1流路54の水を加熱する電熱ヒータ51と、第1流路54の水の温度を検出する第1温度センサ56と、を有する。電気部品冷却回路42は、電気部品62を冷却する水が流通する第2流路63と、第2流路63の水の温度を検出する第2温度センサ66と、を有する。第1バルブ43は、暖房回路41と電気部品冷却回路42の間に配置され、暖房回路41に電気部品冷却回路42を合流、若しくは、暖房回路41から電気部品冷却回路42を分離する。コントローラ47は、第1温度センサ56の検出値Tcと第2温度センサ66の検出値Teに基づいて、第1バルブ43を動作させる。
【選択図】図2
特許請求の範囲
【請求項1】
暖房に用いられる冷媒が流通する第1流路と、前記第1流路の冷媒を加熱する電熱器と、前記第1流路の冷媒の温度を検出する第1温度センサと、を有する暖房回路と、
電気部品を冷却する冷媒が流通する第2流路と、前記第2流路の冷媒の温度を検出する第2温度センサと、を有する電気部品冷却回路と、
前記暖房回路と前記電気部品冷却回路の間に配置され、前記暖房回路に前記電気部品冷却回路を合流、若しくは、前記暖房回路から前記電気部品冷却回路を分離する第1バルブと、
前記第1温度センサの検出値と前記第2温度センサの検出値に基づいて、前記第1バルブを動作させるコントローラと、を備えた、
作業機械の暖房装置。
続きを表示(約 1,700 文字)
【請求項2】
前記コントローラは、
前記第1温度センサの検出値が前記第2温度センサの検出値以上の場合、前記暖房回路から前記電気部品冷却回路を分離し、
前記第1温度センサの検出値が前記第2温度センサの検出値より小さい場合、前記暖房回路に前記電気部品冷却回路を合流させるように前記第1バルブを動作させる、
請求項1に記載の作業機械の暖房装置。
【請求項3】
油圧アクチュエータと、前記油圧アクチュエータに供給される作動油が流通する第3流路と、前記第3流路を流通する作動油を冷却するオイルクーラと、前記第3流路の作動油の温度を検出する第3温度センサと、を有する作動油冷却回路と、
前記作動油冷却回路と前記電気部品冷却回路との間で熱交換可能な状態と、前記作動油冷却回路と前記電気部品冷却回路との間の熱交換が停止された状態との間で切り替え可能な熱交換切替部と、を備え、
前記コントローラは、前記第2温度センサの検出値と前記第3温度センサの検出値に基づいて、前記熱交換切替部を制御する、
請求項1に記載の作業機械の暖房装置。
【請求項4】
前記コントローラは、
前記第2温度センサの検出値が前記第3温度センサの検出値以上の場合、前記熱交換が停止された状態になるように前記熱交換切替部を制御し、
前記第2温度センサの検出値が前記第3温度センサの検出値より小さい場合、前記熱交換可能な状態になるように前記熱交換切替部を制御する、
請求項3に記載の作業機械の暖房装置。
【請求項5】
前記コントローラは、
前記第2温度センサの検出値が所定温度以上になった場合、前記熱交換が停止された状態になるように前記熱交換切替部を制御する、
請求項3または4に記載の作業機械の暖房装置。
【請求項6】
前記コントローラは、
前記第1温度センサの検出値が前記第2温度センサの検出値以上、且つ前記第2温度センサの検出値が前記第3温度センサの検出値より小さい場合、
前記暖房回路から前記電気部品冷却回路を分離するように前記第1バルブを制御し、前記熱交換可能な状態になるように前記熱交換切替部を制御し、
前記第1温度センサの検出値が前記第2温度センサの検出値より小さくなると、前記暖房回路に前記電気部品冷却回路を合流させるように前記第1バルブを動作させる、
請求項3に記載の作業機械の暖房装置。
【請求項7】
前記熱交換切替部は、
前記作動油冷却回路と前記電気部品冷却回路との間で熱交換可能な熱交換器と、
前記電気部品冷却回路の前記第2流路または前記作動油冷却回路の前記第3流路のいずれかに並列に接続され、前記熱交換器が配置された熱交換流路と、
前記熱交換流路と並列に接続され、前記熱交換器をバイパスするバイパス流路と、
前記熱交換流路を開け、前記バイパス流路を閉じた状態と、前記熱交換流路を閉じ、前記バイパス流路を開けた状態との間を切り替える第2バルブと、有し、
前記コントローラは、前記第2温度センサの検出値と前記第3温度センサの検出値に基づいて、前記第2バルブを制御する、
請求項3に記載の作業機械の暖房装置。
【請求項8】
前記電気部品は、電動機と、前記電動機を駆動するための蓄電器と、を含む、
請求項1に記載の作業機械の暖房装置。
【請求項9】
前記電気部品は、電動機と、前記電動機を駆動するための蓄電器と、を含み、
前記作動油冷却回路は、前記作動油を供給する油圧ポンプを含み、
前記電動機は、前記油圧ポンプを駆動する、
請求項3に記載の作業機械の暖房装置。
【請求項10】
前記作動油冷却回路は、前記オイルクーラとしての作動油タンクを含む、
請求項3に記載の作業機械の暖房装置。
(【請求項11】以降は省略されています)
発明の詳細な説明
【技術分野】
【0001】
本発明は、作業機械の暖房装置、および作業機械の暖房装置の制御方法に関する。
続きを表示(約 1,500 文字)
【背景技術】
【0002】
近年、バッテリで駆動される電動機を動力源として搭載する作業機械が用いられている。このような電動作業機械では、空調のための温水は電気ヒータによって温められている(例えば、特許文献1参照。)。特許文献1に示す作業機械の暖房装置では、ラジエータ内に電気ヒータが設けられ、ラジエータ内の水が電気ヒータによって加熱され、ヒータユニットの熱交換器に供給されている。
【先行技術文献】
【特許文献】
【0003】
特開2003-267037号公報
【発明の概要】
【発明が解決しようとする課題】
【0004】
しかしながら、電気ヒータによって外気温度まで冷えた水を温めるため、電気ヒータに必要な電力が大きくなり、作業を行うための稼働時間が短くなっていた。
【0005】
本開示は、暖房に用いる電力を低減することが可能な作業機械の暖房装置、および作業機械の暖房装置の制御方法を提供することを目的とする。
【課題を解決するための手段】
【0006】
本開示の第1の態様にかかる作業機械の暖房装置は、暖房回路と、電気部品冷却回路と、第1バルブと、コントローラと、を備える。暖房回路は、暖房に用いられる冷媒が流通する第1流路と、第1流路の冷媒を加熱する電熱器と、第1流路の冷媒の温度を検出する第1温度センサと、を有する。電気部品冷却回路は、電気部品を冷却する冷媒が流通する第2流路と、第2流路の冷媒の温度を検出する第2温度センサと、を有する。第1バルブは、暖房回路と電気部品冷却回路の間に配置され、暖房回路に電気部品冷却回路を合流、若しくは、暖房回路から電気部品冷却回路を分離する。コントローラは、第1温度センサの検出値と第2温度センサの検出値に基づいて、第1バルブを動作させる。
【0007】
本開示の第2の態様にかかる作業機械の暖房装置の制御方法は、第1温度取得ステップと、第2温度取得ステップと、流路制御ステップと、を備える。第1温度取得ステップは、暖房に用いられる冷媒が流通する第1流路と、第1流路の冷媒を加熱する電熱器と、含む暖房回路の冷媒の温度を取得する。第2温度検出ステップは、電気部品を冷却する冷媒が流通する第2流路を含む電気部品冷却回路の冷媒の温度を取得する。流路制御ステップは、第1温度取得ステップにおいて取得した温度と第2温度取得ステップにおいて取得した温度に基づいて、暖房回路に電気部品冷却回路を合流、若しくは、暖房回路から電気部品冷却回路を分離する。
【発明の効果】
【0008】
本開示の態様によれば、暖房に用いる電力を低減することが可能な作業機械の暖房装置、および作業機械の暖房装置の制御方法を提供することができる。
【図面の簡単な説明】
【0009】
本開示の実施形態にかかる電動ショベルを示す側面図である。
本開示の実施形態にかかる電動ショベルのキャブの内部構成および暖房装置の構成を示す図である。
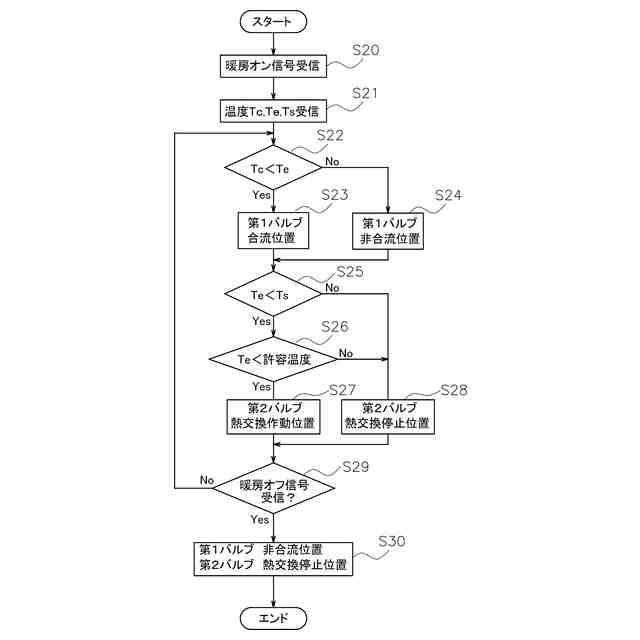
本開示の実施形態にかかる電動ショベルにおける暖房装置の暖房回路の制御を説明するためのフロー図である。
本開示の実施形態にかかる電動ショベルにおける暖房装置の電気部品冷却回路、第1バルブ、作動油冷却回路、および熱交換切替部の制御を説明するためのフロー図である。
【発明を実施するための形態】
【0010】
本開示にかかる作業機械の一例としての電動ショベルについて図面を参照しながら以下に説明する。
(【0011】以降は省略されています)
この特許をJ-PlatPat(特許庁公式サイト)で参照する
関連特許
株式会社小松製作所
作業機械および方法
9日前
株式会社小松製作所
磁気結合型リアクトル
9日前
株式会社小松製作所
評価装置および評価方法
4日前
株式会社小松製作所
制御システムおよび制御方法
9日前
株式会社小松製作所
ファン駆動システム及びファン駆動方法
9日前
株式会社小松製作所
作業現場の従事者支援システム及び従事者支援方法
9日前
株式会社小松製作所
作業機械の制御システム、および作業機械の制御方法
9日前
株式会社小松製作所
作業機械の制御システム、および作業機械の制御方法
9日前
株式会社小松製作所
トレーニングシステムおよびステージデータの生成方法
9日前
株式会社小松製作所
認証情報表示システム、情報端末、及び認証情報表示方法
1か月前
株式会社小松製作所
作業機械のペイロード算出システムおよび作業機械のペイロード算出方法
10日前
個人
バケット
17日前
個人
建物の不同沈下の修正方法
24日前
千代田工営株式会社
回転貫入杭
1か月前
株式会社大林組
操縦装置
20日前
株式会社富田製作所
継手部構造
17日前
株式会社熊谷組
山留壁用親杭
1か月前
日立建機株式会社
建設機械
1か月前
日立建機株式会社
作業機械
1か月前
日立建機株式会社
作業機械
1か月前
日立建機株式会社
建設機械
10日前
日立建機株式会社
作業機械
1か月前
日立建機株式会社
作業機械
9日前
ヤンマーホールディングス株式会社
作業機械
1か月前
ヤンマーホールディングス株式会社
作業機械
1か月前
日立建機株式会社
作業機械
1か月前
日立建機株式会社
作業機械
1か月前
日本車輌製造株式会社
建設機械
1か月前
日立建機株式会社
作業車両
1か月前
日立建機株式会社
建設機械
1か月前
FKS株式会社
擁壁及び擁壁の築造方法
19日前
株式会社三誠
建物の免震構造
24日前
鹿島建設株式会社
接続方法および接続構造
1か月前
株式会社次世代一次産業実践所
登山道の施工装置
25日前
株式会社竹内製作所
作業用車両
1か月前
株式会社竹内製作所
作業用車両
1か月前
続きを見る
他の特許を見る