TOP
|
特許
|
意匠
|
商標
特許ウォッチ
Twitter
他の特許を見る
10個以上の画像は省略されています。
公開番号
2025153039
公報種別
公開特許公報(A)
公開日
2025-10-10
出願番号
2024055300
出願日
2024-03-29
発明の名称
作業機械および作業機械の制御方法
出願人
株式会社小松製作所
代理人
弁理士法人志賀国際特許事務所
主分類
E02F
9/00 20060101AFI20251002BHJP(水工;基礎;土砂の移送)
要約
【課題】作業機械のエネルギー効率を向上する。
【解決手段】作業機械は、走行体と、旋回体と、電動旋回モータと、燃料電池とを備える。旋回体は、走行体に旋回可能に支持され、電動旋回モータは、旋回体を旋回させるための動力を発生する。旋回体が旋回しているときに燃料電池が発電する電力は、旋回体が旋回していないときに燃料電池が発電する電力に比べて小さい。
【選択図】図7
特許請求の範囲
【請求項1】
走行体と、
前記走行体に旋回可能に支持された旋回体と、
前記旋回体を旋回させるための動力を発生する旋回モータと、
前記旋回モータを駆動させるための電力を発電する燃料電池と、
を備え、
前記旋回体が旋回しているときに前記燃料電池が発電する電力は、前記旋回体が旋回していないときに前記燃料電池が発電する電力に比べて小さい、
作業機械。
続きを表示(約 580 文字)
【請求項2】
制御装置を備え、
前記制御装置は、
前記旋回体が旋回していないときに、所定の第一電力に基づいて前記燃料電池を発電させる指令を出力し、
前記旋回体が旋回しているときに、前記第一電力より小さい第二電力に基づいて前記燃料電池を発電させる指令を出力する、
請求項1に記載の作業機械。
【請求項3】
前記制御装置は、前記旋回体の旋回が開始されるときから、前記旋回体の旋回が停止するまでの間、前記第二電力に基づく指令を出力する
請求項2に記載の作業機械。
【請求項4】
前記制御装置は、前記旋回体の旋回を操作する旋回操作信号を受信した場合に、前記旋回体の旋回が開始されると判定し、前記第二電力に基づいて前記燃料電池を発電させる指令を出力する、
請求項3に記載の作業機械。
【請求項5】
作業機と、
旋回体と、
前記旋回体に支持され、前記作業機を駆動させ、前記旋回体を旋回させるための電力を発電する燃料電池と、
を備える作業機械を制御するための方法であって、
前記旋回体が旋回しているときは、前記旋回体が旋回していないときと比べて、前記燃料電池が発電する電力より小さくなるように前記燃料電池の発電量を制御する、
方法。
発明の詳細な説明
【技術分野】
【0001】
本開示は、作業機械および作業機械の制御方法に関する。
続きを表示(約 1,500 文字)
【背景技術】
【0002】
特許文献1に示すように、水素を燃料として用いる燃料電池を搭載する作業機械が検討されている。燃料電池で駆動する作業機械は、燃料電池の搭載量を抑え、また回生電力を充電させるために、バッテリなどの蓄電装置を備える。そのため、作業機械の制御装置は、燃料電池と蓄電装置のエネルギーを適切に分配するエネルギーマネジメントを行う必要がある。
【先行技術文献】
【特許文献】
【0003】
特開2023-110969号公報
【発明の概要】
【発明が解決しようとする課題】
【0004】
作業機械は、蓄電装置に充電された電力が枯渇しないように、燃料電池の発電量を制御することが好ましい。一方で、燃料電池の発電によって蓄電装置が十分に充電されている場合、作業機械の動作によって発生した回生電力は、熱エネルギーに変換して消費せざるを得ず、エネルギー効率が悪くなる可能性がある。
【0005】
本開示の目的は、作業機械のエネルギー効率を向上することができる作業機械および作業機械の制御方法を提供することにある。
【課題を解決するための手段】
【0006】
本発明の一態様によれば、作業機械は、走行体と、走行体に旋回可能に支持された旋回体と、旋回体を旋回させるための動力を発生する電動旋回モータと、電動旋回モータを駆動させるための電力を発電する燃料電池と、を備え、旋回体が旋回しているときに燃料電池が発電する電力は、旋回体が旋回していないときに燃料電池が発電する電力に比べて小さい。
【発明の効果】
【0007】
上記態様によれば、作業機械は、作業機械のエネルギー効率を向上することができる。
【図面の簡単な説明】
【0008】
第一実施形態に係る作業機械の斜視図である。
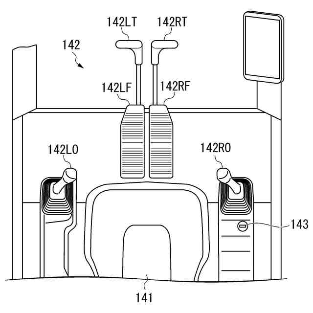
第一実施形態に係る作業機械の運転室の構成を示す概略図である。
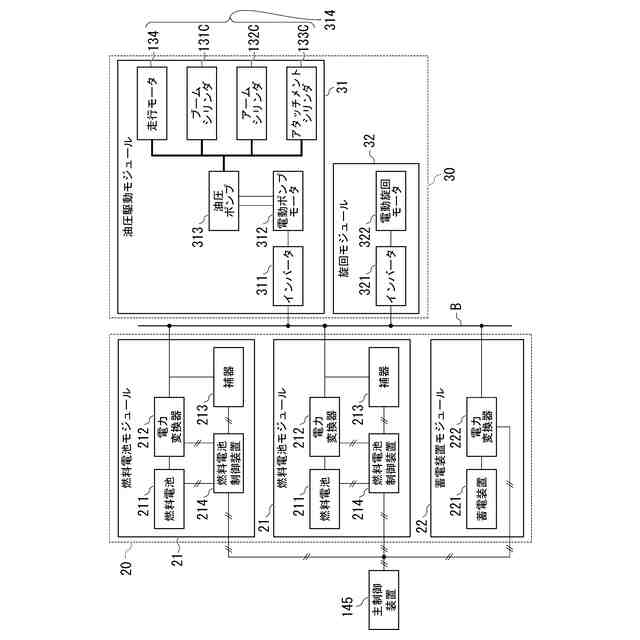
第一実施形態に係る作業機械の構成を示す概略ブロック図である。
第一実施形態に係る主制御装置の構成を示す概略ブロック図である。
第一実施形態に係る主制御装置の制御の一例を示すタイムチャートである。
第一の実施形態に係る制御量決定部による演算アルゴリズムを示すブロック図である。
第一実施形態に係る作業機械の制御方法を示すフローチャートである。
少なくとも1つの実施形態に係るコンピュータの構成を示す概略ブロック図である。
第二実施形態に係る作業機械の構成を示す概略ブロック図である。
【発明を実施するための形態】
【0009】
〈第一実施形態〉
《作業機械1の構成》
図1は、第一実施形態に係る作業機械1の斜視図である。第一実施形態に係る作業機械1は、例えば油圧ショベルである。作業機械1は、走行体110と、旋回体120と、作業機130と、運転室140と、主制御装置145とを備える。油圧ショベルである作業機械1は、作業現場等において土砂などを掘削、整地する。走行体110と旋回体120とは、車体を構成する。
【0010】
走行体110は、作業機械1を走行可能に支持する。走行体110は、左右一対の履帯を有する。作業機械1は一対の履帯の回転により前進し、旋回し、または後進する。
旋回体120は、走行体110に旋回可能に支持される。旋回体120は、後述する電動旋回モータ322によって、走行体110に対して旋回する。旋回体120は、作業機130と、運転室140と、機械室150と、燃料電池システム20とを支持する。
(【0011】以降は省略されています)
この特許をJ-PlatPat(特許庁公式サイト)で参照する
関連特許
株式会社小松製作所
作業車両
12日前
株式会社小松製作所
作業車両
12日前
株式会社小松製作所
作業機械および方法
2日前
株式会社小松製作所
作業機械および方法
1日前
株式会社小松製作所
作業機械および方法
1日前
株式会社小松製作所
作業機械および方法
1日前
株式会社小松製作所
発注システムおよび発注方法
3日前
株式会社小松製作所
発注システムおよび発注方法
3日前
株式会社小松製作所
作業車両および作業車両の制御方法
1日前
株式会社小松製作所
作業機械および作業機械の制御方法
1日前
株式会社小松製作所
作業車両用作動油タンク及び作業車両
9日前
トヨタ自動車株式会社
運行管理装置
15日前
株式会社小松製作所
油圧駆動システムおよび油圧駆動方法
2日前
トヨタ自動車株式会社
運行管理装置
15日前
株式会社小松製作所
システム、作業機械、および制御方法
1日前
株式会社小松製作所
作業車両の制御システム及び作業車両
1日前
トヨタ自動車株式会社
車両走行管理装置
15日前
株式会社小松製作所
作業機械システムおよび作業機械の制御方法
2日前
株式会社小松製作所
作業機械システムおよび作業機械の制御方法
2日前
株式会社小松製作所
作業機械の点検支援システム及び点検支援方法
1日前
株式会社小松製作所
作業機械、及び、作業機械を制御するための方法
4日前
株式会社小松製作所
散水システム、作業機械および散水装置の制御方法
3日前
株式会社小松製作所
散水システム、散水機械および散水装置の制御方法
3日前
株式会社小松製作所
感情推定装置、感情推定方法および遠隔操作システム
4日前
株式会社小松製作所
作業機械の操作システム、および作業機械の操作方法
15日前
株式会社小松製作所
作業機械を制御するためのシステム、方法、及び作業機械
12日前
株式会社小松製作所
認証情報表示システム、情報端末、及び認証情報表示方法
1日前
株式会社小松製作所
作業機械、作業機械のシステムおよび作業機械の制御方法
3日前
株式会社小松製作所
作業機械、作業機械のシステムおよび作業機械の制御方法
3日前
株式会社小松製作所
作業機械の画像表示システムおよび作業機械の画像表示方法
10日前
株式会社小松製作所
作業機械の暖房装置、および作業機械の暖房装置の制御方法
2日前
株式会社小松製作所
作業機械の表示システム、作業機械、及び作業機械の表示方法
3日前
株式会社小松製作所
モータグレーダおよびモータグレーダのドローバ姿勢算出方法
24日前
株式会社小松製作所
表示制御装置、情報端末、表示制御方法、及び表示制御システム
1日前
株式会社小松製作所
故障した作業機械の故障原因を診断するためのシステム及び方法
12日前
株式会社小松製作所
作業機械、作業機械を含むシステム、および作業機械の制御方法
1日前
続きを見る
他の特許を見る