TOP
|
特許
|
意匠
|
商標
特許ウォッチ
Twitter
他の特許を見る
公開番号
2025149655
公報種別
公開特許公報(A)
公開日
2025-10-08
出願番号
2024050423
出願日
2024-03-26
発明の名称
発注システムおよび発注方法
出願人
株式会社小松製作所
,
国立研究開発法人産業技術総合研究所
代理人
弁理士法人志賀国際特許事務所
主分類
G06Q
50/08 20120101AFI20251001BHJP(計算;計数)
要約
【課題】オペレータによる案件の見落としを防ぐ。
【解決手段】発注受付部は、発注者から工事に係る作業の発注情報の入力を受け付ける。通知部は、複数のオペレータに係る情報を記憶するデータベースに基づいて、複数のオペレータのうち発注情報が示す条件を満たす複数の候補オペレータに前記発注情報を通知する。受注受付部は、複数の候補オペレータの一人から、発注情報に係る作業の受注の入力を受け付ける。決定部は、受注の入力に係る候補オペレータを、作業を発注するオペレータに決定する。
【選択図】図1
特許請求の範囲
【請求項1】
発注者から工事に係る作業の発注情報の入力を受け付ける発注受付部と、
作業機械の複数のオペレータに係る情報を記憶するデータベースに基づいて、前記複数のオペレータのうち前記発注情報が示す条件を満たす複数の候補オペレータに前記発注情報を通知する通知部と、
前記複数の候補オペレータの一人から、前記発注情報に係る作業の受注の入力を受け付ける受注受付部と、
前記受注の入力に係る候補オペレータを、前記作業を発注するオペレータに決定する決定部と、
を備える発注システム。
続きを表示(約 1,200 文字)
【請求項2】
前記発注情報は、前記オペレータに要求するスキルレベルの情報を含み、
前記通知部は、前記複数のオペレータのうち、スキルレベルが前記発注情報に係るスキルレベル以上である前記複数の候補オペレータに前記発注情報を通知する、
請求項1に記載の発注システム。
【請求項3】
前記データベースは、前記複数のオペレータのスキルレベルを記憶し、
オペレータによる作業機械の操作に係る履歴データに基づいて、前記オペレータのスキルレベルを推定し、前記データベースを更新するスキル推定部を備える、
請求項2に記載の発注システム。
【請求項4】
前記受注受付部が二人以上の候補オペレータから受注の入力を受け付けた場合に、前記決定部は受注の入力の時刻が最も早い一人の候補オペレータを、前記作業を発注するオペレータに決定する、
請求項1に記載の発注システム。
【請求項5】
前記データベースは、遠隔操作装置が設けられる複数の施設のうち前記オペレータがアクセス可能なアクセシブル施設の情報を記憶し、
前記通知部は、前記発注情報に係る前記作業機械が遠隔操作に係る作業機械である場合に、前記複数のオペレータのうち、利用可能な前記アクセシブル施設が存在する前記複数の候補オペレータに前記発注情報を通知する、
請求項1に記載の発注システム。
【請求項6】
前記発注情報は、作業機械の種類を示す情報を含み、
利用可能な前記アクセシブル施設は、前記発注情報が示す種類の作業機械の操作に対応し、かつ予約されていない前記遠隔操作装置が設けられる施設である、
請求項5に記載の発注システム。
【請求項7】
前記発注情報が示す条件を満たす前記複数の候補オペレータを前記発注者に提示した上で、前記発注者から前記発注情報による発注を行うか否かの入力を受け付ける発注確認部を備え、
前記通知部は、前記発注を行う旨の入力がされた場合に、前記複数の候補オペレータに前記発注情報を通知する、
請求項1に記載の発注システム。
【請求項8】
コンピュータが、発注者から工事に係る作業の発注情報の入力を受け付けるステップと、
前記コンピュータが、複数のオペレータに係る情報を記憶するデータベースに基づいて、前記複数のオペレータのうち前記発注情報が示す条件を満たす複数の候補オペレータに前記発注情報を通知するステップと、
前記コンピュータが、前記複数の候補オペレータの一人から、前記発注情報に係る作業の受注の入力を受け付けるステップと、
前記コンピュータが、前記受注の入力に係る候補オペレータを、前記作業を発注するオペレータに決定するステップと、
を備える発注方法。
発明の詳細な説明
【技術分野】
【0001】
本開示は、発注システムおよび発注方法に関する。
続きを表示(約 1,900 文字)
【背景技術】
【0002】
特許文献1には、情報端末を用いて希望する作業とその作業を行うための遠隔操作装置とをオペレータに選択させることができる作業選択システムが開示されている。
【先行技術文献】
【特許文献】
【0003】
特開2022-179729号公報
【発明の概要】
【発明が解決しようとする課題】
【0004】
特許文献1に記載のシステムでは、発注者が発注した案件は、システムに登録された多数のオペレータに提示される。一方で、案件には要求技能レベルなどの条件があり、すべてのオペレータが案件を受注できるとは限らない。そのため、オペレータは、発注された案件の中から受注可能な案件を探しだす必要があり、案件の見落としが生じるおそれがある。
本開示の目的は、オペレータによる案件の見落としを防ぐことができる発注システムおよび発注方法を提供することにある。
【課題を解決するための手段】
【0005】
本発明の一態様によれば、発注システムは、発注者から工事に係る作業の発注情報の入力を受け付ける発注受付部と、複数のオペレータに係る情報を記憶するデータベースに基づいて、前記複数のオペレータのうち前記発注情報が示す条件を満たす複数の候補オペレータに前記発注情報を通知する通知部と、前記複数の候補オペレータの一人から、前記発注情報に係る作業の受注の入力を受け付ける受注受付部と、前記受注の入力に係る候補オペレータを、前記作業を発注するオペレータに決定する決定部と、を備える。
【発明の効果】
【0006】
上記態様によれば、発注システムは、オペレータによる案件の見落としを防ぐことができる。
【図面の簡単な説明】
【0007】
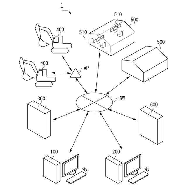
第1の実施形態に係る発注システムの構成を示す概略図である。
第1の実施形態に係る発注管理装置の構成を示すブロック図である。
第1の実施形態に係るコントローラ管理装置の構成を示すブロック図である。
第1の実施形態に係る発注管理装置による発注管理方法を示すフローチャートである。
第1の実施形態に係るオペレータのダッシュボード画面の一例を示す図である。
少なくとも1つの実施形態に係るコンピュータの構成を示す概略ブロック図である。
【発明を実施するための形態】
【0008】
〈第1の実施形態〉
《発注システムの構成》
以下、図面を参照しながら実施形態について詳しく説明する。
図1は、第1の実施形態に係る発注システム1の構成を示す概略図である。
発注システム1は、発注者端末100、オペレータ端末200、発注管理装置300、作業機械400、遠隔操作ステーション500、コントローラ管理装置600を備える。発注システム1は、発注者とオペレータとの間での工事の作業に係る契約を支援するためのシステムである。発注者端末100、オペレータ端末200、発注管理装置300、作業機械400、遠隔操作ステーション500およびコントローラ管理装置600は、互いにネットワークNWを介して通信可能に接続される。ネットワークNWは例えばインターネットであってよい。
【0009】
発注者端末100は、発注者によって操作される端末である。発注者端末100は、ネットワークNWを介して発注管理装置300にアクセスする。発注者は、発注者端末100を介して発注管理装置300にアクセスし、工事の作業に係る発注情報を発注管理装置300に登録する。発注情報には、例えば現場の住所、作業内容、要求スキルレベル、作業に用いる作業機械400、作業期間、募集期限、報酬額が含まれる。発注者端末100は、PC、スマートフォン、タブレット端末などであってよい。
【0010】
オペレータ端末200は、受注者であるオペレータによって操作される端末である。オペレータ端末200は、ネットワークNWを介して発注管理装置300にアクセスする。オペレータは、オペレータ端末200を介して発注管理装置300にアクセスして発注情報を確認する。また、オペレータ端末200には、発注管理装置300から発注情報のプッシュ通知が送信される。オペレータは、発注管理装置300から通知された受注可能な作業を選択し、受注情報を発注管理装置300に登録することができる。オペレータ端末200は、PC、スマートフォン、タブレット端末などであってよい。
(【0011】以降は省略されています)
この特許をJ-PlatPat(特許庁公式サイト)で参照する
関連特許
株式会社小松製作所
作業車両
15日前
株式会社小松製作所
作業車両
15日前
株式会社小松製作所
作業機械および方法
4日前
株式会社小松製作所
作業機械および方法
4日前
株式会社小松製作所
作業機械および方法
4日前
株式会社小松製作所
作業機械および方法
5日前
株式会社小松製作所
発注システムおよび発注方法
6日前
株式会社小松製作所
発注システムおよび発注方法
6日前
株式会社小松製作所
作業車両および作業車両の制御方法
4日前
株式会社小松製作所
作業機械および作業機械の制御方法
4日前
株式会社小松製作所
油圧駆動システムおよび油圧駆動方法
5日前
株式会社小松製作所
作業車両用作動油タンク及び作業車両
12日前
株式会社小松製作所
作業車両の制御システム及び作業車両
4日前
株式会社小松製作所
システム、作業機械、および制御方法
4日前
株式会社小松製作所
作業機械システムおよび作業機械の制御方法
5日前
株式会社小松製作所
作業機械システムおよび作業機械の制御方法
5日前
株式会社小松製作所
作業機械の点検支援システム及び点検支援方法
4日前
株式会社小松製作所
作業機械、及び、作業機械を制御するための方法
7日前
株式会社小松製作所
散水システム、散水機械および散水装置の制御方法
6日前
株式会社小松製作所
散水システム、作業機械および散水装置の制御方法
6日前
株式会社小松製作所
感情推定装置、感情推定方法および遠隔操作システム
7日前
株式会社小松製作所
作業機械、作業機械のシステムおよび作業機械の制御方法
6日前
株式会社小松製作所
作業機械、作業機械のシステムおよび作業機械の制御方法
6日前
株式会社小松製作所
認証情報表示システム、情報端末、及び認証情報表示方法
4日前
株式会社小松製作所
作業機械の画像表示システムおよび作業機械の画像表示方法
13日前
株式会社小松製作所
作業機械の暖房装置、および作業機械の暖房装置の制御方法
5日前
株式会社小松製作所
作業機械の表示システム、作業機械、及び作業機械の表示方法
6日前
株式会社小松製作所
表示制御装置、情報端末、表示制御方法、及び表示制御システム
4日前
株式会社小松製作所
作業機械、作業機械を含むシステム、および作業機械の制御方法
4日前
株式会社小松製作所
故障した作業機械の故障原因を診断するためのシステム及び方法
15日前
株式会社小松製作所
作業機械を含むシステム、作業機械、および作業機械の自動走行制御方法
4日前
株式会社小松製作所
作業機械の制御システム、作業機械、作業機械の遠隔操作システム、及び作業機械の制御方法
5日前
株式会社小松製作所
作業機械の制御システム、作業機械、作業機械の遠隔操作システム、及び作業機械の制御方法
5日前
株式会社小松製作所
作業機械の制御システム、作業機械、作業機械の遠隔操作システム、及び作業機械の制御方法
5日前
株式会社小松製作所
作業機械の制御システム、作業機械、作業機械の遠隔操作システム、及び作業機械の制御方法
5日前
株式会社小松製作所
作業機械の制御システム、作業機械、作業機械の遠隔操作システム、及び作業機械の制御方法
5日前
続きを見る
他の特許を見る