TOP
|
特許
|
意匠
|
商標
特許ウォッチ
Twitter
他の特許を見る
公開番号
2025150704
公報種別
公開特許公報(A)
公開日
2025-10-09
出願番号
2024051732
出願日
2024-03-27
発明の名称
作業機械の制御システム、作業機械、作業機械の遠隔操作システム、及び作業機械の制御方法
出願人
株式会社小松製作所
代理人
弁理士法人酒井国際特許事務所
主分類
E02F
9/20 20060101AFI20251002BHJP(水工;基礎;土砂の移送)
要約
【課題】作業機械の劣化を抑制すること。
【解決手段】作業機械の制御システムは、コントローラを備える。コントローラは、作業機械が有する作業機を動作させるために操作される操作装置からの操作信号を取得する操作信号取得部と、作業機が所定高さ以上に上昇している上げ姿勢から下げ動作している状態で、操作信号の変化率が大きい場合、変化率が小さくなるように制御指令を出力する作業機制御部と、を有する。
【選択図】図5
特許請求の範囲
【請求項1】
コントローラを備え、
前記コントローラは、
作業機械が有する作業機を動作させるために操作される操作装置からの操作信号を取得する操作信号取得部と、
前記作業機が所定高さ以上に上昇している上げ姿勢から下げ動作している状態で、前記操作信号の変化率が大きい場合、前記変化率が小さくなるように制御指令を出力する作業機制御部と、を有する、
作業機械の制御システム。
続きを表示(約 960 文字)
【請求項2】
前記コントローラは、
前記作業機の姿勢を検出する作業機姿勢センサの検出データに基づいて、前記作業機が前記上げ姿勢であるか否かを判定する姿勢判定部を有する、
請求項1に記載の作業機械の制御システム。
【請求項3】
前記コントローラは、
前記作業機の姿勢を検出する作業機姿勢センサの検出データ又は前記操作信号に基づいて、前記作業機が前記下げ動作しているか否かを判定する動作判定部を有する、
請求項1に記載の作業機械の制御システム。
【請求項4】
前記作業機は、前記作業機械の車体に第1回動軸を中心に回動可能に連結されるブームと、前記ブームに第2回動軸を中心に回動可能に連結されるバケットと、を有し、
前記上げ姿勢であることは、前記第2回動軸が前記第1回動軸よりも上方に配置されることを含む、
請求項1に記載の作業機械の制御システム。
【請求項5】
前記作業機制御部は、前記操作信号の変化率が閾値を超過すると判定した場合、前記変化率が閾値以下になるように制御指令を出力する、
請求項1に記載の作業機械の制御システム。
【請求項6】
前記コントローラは、
前記作業機の積荷状態を検出する積荷センサの検出データに基づいて、前記閾値を変更する閾値設定部を有する、
請求項5に記載の作業機械の制御システム。
【請求項7】
前記閾値設定部は、前記積荷センサの検出データに基づいて、前記作業機が積荷状態であるか空荷状態であるかを判定し、前記積荷状態であるときの閾値を前記空荷状態であるときの閾値よりも小さくする、
請求項6に記載の作業機械の制御システム。
【請求項8】
前記積荷センサは、前記作業機の重量を検出する重量センサを含む、
請求項6に記載の作業機械の制御システム。
【請求項9】
請求項1に記載の作業機械の制御システムを備える、
作業機械。
【請求項10】
請求項1に記載の作業機械の制御システムを備える、
作業機械の遠隔操作システム。
(【請求項11】以降は省略されています)
発明の詳細な説明
【技術分野】
【0001】
本開示は、作業機械の制御システム、作業機械、作業機械の遠隔操作システム、及び作業機械の制御方法に関する。
続きを表示(約 1,500 文字)
【背景技術】
【0002】
作業機械に係る技術分野において、特許文献1に開示されているような、ホイールローダの遠隔操作システムが知られている。特許文献1において、ホイールローダは、カメラ及びアンテナを有する。ホイールローダのオンボードコントローラは、アンテナを介してオフボードコントローラからのリモート信号を受信する。オフボードコントローラは、カメラからのカメラ画像を受信してディスプレイに表示させる。
【先行技術文献】
【特許文献】
【0003】
欧州特許出願公開第3926107号明細書
【発明の概要】
【発明が解決しようとする課題】
【0004】
作業機械は、車体と、車体に連結される作業機とを有する。作業機は、オペレータにより操作される操作装置からの操作信号に基づいて動作する。例えば作業機が下げ動作している状態で、下げ動作を急激に中断するように操作装置が操作されると、作業機械の重量バランスが崩れる可能性がある。作業機械の重量バランスが崩れると、作業機械に負荷が掛かり、作業機械が劣化する可能性がある。
【0005】
本開示は、作業機械の劣化を抑制することを目的とする。
【課題を解決するための手段】
【0006】
本開示に従えば、コントローラを備える作業機械の制御システムが提供される。コントローラは、作業機械が有する作業機を動作させるために操作される操作装置からの操作信号を取得する操作信号取得部と、作業機が所定高さ以上に上昇している上げ姿勢から下げ動作している状態で、操作信号の変化率が大きい場合、変化率が小さくなるように制御指令を出力する作業機制御部と、を有する。
【発明の効果】
【0007】
本開示によれば、作業機械の劣化が抑制される。
【図面の簡単な説明】
【0008】
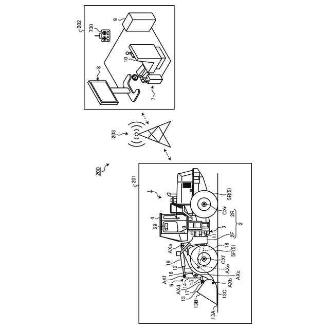
図1は、実施形態に係る作業機械の遠隔操作システムを示す図である。
図2は、実施形態に係る作業機械及び操作装置を示す構成図である。
図3は、実施形態に係る車載コントローラを示すハードウエア構成図である。
図4は、実施形態に係る作業機械の動作を説明する図である。
図5は、実施形態に係る作業機械の制御システムを示す機能ブロック図である。
図6は、実施形態に係る作業機械の制御方法を示すフローチャートである。
図7は、実施形態に係るブームレバーからの操作信号とブームの高さとの関係の一例を示す図である。
図8は、実施形態に係るブームレバーからの操作信号とブームの高さとの関係の一例を示す図である。
【発明を実施するための形態】
【0009】
以下、本開示に係る実施形態について図面を参照しながら説明するが、本開示は実施形態に限定されない。以下で説明する実施形態の構成要素は、適宜組み合わせることができる。また、一部の構成要素を用いない場合もある。
【0010】
[遠隔操作システム]
図1は、実施形態に係る作業機械1の遠隔操作システム200を示す図である。遠隔操作システム200は、作業現場201に存在する作業機械1を遠隔操作する。遠隔操作システム200の少なくとも一部は、作業機械1の外部に設けられた遠隔操作室202に配置される。遠隔操作システム200は、操作装置7と、表示装置8と、遠隔コントローラ9とを備える。
(【0011】以降は省略されています)
この特許をJ-PlatPat(特許庁公式サイト)で参照する
関連特許
株式会社小松製作所
作業機械および方法
6日前
株式会社小松製作所
作業機械および方法
5日前
株式会社小松製作所
作業機械および方法
5日前
株式会社小松製作所
作業機械および方法
5日前
株式会社小松製作所
発注システムおよび発注方法
7日前
株式会社小松製作所
発注システムおよび発注方法
7日前
株式会社小松製作所
作業車両および作業車両の制御方法
5日前
株式会社小松製作所
作業機械および作業機械の制御方法
5日前
株式会社小松製作所
油圧駆動システムおよび油圧駆動方法
6日前
株式会社小松製作所
作業車両の制御システム及び作業車両
5日前
株式会社小松製作所
システム、作業機械、および制御方法
5日前
株式会社小松製作所
作業機械システムおよび作業機械の制御方法
6日前
株式会社小松製作所
作業機械システムおよび作業機械の制御方法
6日前
株式会社小松製作所
作業機械の点検支援システム及び点検支援方法
5日前
株式会社小松製作所
散水システム、散水機械および散水装置の制御方法
7日前
株式会社小松製作所
散水システム、作業機械および散水装置の制御方法
7日前
株式会社小松製作所
作業機械、作業機械のシステムおよび作業機械の制御方法
7日前
株式会社小松製作所
作業機械、作業機械のシステムおよび作業機械の制御方法
7日前
株式会社小松製作所
認証情報表示システム、情報端末、及び認証情報表示方法
5日前
株式会社小松製作所
作業機械の暖房装置、および作業機械の暖房装置の制御方法
6日前
株式会社小松製作所
作業機械の表示システム、作業機械、及び作業機械の表示方法
7日前
株式会社小松製作所
表示制御装置、情報端末、表示制御方法、及び表示制御システム
5日前
株式会社小松製作所
作業機械、作業機械を含むシステム、および作業機械の制御方法
5日前
株式会社小松製作所
作業機械を含むシステム、作業機械、および作業機械の自動走行制御方法
5日前
株式会社小松製作所
作業機械の制御システム、作業機械、作業機械の遠隔操作システム、及び作業機械の制御方法
6日前
株式会社小松製作所
作業機械の制御システム、作業機械、作業機械の遠隔操作システム、及び作業機械の制御方法
6日前
株式会社小松製作所
作業機械の制御システム、作業機械、作業機械の遠隔操作システム、及び作業機械の制御方法
6日前
株式会社小松製作所
作業機械の制御システム、作業機械、作業機械の遠隔操作システム、及び作業機械の制御方法
6日前
株式会社小松製作所
作業機械の制御システム、作業機械、作業機械の遠隔操作システム、及び作業機械の制御方法
6日前
FKS株式会社
擁壁
16日前
鈴健興業株式会社
敷板部材
12日前
株式会社クボタ
作業車
14日前
株式会社クボタ
作業車
14日前
個人
擁壁用ブロックおよび擁壁
13日前
株式会社ネクステリア
平板基礎
12日前
株式会社大林組
建物の構造
13日前
続きを見る
他の特許を見る