TOP
|
特許
|
意匠
|
商標
特許ウォッチ
Twitter
他の特許を見る
公開番号
2025161082
公報種別
公開特許公報(A)
公開日
2025-10-24
出願番号
2024063981
出願日
2024-04-11
発明の名称
内燃機関の制御装置
出願人
トヨタ自動車株式会社
代理人
個人
,
個人
主分類
F01N
3/18 20060101AFI20251017BHJP(機械または機関一般;機関設備一般;蒸気機関)
要約
【課題】PM捕集装置が取り外されている状態である旨の異常判定を高い精度で行うことができる内燃機関の制御装置を提供する。
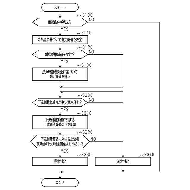
【解決手段】内燃機関の制御装置は、処理回路を備えている。処理回路は、内燃機関の始動後における、PM捕集装置の下流側排気温度から積算開始時点の下流側排気温度を引いた差の積算値である下流側積算値に対する、内燃機関の始動後におけるPM捕集装置の上流側排気温度から積算開始時点の上流側排気温度を引いた差の積算値である上流側積算値の比が外気温に基づいて設定される判定閾値よりも小さい場合に、PM捕集装置が取り外されている状態である旨の異常判定を行う異常診断処理を実行する(S310からS340)。処理回路は、内燃機関における点火時期遅角量が大きいほど、判定閾値が大きくなるように判定閾値を補正する補正処理を実行する(S130)。
【選択図】図4
特許請求の範囲
【請求項1】
排気通路にPM捕集装置が配設される車両に搭載された内燃機関に適用される内燃機関の制御装置であり、
前記排気通路における前記PM捕集装置よりも上流側の排気温度を示す上流側排気温度と、前記排気通路における前記PM捕集装置よりも下流側の排気温度を示す下流側排気温度と、を繰り返し取得し、前記内燃機関の始動後における前記上流側排気温度から積算開始時点の前記上流側排気温度を引いた差の積算値である上流側積算値と、前記内燃機関の始動後における前記下流側排気温度から前記積算開始時点の前記下流側排気温度を引いた差の積算値である下流側積算値と、を算出する積算値算出処理と、
前記内燃機関の始動後における判定期間において、前記下流側積算値に対する前記上流側積算値の比が外気温に基づいて設定される判定閾値よりも小さい場合に、前記PM捕集装置が取り外されている状態である旨の異常判定を行う異常診断処理と、
前記内燃機関における点火時期遅角量が大きいほど、前記判定閾値が大きくなるように前記判定閾値を補正する補正処理と、を実行する処理回路を備える
内燃機関の制御装置。
続きを表示(約 780 文字)
【請求項2】
前記排気通路には、前記PM捕集装置よりも上流側に排気浄化触媒が設けられ、
前記内燃機関において点火時期を遅角させることによる触媒暖機制御が行われている場合は、前記補正処理を実行し、前記内燃機関において点火時期を遅角させることによる前記触媒暖機制御が行われていない場合は、前記補正処理を実行しない
請求項1に記載の内燃機関の制御装置。
【請求項3】
排気通路にPM捕集装置が配設される車両に搭載された内燃機関に適用される内燃機関の制御装置であり、
前記排気通路における前記PM捕集装置よりも上流側の排気温度を示す上流側排気温度と、前記排気通路における前記PM捕集装置よりも下流側の排気温度を示す下流側排気温度と、を繰り返し取得し、前記内燃機関の始動後における前記上流側排気温度から積算開始時点の前記上流側排気温度を引いた差の積算値である上流側積算値と、前記内燃機関の始動後における前記下流側排気温度から前記積算開始時点の前記下流側排気温度を引いた差の積算値である下流側積算値と、を算出する積算値算出処理と、
前記内燃機関の始動後における判定期間において、前記下流側積算値に対する前記上流側積算値の比が判定閾値よりも小さい場合に、前記PM捕集装置が取り外されている状態である旨の異常判定を行う異常診断処理と、を実行する処理回路を備え、
前記処理回路は、前記内燃機関におけるエンジン水温が低いほど、前記判定閾値が小さくなるように前記判定閾値を設定する
内燃機関の制御装置。
【請求項4】
前記判定期間は、前記内燃機関が始動してから前記下流側排気温度が露点よりも高い判定温度以上になるまでの期間である
請求項1から3のいずれか一項に記載の内燃機関の制御装置。
発明の詳細な説明
【技術分野】
【0001】
この発明は内燃機関の制御装置に関するものである。
続きを表示(約 1,900 文字)
【背景技術】
【0002】
排気中の粒子状物質を捕集するPM捕集装置が、内燃機関の排気通路に配置される車両が知られている。PM捕集装置に導入される排気の熱は、PM捕集装置との熱交換によって消費される。その結果、排気通路において、PM捕集装置よりも上流側の排気温度の変化と、PM捕集装置よりも下流側の排気温度の変化には相違が生じる。
【0003】
特許文献1には、PM捕集装置が取り外されているか否かの取り外し診断を実施する内燃機関の制御装置が開示されている。特許文献1に開示されている制御装置は、PM捕集装置よりも上流側の排気温度と、PM捕集装置よりも下流側の排気温度とを用いて上流側の排気温度と下流側の排気温度との乖離の大きさを示す指標値を算出する。制御装置は、指標値が判定閾値よりも小さいことに基づいてPM捕集装置が取り外されていると判定する。
【先行技術文献】
【特許文献】
【0004】
特開2020-172942号公報
【発明の概要】
【発明が解決しようとする課題】
【0005】
一例として、外気温が低ければ、排気通路を流れる排気温度やPM捕集装置の温度は上昇しにくくなる。このように、PM捕集装置よりも上流側の排気温度、およびPM捕集装置よりも下流側の排気温度は、取り外しの判定を行うときの状況による影響を受ける。上流側の排気温度と下流側の排気温度との乖離の大きさを示す指標値を用いてPM捕集装置の取り外し判定を行う場合、正しく判定を行うためには、状況に応じた適切な判定閾値を設定する必要がある。
【課題を解決するための手段】
【0006】
上記課題を解決するための内燃機関の制御装置は、排気通路にPM捕集装置が配設される車両に搭載された内燃機関に適用される。前記制御装置は、前記排気通路における前記PM捕集装置よりも上流側の排気温度を示す上流側排気温度と、前記排気通路における前記PM捕集装置よりも下流側の排気温度を示す下流側排気温度と、を繰り返し取得し、前記内燃機関の始動後における前記上流側排気温度から積算開始時点の前記上流側排気温度を引いた差の積算値である上流側積算値と、前記内燃機関の始動後における前記下流側排気温度から前記積算開始時点の前記下流側排気温度を引いた差の積算値である下流側積算値と、を算出する積算値算出処理と、前記内燃機関の始動後における判定期間において、前記下流側積算値に対する前記上流側積算値の比が外気温に基づいて設定される判定閾値よりも小さい場合に、前記PM捕集装置が取り外されている状態である旨の異常判定を行う異常診断処理と、前記内燃機関における点火時期遅角量が大きいほど、前記判定閾値が大きくなるように前記判定閾値を補正する補正処理と、を実行する処理回路を備える。
【発明の効果】
【0007】
上記の制御装置は、外気温による影響のみならず、点火時期遅角量の違いによる影響も反映させることによって、高い精度で異常判定を行うことができる。
【図面の簡単な説明】
【0008】
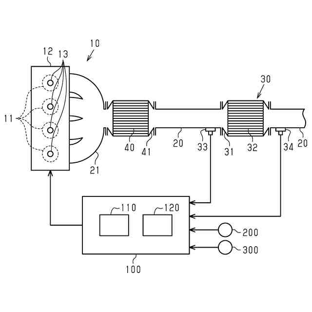
図1は、第1実施形態に係る内燃機関の制御装置と、この制御装置が適用される内燃機関と、を示す模式図である。
図2は、上流側排気温度および下流側排気温度の推移を示すグラフであって、(a)はPM捕集装置が取り付けられている場合を示し、(b)はPM捕集装置が取り外されている場合を示す。
図3は、エンジン水温ごとの点火時期遅角量の推移、および、排気温度の推移を示すグラフであって、(a)は点火時期遅角量の推移を示し、(b)は上流側排気温度および下流側排気温度の推移を示す。
図4は、第1実施形態に係る制御装置において実行される処理の流れを示すフローチャートである。
図5は、第2実施形態に係る制御装置において実行される処理の流れを示すフローチャートである。
【発明を実施するための形態】
【0009】
<第1実施形態>
内燃機関の制御装置の第1実施形態について、図1から図4を参照して説明する。
<内燃機関の構成>
図1は、本実施形態に係る内燃機関10、および、内燃機関10の制御装置100の概略構成図を示す。
【0010】
制御装置100は、内燃機関10に適用される。内燃機関10は、排気通路20にPM捕集装置30が配設される車両に搭載される。内燃機関10は、火花点火式のガソリンエンジンである。内燃機関10は、複数の気筒11を備える機関本体12を備える。
(【0011】以降は省略されています)
この特許をJ-PlatPat(特許庁公式サイト)で参照する
関連特許
株式会社三五
排気浄化装置
3日前
株式会社SUBARU
排気浄化装置
10日前
スズキ株式会社
内燃機関の制御装置
10日前
トヨタ自動車株式会社
エンジン
10日前
株式会社三五
ハイブリッド車の排気システム
19日前
トヨタ自動車株式会社
エンジン
18日前
トヨタ自動車株式会社
エンジン
19日前
株式会社ミクニ
二次空気供給システム
4日前
株式会社クボタ
多目的車両
1か月前
株式会社SUBARU
エンジン制御装置
1か月前
株式会社クボタ
多目的車両
1か月前
トヨタ自動車株式会社
油量判定装置
1か月前
トヨタ自動車株式会社
排気浄化装置
19日前
トヨタ自動車株式会社
異常診断装置
1か月前
トヨタ自動車株式会社
水素エンジン
1か月前
トヨタ自動車株式会社
車両装置
10日前
株式会社アイシン
冷却モジュール
1か月前
トヨタ自動車株式会社
内燃機関の制御装置
1か月前
トヨタ自動車株式会社
内燃機関の制御装置
1か月前
日産自動車株式会社
内燃機関
1か月前
本田技研工業株式会社
冷却液タンク
10日前
井関農機株式会社
エンジン
18日前
トヨタ自動車株式会社
オイルタンク
19日前
株式会社豊田自動織機
排気浄化装置
1か月前
株式会社三五
排気浄化装置
18日前
いすゞ自動車株式会社
排気処理装置
18日前
トヨタ自動車株式会社
過給機冷却システム
18日前
三菱自動車工業株式会社
オイルパン
1か月前
トヨタ自動車株式会社
車両の制御装置
1か月前
カナデビア株式会社
排ガス処理システム
1か月前
株式会社豊田自動織機
内燃機関の制御装置
1か月前
トヨタ自動車株式会社
冷却システム
1か月前
川崎重工業株式会社
多段ラジアルタービン
1か月前
トヨタ自動車株式会社
車両の制御装置
18日前
ダイハツインフィニアース株式会社
カバーユニット
3日前
ダイハツインフィニアース株式会社
エンジンフレーム
3日前
続きを見る
他の特許を見る