TOP
|
特許
|
意匠
|
商標
特許ウォッチ
Twitter
他の特許を見る
公開番号
2025164475
公報種別
公開特許公報(A)
公開日
2025-10-30
出願番号
2024068480
出願日
2024-04-19
発明の名称
異常診断装置
出願人
トヨタ自動車株式会社
代理人
個人
,
個人
主分類
F01M
13/00 20060101AFI20251023BHJP(機械または機関一般;機関設備一般;蒸気機関)
要約
【課題】診断の精度を向上できるようにすること。
【解決手段】内燃機関10は、過給器11が作動することによって吸入空気量が吸入空気量基準値以上になると、PCV圧力センサ35の検出値であるPCV圧センサ値が大気圧よりも低くなるように構成されている。異常診断装置50の処理回路51は、補正処理を吸入空気量に対して施すことによって補正吸入空気量を導出することと、過給器11が作動しており、且つ補正吸入空気量が吸入空気量基準値以上である状況下で補正吸入空気量が増大している場合に、PCV圧センサ値と大気圧との差分の大きさが大きいほど更新量が大きくなるように、判定パラメータを更新することと、判定パラメータとパラメータ閾値との比較に基づいて、ブローバイガス通路31におけるPCV圧力センサ35の接続部位よりも吸気通路24側の部分で異常が発生しているか否かを診断することと、を実行する。
【選択図】図1
特許請求の範囲
【請求項1】
過給器と、燃焼室からクランクケース内に漏出したブローバイガスを蓄積する蓄積部と、吸気通路における前記過給器のコンプレッサよりも上流の部分と前記蓄積部とを連通するブローバイガス通路と、前記ブローバイガス通路に接続されているとともに当該ブローバイガス通路の圧力を検出するPCV圧力センサと、を備えるとともに、前記過給器が作動することによって吸入空気量が吸入空気量基準値以上になると、前記PCV圧力センサの検出値であるPCV圧センサ値が大気圧よりも低くなるように構成された内燃機関に適用され、
処理回路を備え、
前記処理回路は、
吸入空気量の変化に対する前記PCV圧センサ値の変化の応答遅れに応じた補正処理を吸入空気量に対して施すことによって、当該応答遅れの時間分だけ、前記吸入空気量の変化の開始に対して変化の開始が遅れる補正吸入空気量を導出することと、
前記過給器が作動しており、且つ前記補正吸入空気量が前記吸入空気量基準値以上である状況下で当該補正吸入空気量が増大している場合に、前記PCV圧センサ値と大気圧との差分の大きさが大きいほど判定パラメータの更新量が大きくなるように、当該判定パラメータを更新することと、
前記判定パラメータと当該判定パラメータの閾値との比較に基づいて、前記ブローバイガス通路における前記PCV圧力センサの接続部位よりも前記吸気通路側の部分で異常が発生しているか否かを診断することと、を実行する
異常診断装置。
続きを表示(約 210 文字)
【請求項2】
前記応答遅れの度合いに応じた時間が遅延時間であり、
前記補正処理は、前記吸入空気量の推移を前記遅延時間だけ遅らせる処理である
請求項1に記載の異常診断装置。
【請求項3】
前記補正処理は、吸入空気量の変化をなますなまし処理であり、
前記なまし処理による吸入空気量のなまし度合いは、前記応答遅れの度合いに応じた度合いである
請求項1に記載の異常診断装置。
発明の詳細な説明
【技術分野】
【0001】
本発明は、燃焼室からクランクケース内に漏出したブローバイガスを吸気通路に還元させる機能を有する内燃機関に適用される異常診断装置に関する。
続きを表示(約 2,100 文字)
【背景技術】
【0002】
特許文献1に開示されている内燃機関は、ブローバイガスが蓄積する蓄積部と、蓄積部と吸気通路とを連通するブローバイガス通路と、ブローバイガス通路の圧力を検出する圧力センサと、を備えている。圧力センサの検出値をPCV圧センサ値という。ブローバイガス通路は、吸気通路のうち、過給器のコンプレッサよりも上流の部分に接続されている。こうした内燃機関にあっては、ブローバイガス通路が吸気通路に正常に接続されている場合、吸入空気量の変化とPCV圧センサ値の変化との間には相関性がある。例えば、吸入空気量が増大すると、PCV圧センサ値が減少する。
【0003】
そこで、上記内燃機関の制御装置は、吸入空気量が変化している場合に、PCV圧センサ値と大気圧との差分に基づいて、判定パラメータを導出する。制御装置は、判定パラメータと閾値との比較に基づいて、ブローバイガス通路のうち、圧力センサの接続部位よりも吸気通路側の部分でブローバイガスが外部に漏出する異常が発生しているか否かを診断する。
【先行技術文献】
【特許文献】
【0004】
特開2020-186702号公報
【発明の概要】
【発明が解決しようとする課題】
【0005】
圧力センサなどの各種検出系の位置及び形状などによって、吸入空気量の変化に対するPCV圧センサ値の変化の応答遅れが発生することがある。当該応答遅れの度合いによっては、上記の診断の精度が低下するおそれがある。
【課題を解決するための手段】
【0006】
上記課題を解決するための異常診断装置は、過給器と、燃焼室からクランクケース内に漏出したブローバイガスを蓄積する蓄積部と、吸気通路における前記過給器のコンプレッサよりも上流の部分と前記蓄積部とを連通するブローバイガス通路と、前記ブローバイガス通路に接続されているとともに当該ブローバイガス通路の圧力を検出するPCV圧力センサと、を備えるとともに、前記過給器が作動することによって吸入空気量が吸入空気量基準値以上になると、前記PCV圧力センサの検出値であるPCV圧センサ値が大気圧よりも低くなるように構成された内燃機関に適用される。当該異常診断装置は処理回路を備えている。前記処理回路は、吸入空気量の変化に対する前記PCV圧センサ値の変化の応答遅れに応じた補正処理を吸入空気量に対して施すことによって、当該応答遅れの時間分だけ、前記吸入空気量の変化の開始に対して変化の開始が遅れる補正吸入空気量を導出することと、前記過給器が作動しており、且つ前記補正吸入空気量が前記吸入空気量基準値以上である状況下で当該補正吸入空気量が増大している場合に、前記PCV圧センサ値と大気圧との差分の大きさが大きいほど判定パラメータの更新量が大きくなるように、当該判定パラメータを更新することと、前記判定パラメータと当該判定パラメータの閾値との比較に基づいて、前記ブローバイガス通路における前記PCV圧力センサの接続部位よりも前記吸気通路側の部分で異常が発生しているか否かを診断することと、を実行する。
【発明の効果】
【0007】
上記異常診断装置は、診断の精度を向上できるという効果を奏する。
【図面の簡単な説明】
【0008】
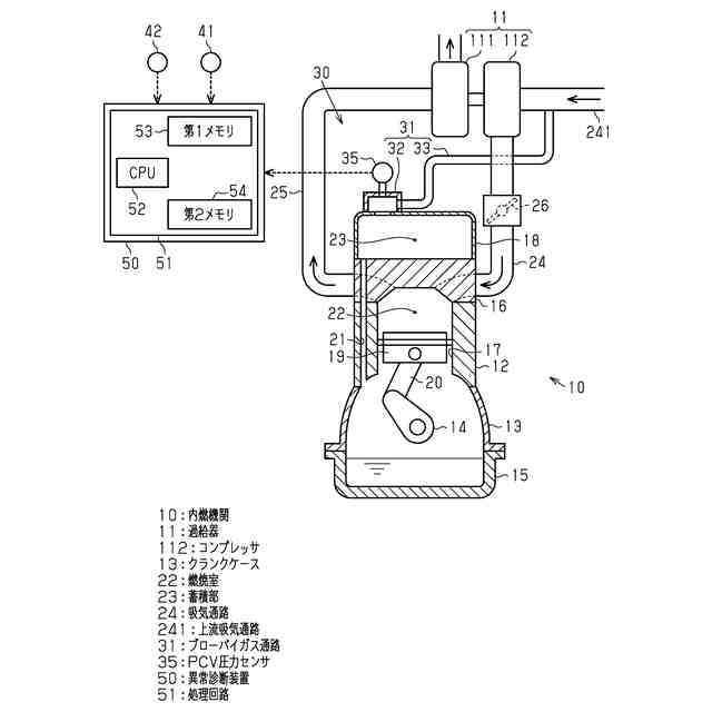
図1は、実施形態の異常診断装置を備える内燃機関の概略を示す構成図である。
図2は、過給器の作動によって過給が行われている場合における吸入空気量の推移とPCV圧センサ値の推移とを示す図である。
図3は、過給器の作動によって過給が行われている場合における補正吸入空気量の推移とPCV圧センサ値の推移とを示す図である。
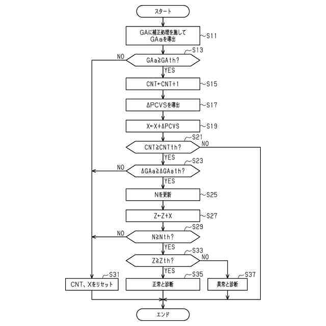
図4は、図1の異常診断装置が備える処理回路で実行される一連の処理を示すフローチャートである。
図5は、漏出異常が発生しているか否かを診断する際のタイミングチャートである。
図6は、異常診断装置の変更例において、過給器の作動によって過給が行われている場合における補正吸入空気量の推移とPCV圧センサ値の推移とを示す図である。
【発明を実施するための形態】
【0009】
以下、異常診断装置の一実施形態を図1~図5に従って説明する。
<内燃機関の構成>
図1は、異常診断装置50を備える内燃機関10を示している。内燃機関10は排気駆動式の過給器11を備えている。内燃機関10のシリンダブロック12の下部にはクランクケース13が取り付けられている。クランクケース13内にはクランク軸14が収容されている。クランクケース13の下部には、内燃機関10内を循環するオイルが貯留されるオイルパン15が取り付けられている。
【0010】
シリンダブロック12の上部にはシリンダヘッド16が取り付けられている。シリンダブロック12及びシリンダヘッド16により、複数の気筒17が区画されている。シリンダヘッド16の上部にはヘッドカバー18が取り付けられている。
(【0011】以降は省略されています)
この特許をJ-PlatPat(特許庁公式サイト)で参照する
関連特許
株式会社三五
排気浄化装置
3日前
株式会社SUBARU
排気浄化装置
10日前
スズキ株式会社
内燃機関の制御装置
10日前
トヨタ自動車株式会社
エンジン
18日前
トヨタ自動車株式会社
エンジン
19日前
トヨタ自動車株式会社
エンジン
10日前
株式会社三五
ハイブリッド車の排気システム
19日前
株式会社ミクニ
二次空気供給システム
4日前
株式会社SUBARU
エンジン制御装置
1か月前
トヨタ自動車株式会社
油量判定装置
1か月前
トヨタ自動車株式会社
異常診断装置
1か月前
トヨタ自動車株式会社
水素エンジン
1か月前
トヨタ自動車株式会社
排気浄化装置
19日前
トヨタ自動車株式会社
車両装置
10日前
株式会社アイシン
冷却モジュール
1か月前
日産自動車株式会社
内燃機関
1か月前
トヨタ自動車株式会社
内燃機関の制御装置
1か月前
トヨタ自動車株式会社
内燃機関の制御装置
1か月前
本田技研工業株式会社
冷却液タンク
10日前
トヨタ自動車株式会社
オイルタンク
19日前
井関農機株式会社
エンジン
18日前
株式会社三五
排気浄化装置
18日前
トヨタ自動車株式会社
過給機冷却システム
18日前
いすゞ自動車株式会社
排気処理装置
18日前
ダイハツインフィニアース株式会社
カバーユニット
3日前
カナデビア株式会社
排ガス処理システム
1か月前
株式会社豊田自動織機
内燃機関の制御装置
1か月前
川崎重工業株式会社
多段ラジアルタービン
1か月前
トヨタ自動車株式会社
車両の制御装置
18日前
トヨタ自動車株式会社
車両の制御装置
18日前
トヨタ自動車株式会社
車両の制御装置
18日前
スズキ株式会社
エンジンの排気浄化装置
26日前
ダイハツインフィニアース株式会社
エンジンフレーム
3日前
三菱重工業株式会社
蒸気タービンシステム
1か月前
トヨタ自動車株式会社
ウォーターポンプ制御装置
1か月前
三菱重工業株式会社
圧縮機の静翼セグメント、及び圧縮機
3日前
続きを見る
他の特許を見る