TOP
|
特許
|
意匠
|
商標
特許ウォッチ
Twitter
他の特許を見る
公開番号
2025159787
公報種別
公開特許公報(A)
公開日
2025-10-22
出願番号
2024062543
出願日
2024-04-09
発明の名称
塗工装置
出願人
トヨタ自動車株式会社
代理人
弁理士法人明成国際特許事務所
主分類
B05C
11/10 20060101AFI20251015BHJP(霧化または噴霧一般;液体または他の流動性材料の表面への適用一般)
要約
【課題】試し塗工を行うことなく良好な塗工を行うことのできる技術を提供する。
【解決手段】塗工装置は、塗工材料を収容するタンクと、塗工材料を吐出するダイヘッドと、タンクからダイヘッドまでの流路を構成する供給通路と、供給通路に容積変化を付与する容積変化装置と、ダイヘッドの内部空間の圧力を検出する圧力センサと、を有する塗工部と、塗工部の動作を制御する制御部と、を備える。制御部は、容積変化装置によって供給通路に容積変化を付与したときの圧力の変化から、ダイヘッドからの塗工材料の吐出の可否を判断し、吐出が可である場合に被塗工物に対する塗工材料の吐出を開始するように構成されている。
【選択図】図1
特許請求の範囲
【請求項1】
塗工材料を被塗工物に塗工する塗工装置であって、
前記塗工材料を収容するタンクと、前記塗工材料を吐出するダイヘッドと、前記タンクから前記ダイヘッドまでの流路を構成する供給通路と、前記供給通路に容積変化を付与する容積変化装置と、前記ダイヘッドの内部空間の圧力を検出する圧力センサと、を有する塗工部と、
前記塗工部の動作を制御する制御部と、
を備え、
前記制御部は、前記容積変化装置によって前記供給通路に容積変化を付与したときの前記圧力の変化から、前記ダイヘッドからの前記塗工材料の吐出の可否を判断し、前記吐出が可である場合に前記被塗工物に対する前記塗工材料の吐出を開始するように構成されている、塗工装置。
続きを表示(約 420 文字)
【請求項2】
請求項1に記載の塗工装置であって、
前記制御部は、前記吐出が不可である場合には、前記ダイヘッドの前記内部空間に存在する気泡を除去するための気泡除去処理を実行するように構成されている、塗工装置。
【請求項3】
請求項2に記載の塗工装置であって、
前記塗工部は、更に、前記ダイヘッドから前記タンクまでの流路を構成するヘッド用循環通路を備え、
前記制御部は、前記気泡除去処理として、前記ダイヘッドの前記内部空間に収容されている前記塗工材料を、前記ヘッド用循環通路を経由して前記タンクに戻す第1処理を実行可能に構成されている、塗工装置。
【請求項4】
請求項2に記載の塗工装置であって、
前記制御部は、前記気泡除去処理として、前記ダイヘッドの前記内部空間に収容されている前記塗工材料を、前記ダイヘッドから外部に吐出させる第2処理を実行可能に構成されている、塗工装置。
発明の詳細な説明
【技術分野】
【0001】
本開示は、塗工材料を被塗工物に塗工する塗工装置に関する。
続きを表示(約 2,400 文字)
【背景技術】
【0002】
特許文献1には、ダイヘッドから吐出される塗工材料に気泡が含まれることを抑えつつ、塗工材料を良好に吐出することができる塗工装置が開示されている。
【先行技術文献】
【特許文献】
【0003】
特開2023-133699号公報
【発明の概要】
【発明が解決しようとする課題】
【0004】
しかしながら、従来技術では、気泡を十分に除去することができずに、かなりの気泡を含んだ塗工材料がダイヘッドから吐出される恐れがある。塗工材料が多くの気泡を含む状態で塗工を行うと、塗工ムラが発生するので、気泡対策として塗工開始時に試し塗工を行う場合がある。しかし、試し塗工を行うと、余分な塗料を使用するという問題がある。そこで、試し塗工を行うことなく良好な塗工を行うことのできる技術が望まれている。
【課題を解決するための手段】
【0005】
(1)本開示の一形態によれば、塗工材料を被塗工物に塗工する塗工装置が提供される。この塗工装置は、前記塗工材料を収容するタンクと、前記塗工材料を吐出するダイヘッドと、前記タンクから前記ダイヘッドまでの流路を構成する供給通路と、前記供給通路に容積変化を付与する容積変化装置と、前記ダイヘッドの内部空間の圧力を検出する圧力センサと、を有する塗工部と、前記塗工部の動作を制御する制御部と、を備える。前記制御部は、前記容積変化装置によって前記供給通路に容積変化を付与したときの前記圧力の変化から、前記ダイヘッドからの前記塗工材料の吐出の可否を判断し、前記吐出が可である場合に前記被塗工物に対する前記塗工材料の吐出を開始するように構成されている。
この塗工装置によれば、塗工材料の供給通路内に容積変化を与えたときの圧力変化から、供給通路内の気泡の影響による吐出の可否を判断することができ、吐出が可能と判断した場合に被塗工物に対する塗工材料の吐出を実行できる。従って、試し塗工を行うことなく良好な塗工を行うことができる。
(2)上記塗工装置において、前記制御部は、前記吐出が不可である場合には、前記ダイヘッドの前記内部空間に存在する気泡を除去するための気泡除去処理を実行するように構成されているものとしてもよい。
この塗工装置によれば、ダイヘッドの内部空間に存在する気泡を除去することによって、吐出が可能な状態に復帰できる。
(3)上記塗工装置において、前記塗工部は、更に、前記ダイヘッドから前記タンクまでの流路を構成するヘッド用循環通路を備え、前記制御部は、前記気泡除去処理として、前記ダイヘッドの前記内部空間に収容されている前記塗工材料を、前記ヘッド用循環通路を経由して前記タンクに戻す第1処理を実行可能に構成されているものとしてもよい。
この塗工装置によれば、ダイヘッドの内部空間に収容されている塗工材料をタンクに戻すことによって、ダイヘッドの内部空間に存在していた気泡を除去できる。
(4)上記塗工装置において、前記制御部は、前記気泡除去処理として、前記ダイヘッドの前記内部空間に収容されている前記塗工材料を、前記ダイヘッドから外部に吐出させる第2処理を実行可能に構成されているものとしてもよい。
この塗工装置によれば、ダイヘッドの内部空間に収容されている塗工材料を外部に吐出することによって、ダイヘッドの内部空間に存在していた気泡を除去できる。
【図面の簡単な説明】
【0006】
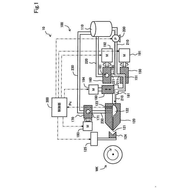
塗工装置の構成を示す模式図。
実施形態における塗工処理のフローチャート。
気泡が少ない状態におけるダイヘッド内部の圧力変化を示すグラフ。
気泡が多い状態におけるダイヘッド内部の圧力変化を示すグラフ。
【発明を実施するための形態】
【0007】
図1は、実施形態における塗工部100の構成を示す模式図である。塗工部100は、被塗工物WKに対する塗工材料の塗工を実行する塗工部100と、塗工部100を制御する制御部300とを有する。
【0008】
塗工部100は、液状またはペースト状の塗工材料を貯留するタンク110と、塗工材料を吐出するダイヘッド120と、タンク110からダイヘッド120までの流路を構成する第1配管210と、第1配管210から分岐してタンク110に接続する第2配管220と、を備えている。第1配管210と第2配管220との間には、分岐部190が設けられている。塗工部100は、更に、分岐部190とダイヘッド120の間に配置された塗工バルブ150と、第2配管220に配置された第1循環バルブ160と、を備えている。分岐部190とタンク110との間の第1配管210の部分には、ポンプ200が配置されている。ダイヘッド120と塗工バルブ150との間の第1配管210の部分には、容積変化装置としてのサックバックバルブ180が配置されている。
【0009】
ダイヘッド120とタンク110は、更に、ダイヘッド120からタンク110まの流路を構成する第3配管230によって接続されている。第3配管230には、第2循環バルブ170が配置されている。第3配管230は、ダイヘッド120から鉛直上方に延びるようにダイヘッド120の上面に接続されることが好ましい。
【0010】
図1では、塗工バルブ150と、第1循環バルブ160と、第2循環バルブ170と、サックバックバルブ180の動作方向が矢印で示されている。第1配管210は、本開示における「供給通路」に相当する。第3配管230は、本開示における「ヘッド用循環通路」に相当する。
(【0011】以降は省略されています)
この特許をJ-PlatPat(特許庁公式サイト)で参照する
関連特許
トヨタ自動車株式会社
車両
1か月前
トヨタ自動車株式会社
車両
1か月前
トヨタ自動車株式会社
電池
10日前
トヨタ自動車株式会社
電池
10日前
トヨタ自動車株式会社
車両
1か月前
トヨタ自動車株式会社
車両
1か月前
トヨタ自動車株式会社
方法
3日前
トヨタ自動車株式会社
電池
24日前
トヨタ自動車株式会社
方法
1か月前
トヨタ自動車株式会社
車両
1か月前
トヨタ自動車株式会社
車体
1か月前
トヨタ自動車株式会社
車両
18日前
トヨタ自動車株式会社
車両
1か月前
トヨタ自動車株式会社
車両
1か月前
トヨタ自動車株式会社
車両
1か月前
トヨタ自動車株式会社
方法
1か月前
トヨタ自動車株式会社
方法
1か月前
トヨタ自動車株式会社
方法
1か月前
トヨタ自動車株式会社
車両
1か月前
トヨタ自動車株式会社
車両
4日前
トヨタ自動車株式会社
方法
1か月前
トヨタ自動車株式会社
電池
1か月前
トヨタ自動車株式会社
配管
19日前
トヨタ自動車株式会社
治具
1か月前
トヨタ自動車株式会社
車体
1か月前
トヨタ自動車株式会社
電池
1か月前
トヨタ自動車株式会社
電池
18日前
トヨタ自動車株式会社
車両
1か月前
トヨタ自動車株式会社
電池
1か月前
トヨタ自動車株式会社
車両
19日前
トヨタ自動車株式会社
飛行体
1か月前
トヨタ自動車株式会社
モータ
1か月前
トヨタ自動車株式会社
電動機
1か月前
トヨタ自動車株式会社
モータ
1か月前
トヨタ自動車株式会社
サーバ
1か月前
トヨタ自動車株式会社
正極層
1か月前
続きを見る
他の特許を見る