TOP
|
特許
|
意匠
|
商標
特許ウォッチ
Twitter
他の特許を見る
公開番号
2025158768
公報種別
公開特許公報(A)
公開日
2025-10-17
出願番号
2024061634
出願日
2024-04-05
発明の名称
製造方法
出願人
トヨタ自動車株式会社
代理人
個人
,
個人
,
個人
,
個人
主分類
B64F
5/10 20170101AFI20251009BHJP(航空機;飛行;宇宙工学)
要約
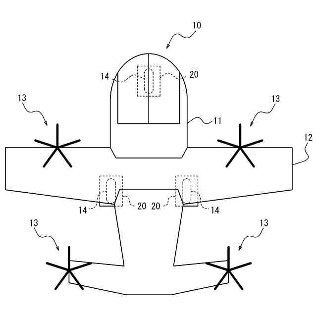
【課題】飛行体の製造プロセスの効率化を図る。
【解決手段】飛行体10の製造方法が、飛行体10を組み立てる組立て工程と、飛行体10の重量及び重心位置を重量センサ20により測定する測定工程とを含み、組立て工程の実施時から測定工程が開始される。
【選択図】図1
特許請求の範囲
【請求項1】
飛行体の製造方法であって、
前記飛行体を組み立てる組立て工程と、
前記飛行体の重量及び重心位置を重量センサにより測定する測定工程と
を含み、
前記組立て工程の実施時から前記測定工程が開始される製造方法。
発明の詳細な説明
【技術分野】
【0001】
本開示は、製造方法に関する。
続きを表示(約 780 文字)
【背景技術】
【0002】
特許文献1には、飛行体の工場の組立てラインが開示されている。
【先行技術文献】
【特許文献】
【0003】
特開2022-081433号公報
【発明の概要】
【発明が解決しようとする課題】
【0004】
従来は、飛行体の組立てが完了した後に飛行体の重量及び重心位置が測定されるため、飛行体の製造プロセスの効率が不十分である。
【0005】
本開示の目的は、飛行体の製造プロセスの効率化である。
【課題を解決するための手段】
【0006】
本開示に係る製造方法は、
飛行体の製造方法であって、
前記飛行体を組み立てる組立て工程と、
前記飛行体の重量及び重心位置を重量センサにより測定する測定工程と
を含み、
前記組立て工程の実施時から前記測定工程が開始される。
【発明の効果】
【0007】
本開示によれば、飛行体の製造プロセスの効率が向上する。
【図面の簡単な説明】
【0008】
本開示の実施形態に係る飛行体及び重量センサの概略平面図である。
本開示の実施形態に係る飛行体及び重量センサの概略正面図である。
本開示の実施形態に係る製造方法を示すフローチャートである。
【発明を実施するための形態】
【0009】
以下、本開示の一実施形態について、図を参照して説明する。
【0010】
各図中、同一又は相当する部分には、同一符号を付している。本実施形態の説明において、同一又は相当する部分については、説明を適宜省略又は簡略化する。
(【0011】以降は省略されています)
この特許をJ-PlatPat(特許庁公式サイト)で参照する
関連特許
トヨタ自動車株式会社
車両
17日前
トヨタ自動車株式会社
電池
3日前
トヨタ自動車株式会社
電池
13日前
トヨタ自動車株式会社
車両
10日前
トヨタ自動車株式会社
車両
3日前
トヨタ自動車株式会社
電池
12日前
トヨタ自動車株式会社
車両
5日前
トヨタ自動車株式会社
車両
11日前
トヨタ自動車株式会社
方法
6日前
トヨタ自動車株式会社
椅子
6日前
トヨタ自動車株式会社
方法
6日前
トヨタ自動車株式会社
電動車
17日前
トヨタ自動車株式会社
電動車
13日前
トヨタ自動車株式会社
電動車
6日前
トヨタ自動車株式会社
ケース
12日前
トヨタ自動車株式会社
加熱器
10日前
トヨタ自動車株式会社
飛行体
3日前
トヨタ自動車株式会社
電磁弁
6日前
トヨタ自動車株式会社
モータ
4日前
トヨタ自動車株式会社
電動車
17日前
トヨタ自動車株式会社
固定子
11日前
トヨタ自動車株式会社
電動車
17日前
トヨタ自動車株式会社
制御装置
12日前
トヨタ自動車株式会社
ロボット
13日前
トヨタ自動車株式会社
監視装置
11日前
トヨタ自動車株式会社
制御装置
10日前
トヨタ自動車株式会社
製造装置
11日前
トヨタ自動車株式会社
蓄電装置
12日前
トヨタ自動車株式会社
二次電池
11日前
トヨタ自動車株式会社
端末装置
3日前
トヨタ自動車株式会社
バッテリ
11日前
トヨタ自動車株式会社
判定装置
6日前
トヨタ自動車株式会社
路側装置
12日前
トヨタ自動車株式会社
塗工装置
11日前
トヨタ自動車株式会社
蓄電装置
10日前
トヨタ自動車株式会社
車載装置
10日前
続きを見る
他の特許を見る