TOP
|
特許
|
意匠
|
商標
特許ウォッチ
Twitter
他の特許を見る
10個以上の画像は省略されています。
公開番号
2025160587
公報種別
公開特許公報(A)
公開日
2025-10-23
出願番号
2024063207
出願日
2024-04-10
発明の名称
流路形成板、分割環、静翼、ガスタービン、及び流路形成板の製造方法
出願人
三菱重工業株式会社
代理人
個人
,
個人
,
個人
,
個人
,
個人
主分類
F01D
11/14 20060101AFI20251016BHJP(機械または機関一般;機関設備一般;蒸気機関)
要約
【課題】流路形成板が有するセラミックス層の損傷を抑える。
【解決手段】流路形成板は、母材と、前記母材の表面の一部に形成されているボンドコート層と、前記ボンドコート層の表面に形成されているセラミックス層と、を有する。前記母材は、本体と突出部とを有する。前記本体は、隣接品に近づく側である隣接側を向く本体側面と、前記隣接側を向き前記本体側面より前記流路側であって前記本体側面よりも離間側に位置する層形成側面と、を有する。前記突出部は、前記本体側面の反流路側の端から前記隣接側に突出している。前記突出部は、前記流路側を向く突出流路側面と、前記突出流路側面から前記反流路側に凹んでいる層形成凹部と、を有する。前記本体側面上には、前記セラミックス層が形成されていない。前記層形成凹部の底面上には、前記ボンドコート層と前記セラミックス層とのうち少なくとも前記ボンドコート層が形成されている。
【選択図】図7
特許請求の範囲
【請求項1】
燃焼ガスが流れる燃焼ガス流路の一部を画定する隣接品に隣接し、前記燃焼ガス流路の他の一部を画定する流路形成板において、
母材と、
前記母材の表面の一部に形成されている金属製のボンドコート層と、
前記ボンドコート層の表面に形成されているセラミックス層と、
を有し、
前記ボンドコート層と前記ボンドコート層上の前記セラミックス層とで遮熱層を形成し、
前記母材は、本体と突出部とを有し、
前記本体は、前記燃焼ガス流路に対する遠近方向で、前記燃焼ガス流路に近づく側である流路側と前記流路側の反対側である反流路側とのうち前記流路側を向く本体流路側面と、前記本体と前記隣接品とが並ぶ並び方向で、前記隣接品に近づく側である隣接側と前記隣接側の反対側である離間側とのうち前記隣接側を向く本体側面と、前記隣接側を向き前記本体側面より前記流路側であって前記本体側面よりも前記離間側に位置する層形成側面と、を有し、前記層形成側面における前記流路側の端が前記本体流路側面の前記隣接側の端に接続され、
前記突出部は、前記本体側面の前記反流路側の端から前記隣接側に突出し、
前記突出部は、前記流路側を向く突出流路側面と、前記突出流路側面から前記反流路側に凹んでいる層形成凹部と、を有し、
前記層形成凹部は、前記流路側を向く底面と、前記底面における前記隣接側の端から前記流路側に延びる第一溝側面と、前記底面における前記離間側の端から前記流路側に延びて前記本体側面につながる第二溝側面と、を有し、
前記本体流路側面上及び前記層形成側面上には、前記遮熱層が形成され、
前記本体側面上には、前記ボンドコート層と前記セラミックス層とのうち前記ボンドコート層のみが形成され、又は、前記ボンドコート層と前記セラミックス層との両方が形成されておらず、
前記層形成凹部の前記底面上には、前記ボンドコート層と前記セラミックス層とのうち少なくとも前記ボンドコート層が形成され、前記底面上に形成されている層中で最も前記流路側の位置は、前記遠近方向で前記突出流路側面よりも前記反流路側である、又は前記遠近方向で前記突出流路側面の位置である、
流路形成板。
続きを表示(約 2,400 文字)
【請求項2】
請求項1に記載の流路形成板において、
前記底面上に形成されている前記層中で最も前記流路側の位置は、前記遠近方向で前記突出流路側面の位置である、
流路形成板。
【請求項3】
請求項1に記載の流路形成板において、
前記層形成凹部の深さ寸法は、前記本体流路側面上の前記遮熱層の厚さ寸法より小さい、
流路形成板。
【請求項4】
請求項3に記載の流路形成板において、
前記層形成凹部の前記底面上には、前記セラミックス層が存在し、前記セラミックス層の厚さは、前記本体流路側面上の前記セラミックス層の厚さより薄い、
流路形成板。
【請求項5】
請求項1に記載の流路形成板において、
前記本体流路側面と前記層形成側面との角部の表面は、前記流路側に向かうに連れて次第に前記離間側に向かうよう、滑らかな曲面を成し、
前記曲面上の前記セラミックス層の厚さは、前記本体流路側面上の前記セラミックス層の厚さより薄い、
流路形成板。
【請求項6】
軸線に対する周方向に並んでいる複数の動翼の外周側に配置され、前記周方向に複数並び、燃焼ガスが流れる燃焼ガス流路の前記外周側に縁の一部を画定する分割環において、
前記分割環は、請求項1から5のいずれか一項に記載の流路形成板を成し、
前記流路形成板を成す前記分割環に、前記周方向における周方向第一側と周方向第二側とのうちの前記周方向第一側に隣接している他の分割環が、前記隣接品を成し、
前記遠近方向は、前記軸線に対する径方向であり、
前記並び方向は、前記周方向であり、
前記隣接側は、前記周方向第一側であり、
前記離間側は、前記周方向第二側である、
分割環。
【請求項7】
請求項6に記載の分割環において、
前記本体中で、前記離間側である前記周方向第二側の端を含む部分がオーバラップ部を成し、
前記本体側面は、前記周方向第一側を向く第一本体側面を成し、
前記層形成側面は、前記周方向第一側を向く第一層形成側面を成し、
前記オーバラップ部は、前記径方向における径方向内側と径方向外側とのうちの前記径方向外側を向き、前記突出流路側面よりも前記径方向内側に位置するオーバラップ反流路側面と、前記周方向第二側を向き、前記オーバラップ反流路側面の前記周方向第二側の端から前記径方向内側に向かって広がる第二本体側面と、前記周方向第二側を向き、前記第二本体側面よりも前記周方向第一側に位置する第二層形成側面と、を有し、前記第二層形成側面における前記径方向内側の端が前記本体流路側面の前記周方向第二側の端に接続され、
前記第二層形成側面上には、前記遮熱層が形成されている、
分割環。
【請求項8】
請求項7に記載の分割環において、
前記第一層形成側面で開口し、前記第一層形成側面から前記周方向第一側に冷却空気を噴出可能な第一側噴出通路と、前記第二層形成側面で開口し、前記第二層形成側面から前記周方向第二側に冷却空気を噴出可能な第二側噴出通路とのうち、いずれか一方の噴出通路を有する、
分割環。
【請求項9】
燃料を燃焼して燃焼ガスを生成可能な燃焼器に出口シールを介して接続され、前記出口シールと軸線が延びる軸線方向に並ぶ静翼において、
前記燃焼器からの前記燃焼ガスが流れる燃焼ガス流路内に配置され、前記軸線に対する垂直な断面が翼形を成し、前記軸線に対する径方向に延びる翼体と、
前記翼体の前記径方向における径方向内側と径方向外側とのうちの前記径方向内側の端に設けられ、前記燃焼ガス流路における前記径方向内側の縁の一部を画定する内側シュラウドと、
前記翼体の前記径方向外側の端に設けられ、前記燃焼ガス流路における前記径方向外側の縁の一部を画定する外側シュラウドと、
を備え、
前記内側シュラウドは、前記出口シールのうちの内側出口シールと外側出口シールとのうちの前記内側出口シールに対して、前記軸線方向における軸線上流側と軸線下流側とのうちの前記軸線下流側に隣接し、
前記外側シュラウドは、前記外側出口シールに対して、前記軸線下流側に隣接し、
前記内側シュラウド及び前記外側シュラウドは、いずれも、請求項1から5のいずれか一項に記載の流路形成板を成し、
前記内側出口シールが前記内側シュラウドに対する前記隣接品を成し、
前記外側出口シールが前記外側シュラウドに対する前記隣接品を成し、
前記遠近方向は、前記径方向であり、
前記並び方向は、前記軸線方向であり、
前記隣接側は、前記軸線上流側であり、
前記離間側は、前記軸線下流側である、
静翼。
【請求項10】
請求項1から5のいずれか一項に記載の流路形成板と、
軸線を中心として回転可能なガスタービンロータと、
前記流路形成板及び前記ガスタービンロータを覆うガスタービンケーシングと、
を備え、
前記ガスタービンロータは、前記軸線が延びる軸線方向に並んでいる複数の動翼列と、前記複数の動翼列が取り付けられ、前記軸線を中心として前記軸線方向に延びているロータ軸と、を有し、
前記燃焼ガス流路は、前記軸線を中心として、前記ロータ軸の外周側で環状を成して、前記軸線方向に延びている、前記ガスタービンケーシング内の空間である、
ガスタービン。
(【請求項11】以降は省略されています)
発明の詳細な説明
【技術分野】
【0001】
本開示は、燃焼ガスが流れる燃焼ガス流路の一部を画定する流路形成板、この流路形成板を含む分割環及び静翼、ガスタービン、流路形成板の製造方法に関する。
続きを表示(約 1,900 文字)
【背景技術】
【0002】
ガスタービンは、空気を圧縮して圧縮空気を生成する圧縮機と、圧縮空気中で燃料を燃焼させて燃焼ガスを生成する燃焼器と、燃焼ガスで駆動するタービンと、中間ケーシングと、を備える。圧縮機は、軸線を中心として回転する圧縮機ロータと、この圧縮機ロータを覆う圧縮機ケーシングと、を有する。燃焼器は、燃料を噴射するバーナと、燃料の燃焼で生成された燃焼ガスをタービンに送る尾筒(又は燃焼筒)と、を有する。タービンは、軸線を中心として回転するタービンロータと、このタービンロータを覆うタービンケーシングと、複数の静翼列と、を備える。タービンロータは、軸線を中心とするロータ軸と、ロータ軸に取り付けられている複数の動翼列と、を有する。複数の動翼列は、軸線が延びる軸線方向に並んでいる。各動翼列は、いずれも、軸線に対する周方向に並ぶ複数の動翼を有する。複数の静翼列は、軸線方向に並んで、タービンケーシングの内周側に取り付けられている。複数の静翼列のそれぞれは、複数の動翼列のうちのいずれか一の動翼列の軸線上流側に配置されている。各静翼列は、いずれも、軸線に対する周方向に並ぶ複数の静翼を有する。軸線方向における複数の静翼列の相互間の部分、つまり軸線方向でいずれかの動翼列が存在する部分の外周側には、周方向に並んでいる複数の分割環が配置されている。複数の分割環は、タービン内で燃焼ガスが流れる燃焼ガス流路の外周側の一部を画定する。
【0003】
圧縮機ケーシングとタービンケーシングとは、中間ケーシングを介して接続されている。燃焼器は、この中間ケーシングに取り付けられている。燃焼器の尾筒は、中間ケーシング内に配置されている。圧縮機から圧縮空気は、中間ケーシング内に吐出される。この圧縮空気は、燃焼器内に流入して、燃料の燃焼に用いられる。
【0004】
複数の静翼列のうち、最も軸線上流側の静翼列を構成する初段静翼のシュラウドと、尾筒の出口フランジとは、出口シール(又は燃焼筒シール)で接続されている。
【0005】
ガスタービンにおける以上の構成部品のうち、静翼のシュラウド及び分割環は、いずれも、燃焼ガス流路の一部を画定する流路形成板である。これらの流路形成板は、いずれも、高温の燃焼ガスに晒される高温部品である。
【0006】
以下の特許文献1には、流路形成板として、出口シールに隣接する初段静翼のシュラウドが開示されている。このシュラウドは、母材と、遮熱層と、有する。母材は、例えば、ニッケル基合金で形成されている。遮熱層は、例えば、以下の特許文献2に記載されているように、母材の表面の一部に形成されている金属製のボンドコート層と、ボンドコートの表面に形成されているセラミックス層と、を有する。
【0007】
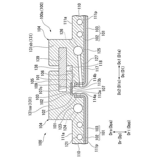
母材は、本体と突出部とを有する。本体は、本体流路側面と、本体側面とを有する。本体流路側面は、燃焼ガス流路に対する遠近方向で、燃焼ガス流路に近づく側である流路側と流路側の反対側である反流路側とのうち流路側を向く。本体側面は、母材と隣接品である出口シールとが並ぶ並び方向で、出口シールに近づく側である隣接側と、隣接側の反対側である離間側とのうち隣接側を向く。この本体側面の流路側の端は、本体流路側面の隣接側の端につながっている。突出部は、本体側面中で本体流路側面よりも反流路側の位置から隣接側に突出している。この突出部は、流路側を向く突出流路側面と、突出流路側面から反流路側凹む層形成凹部と、を有する。層形成凹部は、流路側を向く底面と、底面における隣接側の端から流路側に延びる第一溝側面と、底面における離間側の端から流路側に延びて本体側面につながる第二溝側面と、を有する。
【0008】
遮熱層は、本体流路側面上、本体側面上、層形成凹部の底面上にかけて、連続して形成されている。
【0009】
隣接品である出口シールは、シュラウドの突出部の流路側に位置するオーバラップ部を有する。このオーバラップ部は、流路形成板としてのシュラウドと、隣接品である出口シールとの間から、燃焼ガスの反流路側への流出を抑制する役目を担う。
【先行技術文献】
【特許文献】
【0010】
特開2021-131041号公報
特開2015-004132号公報
【発明の概要】
【発明が解決しようとする課題】
(【0011】以降は省略されています)
この特許をJ-PlatPat(特許庁公式サイト)で参照する
関連特許
三菱重工業株式会社
原子炉
5日前
三菱重工業株式会社
ボイラ壁
24日前
三菱重工業株式会社
施工方法
11日前
三菱重工業株式会社
燃焼筒の取付方法
24日前
三菱重工業株式会社
石膏脱水システム
11日前
三菱重工業株式会社
ガスタービン起動方法
20日前
三菱重工業株式会社
蒸気タービンシステム
20日前
三菱重工業株式会社
原子炉炉心および原子炉
5日前
三菱重工業株式会社
シール装置及び回転機械
10日前
三菱重工業株式会社
アンモニア除害システム
11日前
三菱重工業株式会社
ガス処理装置および方法
18日前
三菱重工業株式会社
軸流圧縮機、及びその動翼
12日前
三菱重工業株式会社
計測システムおよび計測方法
18日前
三菱重工業株式会社
レドックスフロー電池システム
24日前
三菱重工業株式会社
支持部材及び接着剤の監視方法
11日前
三菱重工業株式会社
水素吸蔵材料および原子力設備
19日前
三菱重工業株式会社
インバータ装置及びその保護方法
18日前
三菱重工業株式会社
電動ファンおよび電動垂直離着陸機
21日前
三菱重工業株式会社
インバータ基板及びインバータ装置
18日前
三菱重工業株式会社
燃料製造システム、及び燃料製造方法
13日前
三菱重工業株式会社
RPB装置及び酸性ガス回収システム
18日前
三菱重工業株式会社
圧縮機の静翼セグメント、及び圧縮機
11日前
三菱重工業株式会社
補修方法、プログラム、及び補修装置
12日前
三菱重工業株式会社
合流支援システム、および合流支援方法
13日前
三菱重工業株式会社
超音波探傷装置、および超音波探傷方法
10日前
三菱重工業株式会社
ガスタービン発電プラント、及びその運転方法
24日前
三菱重工業株式会社
静翼セグメント、及びこれを備える蒸気タービン
3日前
三菱重工業株式会社
水電解システム、及び水電解システムの運転方法
18日前
三菱重工業株式会社
触媒及びその製造方法、並びに炭化水素の製造方法
19日前
三菱重工業株式会社
制御装置、制御方法、監視システム及びプログラム
19日前
三菱重工業株式会社
二酸化炭素回収システム及び二酸化炭素回収システムの運転方法
12日前
三菱重工業株式会社
制御装置、ガスタービンの燃料供給設備、制御方法及びプログラム
21日前
三菱重工業株式会社
多ビーム位相差計測装置及びこれを備えたレーザビーム制御システム
18日前
三菱重工業株式会社
フォールトツリー作成方法、フォールトツリー作成装置およびプログラム
24日前
三菱重工業株式会社
レーザ照射装置、レーザ照射システム、レーザ照射方法、およびプログラム
10日前
三菱重工業株式会社
プラント制御支援装置、プラント制御支援方法、及び、プラント制御支援プログラム
11日前
続きを見る
他の特許を見る