TOP
|
特許
|
意匠
|
商標
特許ウォッチ
Twitter
他の特許を見る
10個以上の画像は省略されています。
公開番号
2025146069
公報種別
公開特許公報(A)
公開日
2025-10-03
出願番号
2024046656
出願日
2024-03-22
発明の名称
軌道系交通システム
出願人
三菱重工業株式会社
代理人
個人
,
個人
,
個人
,
個人
,
個人
主分類
B61B
13/00 20060101AFI20250926BHJP(鉄道)
要約
【課題】軌道を横切ることなく、利用者が駅へアクセスする。
【解決手段】軌道系交通システムは、走行輪が接触可能な走行路と、幅方向において前記走行輪に対して外側で、案内輪と接触して車両の進行する走行方向を案内するガイドレールと、を有する軌道、を備える。前記軌道は、前記走行路である第一走行路が配置され、前記第一走行路のみに面する駅を有する複数の単線駅区間と、前記第一走行路と、前記走行路であって、前記第一走行路と並行に配置されて前記第一走行路とは逆方向に前記車両に進行させる第二走行路とが配置された複線区間と、前記第一走行路と前記第二走行路とを繋いで前記車両の走行先を変更させる分岐路を有し、前記単線駅区間に隣接している分岐区間とを有し、前記案内輪は、前記車体に対して前記幅方向の一方のみに配置されている。
【選択図】図1
特許請求の範囲
【請求項1】
車体、走行輪、及び案内輪を有する車両と、
前記走行輪が接触可能な走行路と、前記車両の幅方向において前記走行輪に対して外側で、前記案内輪と接触して前記車両の進行する走行方向を案内するガイドレールと、を有する軌道と、を備え、
前記軌道は、
前記走行路である第一走行路が配置され、前記第一走行路のみに面する駅を有する複数の単線駅区間と、
前記第一走行路と、前記走行路であって、前記第一走行路と並行に配置されて前記第一走行路とは逆方向に前記車両に進行させる第二走行路とが配置された複線区間と、
前記第一走行路と前記第二走行路とを繋いで前記車両の走行先を変更させる分岐路を有し、前記単線駅区間に隣接している分岐区間とを有し、
前記案内輪は、前記車体に対して前記幅方向の一方のみに配置されている軌道系交通システム。
続きを表示(約 1,600 文字)
【請求項2】
前記軌道では、前記車両として、互いに逆方向に走行する第一車両及び第二車両が走行し、
前記第一車両は、前記複線区間を含めて、前記第一走行路のみを走行し、
前記第二車両は、前記単線駅区間では前記第一走行路を走行し、前記複線区間では前記第二走行路を走行する請求項1に記載の軌道系交通システム。
【請求項3】
前記ガイドレールは、
前記幅方向において、前記第二走行路に対して遠い位置で前記第一走行路に沿って延びる第一ガイドレールと、
前記幅方向において、前記第一走行路に対して遠い位置で前記第二走行路に沿って延びる第二ガイドレールと、を有し、
前記単線駅区間では、前記第一走行路に前記第一ガイドレール及び前記第二ガイドレールの両方が配置され、
前記複線区間では、前記第一走行路に前記第一ガイドレールのみが配置され、前記第二走行路に前記第二ガイドレールのみが配置され、
前記第一ガイドレール及び前記第二ガイドレールは、前記単線駅区間、前記分岐区間、及び前記複線区間にわたって連続して延びている請求項1又は2に記載の軌道系交通システム。
【請求項4】
前記案内輪は、前記ガイドレールの前記幅方向の外側の面に接触可能な外側案内輪と、前記ガイドレールの前記幅方向の内側の面に接触可能な内側案内輪と、を有する請求項1又は2に記載の軌道系交通システム。
【請求項5】
前記車体に固定されて前記幅方向に延びる案内枠と、
前記幅方向における前記案内枠の端部に対して着脱可能とされ、前記外側案内輪及び前記内側案内輪が取り付けられた案内輪受とをさらに備える請求項4に記載の軌道系交通システム。
【請求項6】
前記外側案内輪及び前記内側案内輪と前記案内輪受とを固定する案内輪固定部をさらに備え、
前記案内輪固定部は、
前記外側案内輪及び前記内側案内輪が両端にそれぞれ支持されたリンク部と、
前記案内輪受に対して鉛直方向に延びる軸周りに前記リンク部を回転可能に支持するリンク回転軸と、
前記案内輪受に対して前記リンク部を固定する位置固定部とを有し、
前記鉛直方向から見た際に、前記外側案内輪及び前記内側案内輪は、前記リンク回転軸を中心として前記走行方向にずれて配置されている請求項5に記載の軌道系交通システム。
【請求項7】
前記位置固定部は、
前記案内輪受に形成された受貫通孔と、
前記リンク部に形成されたリンク貫通孔と、
前記受貫通孔及び前記リンク貫通孔に外筒部が圧入された弾性部材と、
前記弾性部材の内側に挿入されたピン部材とを有する請求項6に記載の軌道系交通システム。
【請求項8】
前記受貫通孔は、前記リンク回転軸を基準とする径方向に離れた位置で、前記リンク回転軸を中心とする周方向に離れて複数形成されている請求項7に記載の軌道系交通システム。
【請求項9】
前記案内枠は、前記幅方向における両端に前記案内輪受が着脱可能とされ、
前記車両は、前記車体に対して前後の両方へ進行可能とされている請求項5に記載の軌道系交通システム。
【請求項10】
前記軌道は、
前記第一車両を前記複線区間に対して車庫から本線へ進入又は本線から車庫へ退出させる第一出入部と、
前記第二車両を前記複線区間に対して車庫から本線へ進入又は本線から車庫へ退出させる第二出入部と、をさらに備え、
前記第一出入部は、前記複線区間において前記第一走行路と接続され、
前記第二出入部は、前記複線区間において前記第二走行路と接続されている請求項2に記載の軌道系交通システム。
(【請求項11】以降は省略されています)
発明の詳細な説明
【技術分野】
【0001】
本開示は、軌道系交通システムに関する。
続きを表示(約 2,200 文字)
【背景技術】
【0002】
バスや鉄道以外の新たな交通手段として、ゴムタイヤを装着した走行輪によって軌道を走行する軌道系交通システムが知られている。軌道系交通システムには、車両の側方に案内輪が配置された側方案内式の軌道系交通システムや、車両の中央に案内輪が配置された中央案内式の軌道系交通システムがある。
【0003】
例えば、特許文献1には、二つのターミナル間に、中央の二本の分岐軌道部と、分岐軌道部を挟む一対の共通軌道部とを備えた交通システムが記載されている。この交通システムでは、車両の両端部に備えられた主案内輪に接触する主案内レールが軌道に配置されている。また、分岐軌道部と共通軌道部との間の分岐部には車両の片側のみに配置された副案内輪に接触する副案内レールが配置されている。車両は、副案内レールに副案内輪が接触することで、一方の分岐軌道部に案内されている。
【先行技術文献】
【特許文献】
【0004】
特開昭62-286869号公報
【発明の概要】
【発明が解決しようとする課題】
【0005】
ところで、軌道系交通システムでは、コスト削減の観点からは、高架とせず、道路上に軌道を敷設することが望ましい。一方で、道路上に軌道を敷設した場合には、駅は、高架にされることなく、道路と同じレベルで設置されている。このような軌道において、駅が道路に対して軌道を挟んで反対側に配置されている場合、利用者が駅にアクセスするための高架橋や地下道を設置することがある。しかしながら、高架橋や地下道を設置した場合には、建設費が高額になる虞がある。また、高架橋や地下道を設置しない場合には、軌道を横切るために、信号設備や踏切等が必要となる。しかしながら、信号設備や踏切等を設置した場合には、コストが上昇するだけでなく、信号や踏切が不定期に作動した場合、車両が停止することになり、車両の輸送量が低下する可能性がある。さらに、高架橋や地下道や信号設備や踏切等が設置されている場合には、高齢者や障害者等には、駅へのアクセスへの障害となる虞もある。したがって、高架橋や地下道や信号設備や踏切等を設置することなく、駅へアクセス可能な構造が望まれている。
【0006】
本開示は、上記要求を解決するためになされたものであって、軌道を横切ることなく、利用者が駅へアクセス可能な軌道系交通システムを提供することを目的とする。
【課題を解決するための手段】
【0007】
上記課題を解決するために、本開示に係る軌道系交通システムは、車体、走行輪、及び案内輪を有する車両と、前記走行輪が接触可能な走行路と、前記車両の幅方向において前記走行輪に対して外側で、前記案内輪と接触して前記車両の進行する走行方向を案内するガイドレールと、を有する軌道と、を備え、前記軌道は、前記走行路である第一走行路が配置され、前記第一走行路のみに面する駅を有する複数の単線駅区間と、前記第一走行路と、前記走行路であって、前記第一走行路と並行に配置されて前記第一走行路とは逆方向に前記車両に進行させる第二走行路とが配置された複線区間と、前記第一走行路と前記第二走行路とを繋いで前記車両の走行先を変更させる分岐路を有し、前記単線駅区間に隣接している分岐区間とを有し、前記案内輪は、前記車体に対して前記幅方向の一方のみに配置されている。
【発明の効果】
【0008】
本開示の軌道系交通システムによれば、軌道を横切ることなく、利用者が駅へアクセスできる。
【図面の簡単な説明】
【0009】
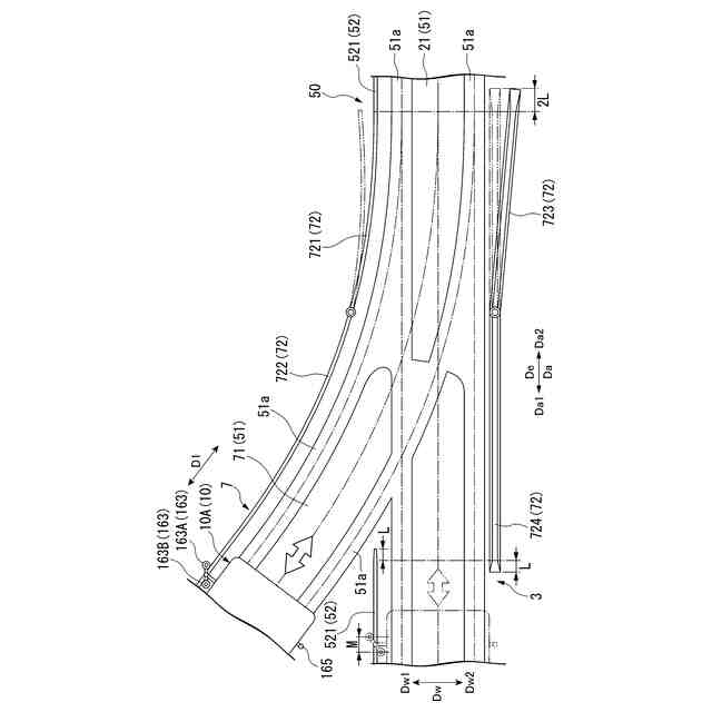
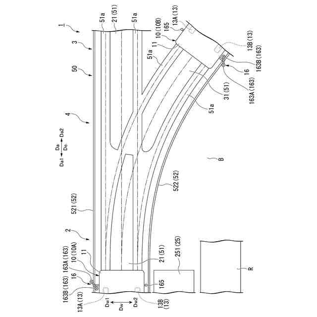
第一実施形態に係る軌道系交通システムの構成を示す平面図である。
第一実施形態に係る軌道系交通システムの車両の構成を示す模式断面図である。
第一実施形態に係る軌道系交通システムの軌道線形を示す模式図である。
本実施形態に係る案内輪構成部の構造を詳述する拡大図である。
第一実施形態に係る軌道を詳述する拡大図であって、第一走行路を走行する車両の様子を示す拡大図である。
第一実施形態に係る軌道を詳述する拡大図であって、第二走行路を走行する車両の様子を示す拡大図である。
本実施形態に係る軌道のセンサ及び制御部を示す模式図である。
本実施形態に係る制御部での第一車両及び第二車両の制御方法を示すフロー図である。
本実施形態に係る車庫-本線間の第一出入部を詳述する拡大図である。
第一実施形態に係る第一出入部(第二出入部)の構成を示す模式断面図である。
本実施形態に係る車庫-本線間の第二出入部を詳述する拡大図である。
第二実施形態に係る軌道のセンサを示す模式図である。
第三実施形態に係る軌道系交通システムの軌道線形を示す模式図である。
第四実施形態に係る軌道系交通システムの軌道線形を示す模式図である。
【発明を実施するための形態】
【0010】
<第一実施形態>
以下、添付図面を参照して、本開示による軌道系交通システム1を実施するための形態の一つである第一実施形態を説明する。しかし、本開示はこの第一実施形態のみに限定されるものではない。
(【0011】以降は省略されています)
この特許をJ-PlatPat(特許庁公式サイト)で参照する
関連特許
日本信号株式会社
検査装置
9か月前
日本信号株式会社
ホーム柵
1か月前
日本信号株式会社
ホーム柵
1か月前
個人
車両及び走行システム
5か月前
近畿車輌株式会社
耐火床構造
4日前
日本信号株式会社
ホーム柵装置
6か月前
カヤバ株式会社
鉄道車両用制振装置
9か月前
近畿車輌株式会社
鉄道車両の床構造
10か月前
近畿車輌株式会社
鉄道車両の床構造
10か月前
近畿車輌株式会社
鉄道車両の床構造
10か月前
日本信号株式会社
列車接近警報装置
1か月前
ナブテスコ株式会社
ホームドア装置
1か月前
日本車輌製造株式会社
台車組立装置
4か月前
保線機器整備株式会社
保線用カート
7か月前
川崎車両株式会社
鉄道車両用パネル
7か月前
日本信号株式会社
ホームドア制御装置
2か月前
株式会社ダイフク
搬送車
4か月前
日本信号株式会社
物体検知装置
5か月前
日本信号株式会社
踏切道監視システム
10か月前
日本信号株式会社
ホーム安全システム
6か月前
日本ケーブル株式会社
索道の支索引留め装置
2か月前
株式会社東芝
台車搬送装置
今日
シャープ株式会社
表示装置
11か月前
前川鉄工株式会社
ロープ駆動装置
11か月前
ヤマハ発動機株式会社
無人搬送車
6か月前
ヤマハ発動機株式会社
無人搬送車
4か月前
株式会社ダイフク
搬送設備
5か月前
ヤマハ発動機株式会社
無人搬送車
6か月前
株式会社日立製作所
鉄道車両
8日前
ヤマハ発動機株式会社
無人搬送車
6か月前
日本製鉄株式会社
鉄道車両
7か月前
ナブテスコ株式会社
ホームドア装置
11か月前
日本製鉄株式会社
鉄道車両
7か月前
オークラ輸送機株式会社
無人搬送車
4日前
日本信号株式会社
自動列車運転装置
1か月前
日本車輌製造株式会社
車両用ヒップレスト
1か月前
続きを見る
他の特許を見る