TOP
|
特許
|
意匠
|
商標
特許ウォッチ
Twitter
他の特許を見る
公開番号
2025154300
公報種別
公開特許公報(A)
公開日
2025-10-10
出願番号
2024057217
出願日
2024-03-29
発明の名称
バーナ及びこれを備えたボイラ
出願人
三菱重工業株式会社
代理人
個人
,
個人
,
個人
主分類
F23D
11/02 20060101AFI20251002BHJP(燃焼装置;燃焼方法)
要約
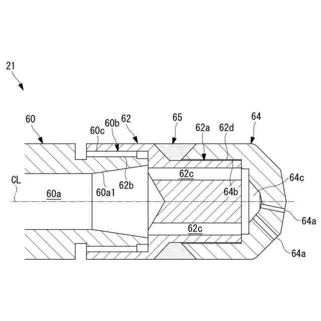
【課題】液化ガス燃料のリークを抑制することができるバーナを提供する。
【解決手段】バーナ21は、液化アンモニア燃料が流通する主流路60aを備えたバーナ本体60と、バーナ本体60の先端部60bの周囲を覆うように接続され、バーナ本体60から導かれた液化アンモニア燃料が流通する分岐流路62cが形成されたノズル金物62と、ノズル金物62の先端部62aの周囲を覆うように接続され、ノズル金物62から導かれた液化アンモニア燃料を噴射する噴射孔64aが形成されたチップ64と、を備え、ノズル金物62とチップ64とは、溶接部65によって液密に接続されている。
【選択図】図2
特許請求の範囲
【請求項1】
液化ガス燃料が流通する流路を備えたバーナ本体と、
前記バーナ本体の先端部の周囲を覆うように接続され、前記バーナ本体から導かれた液化ガス燃料が流通する流路が形成されたノズル金物と、
前記ノズル金物の先端部の周囲を覆うように接続され、前記ノズル金物から導かれた液化ガス燃料を噴射する噴射孔が形成されたチップと、
を備え、
前記ノズル金物と前記チップとは、溶接部によって液密に接続されているバーナ。
続きを表示(約 110 文字)
【請求項2】
前記バーナ本体と前記ノズル金物とは、前記バーナ本体の先端部に設けられたネジ部によって接続されている請求項1に記載のバーナ。
【請求項3】
請求項1又は2のバーナを備えたボイラ。
発明の詳細な説明
【技術分野】
【0001】
本開示は、例えば液体アンモニア燃料等の液化ガス燃料を燃焼させるバーナ及びこれを備えたボイラに関するものである。
続きを表示(約 1,100 文字)
【背景技術】
【0002】
発電用ボイラなどの大型のボイラは、中空形状をなして鉛直方向に設置される火炉を有し、この火炉壁に複数のバーナが火炉の壁面に配設されている。また、大型のボイラは、火炉の鉛直方向上方に煙道が連結されており、この煙道に蒸気を生成するための熱交換器が配置されている。そして、バーナが火炉内に燃料と空気(酸化性ガス)との混合気を噴射することで火炎が形成され、燃焼ガスが生成されて煙道に流れる。燃焼ガスが流れる領域に熱交換器が設置され、熱交換器を構成する伝熱管内を流れる水や蒸気を加熱して過熱蒸気が生成される。
【0003】
ボイラに用いられるバーナとして、微粉炭とアンモニア燃料とを混焼させ、又は、微粉炭の専焼およびアンモニア燃料の専焼を行うことが検討されている(例えば特許文献1)。
【先行技術文献】
【特許文献】
【0004】
特開2020-41748号公報
【発明の概要】
【発明が解決しようとする課題】
【0005】
特許文献1に記載されたバーナは、気化されたアンモニアガスを燃焼するものであり、アンモニアを液体の状態で噴射することを想定していない。
【0006】
アンモニアを液体の状態で噴射するバーナとする場合、燃料を噴射する噴射孔が形成されたバーナチップ(チップ)は、液化アンモニアの液体温度及び気化熱により冷却される。一方、チップをバーナ本体に取り付けるためのノズル金物は火炎により温度上昇するため、チップとノズル金物の熱伸び差により液体アンモニア燃料がリークする可能性がある。
【0007】
本開示は、このような事情に鑑みてなされたものであって、液化ガス燃料のリークを抑制することができるバーナ及びこれを備えたボイラを提供することを目的とする。
【課題を解決するための手段】
【0008】
本開示の一態様に係るバーナは、液化ガス燃料が流通する流路を備えたバーナ本体と、前記バーナ本体の先端部の周囲を覆うように接続され、前記バーナ本体から導かれた液化ガス燃料が流通する流路が形成されたノズル金物と、前記ノズル金物の先端部の周囲を覆うように接続され、前記ノズル金物から導かれた液化ガス燃料を噴射する噴射孔が形成されたチップと、を備え、前記ノズル金物と前記チップとは、溶接部によって液密に接続されている。
【0009】
本開示の一態様に係るボイラは、上記のバーナを備えている。
【発明の効果】
【0010】
液化ガス燃料のリークを抑制することができる。
【図面の簡単な説明】
(【0011】以降は省略されています)
この特許をJ-PlatPat(特許庁公式サイト)で参照する
関連特許
三菱重工業株式会社
原子炉
18日前
三菱重工業株式会社
ボイラ壁
1か月前
三菱重工業株式会社
加熱装置
1か月前
三菱重工業株式会社
動力装置
1か月前
三菱重工業株式会社
施工方法
24日前
三菱重工業株式会社
遠心圧縮機
2日前
三菱重工業株式会社
皮膜形成装置
1か月前
三菱重工業株式会社
ポンプシステム
1か月前
三菱重工業株式会社
超音波探傷方法
1か月前
三菱重工業株式会社
原子力システム
3日前
三菱重工業株式会社
バッテリ交換装置
1か月前
三菱重工業株式会社
燃焼筒の取付方法
1か月前
三菱重工業株式会社
石膏脱水システム
24日前
三菱重工業株式会社
洗浄水噴射ノズル
1か月前
三菱重工業株式会社
メタン酸化触媒装置
1か月前
三菱重工業株式会社
ガスタービン制御方法
1か月前
三菱重工業株式会社
蒸気タービンシステム
1か月前
三菱重工業株式会社
ガスタービン起動方法
1か月前
三菱重工業株式会社
燃焼設備および制御方法
1か月前
三菱重工業株式会社
炭化炉及びその制御方法
1か月前
三菱重工業株式会社
アンモニア除害システム
24日前
三菱重工業株式会社
シール装置及び回転機械
23日前
三菱重工業株式会社
ガス処理装置および方法
1か月前
三菱重工業株式会社
デジタル入力モジュール
1か月前
三菱重工業株式会社
評価装置および評価方法
3日前
三菱重工業株式会社
原子炉炉心および原子炉
18日前
三菱重工業株式会社
電解セル、及び電解装置
1か月前
三菱重工業株式会社
シール装置および回転機械
1か月前
三菱重工業株式会社
軸流圧縮機、及びその動翼
25日前
三菱重工業株式会社
計測システムおよび計測方法
1か月前
三菱重工業株式会社
支持部材及び接着剤の監視方法
24日前
三菱重工業株式会社
レドックスフロー電池システム
1か月前
三菱重工業株式会社
水素吸蔵材料および原子力設備
1か月前
三菱重工業株式会社
バーナ及びこれを備えたボイラ
1か月前
三菱重工業株式会社
バーナ及びこれを備えたボイラ
1か月前
三菱重工業株式会社
インバータ装置及びその保護方法
1か月前
続きを見る
他の特許を見る