TOP
|
特許
|
意匠
|
商標
特許ウォッチ
Twitter
他の特許を見る
公開番号
2025158220
公報種別
公開特許公報(A)
公開日
2025-10-17
出願番号
2024060558
出願日
2024-04-04
発明の名称
ガスタービン制御方法
出願人
三菱重工業株式会社
代理人
SSIP弁理士法人
主分類
F02C
9/34 20060101AFI20251009BHJP(燃焼機関;熱ガスまたは燃焼生成物を利用する機関設備)
要約
【課題】燃料供給がされない燃料供給ラインにおけるドレン滞留を低コストで解消する。
【解決手段】本願は、燃料供給系統から供給される燃料を、予混合方式で燃焼するための予混合燃料として噴射するための予混合燃料噴射孔、及び、拡散方式で燃焼するための拡散燃料として噴射するための拡散燃料噴射孔を有する燃料噴射ノズルを含む燃焼器を備えるガスタービンを制御するための方法に関する。本方法では、ガスタービンの負荷が第1負荷以下である低負荷運転領域において、予混合燃料噴射孔に対して第1流量で予混合燃料を供給するとともに、拡散燃料噴射孔に対して第1流量より大きい第2流量で前記拡散燃料を供給する。
【選択図】図4
特許請求の範囲
【請求項1】
燃料供給系統から供給される燃料を、予混合方式で燃焼するための予混合燃料として噴射するための予混合燃料噴射孔、及び、拡散方式で燃焼するための拡散燃料として噴射するための拡散燃料噴射孔を有する燃料噴射ノズルを含む燃焼器を備えるガスタービンを制御するためのガスタービン制御方法であって、
前記ガスタービンの負荷が第1負荷以下である低負荷運転領域において、前記予混合燃料噴射孔に対して第1流量で前記予混合燃料を供給するとともに、前記拡散燃料噴射孔に対して前記第1流量より大きい第2流量で前記拡散燃料を供給する、ガスタービン制御方法。
続きを表示(約 720 文字)
【請求項2】
前記低負荷運転領域は、前記ガスタービンの負荷が前記第1負荷以下である状態が所定期間以上継続される運転領域として規定される、請求項1に記載のガスタービン制御方法。
【請求項3】
前記低負荷運転領域は、前記ガスタービンの負荷が時間経過に伴って減少する運転領域として規定される、請求項1又は2に記載のガスタービン制御方法。
【請求項4】
前記第1負荷は、前記ガスタービンの定格負荷の30~40%の間に設定される、請求項1又は2に記載のガスタービン制御方法。
【請求項5】
前記第1流量は、前記燃料供給系統から前記燃焼器に供給される前記燃料の総流量の3%以下である、請求項1又は2に記載のガスタービン制御方法。
【請求項6】
前記ガスタービンの負荷が前記第1負荷より小さい第2負荷以下である場合、前記予混合燃料噴射孔に対する前記予混合燃料の供給を停止する、請求項1又は2に記載のガスタービン制御方法。
【請求項7】
前記第2負荷は、前記ガスタービンの定格負荷の20~30%の間に設定される、請求項6に記載のガスタービン制御方法。
【請求項8】
前記燃料噴射ノズルは、メインノズルによる燃焼の火種として用いられる火炎を形成するためのパイロットノズルである、請求項1又は2に記載のガスタービン制御方法。
【請求項9】
前記ガスタービンは、排熱回収ボイラ、及び、前記排熱回収ボイラによって発生した蒸気により駆動される蒸気タービンとともにコンバインドサイクルプラントを構成する、請求項1又は2に記載のガスタービン制御方法。
発明の詳細な説明
【技術分野】
【0001】
本開示は、ガスタービン制御方法に関する。
続きを表示(約 1,700 文字)
【背景技術】
【0002】
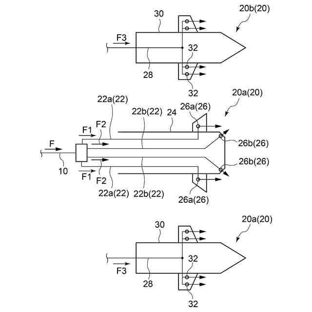
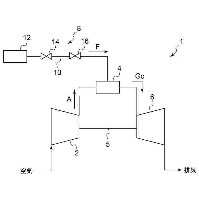
ガスタービンは、燃焼器によって生成された燃焼ガスを用いてタービンを駆動することにより動力を得ることができる。燃焼器は、燃料供給系統から供給された燃料を燃焼するために、燃焼室に対して燃料を噴射するための燃料噴射ノズルを有する。燃焼器が備える燃料噴射ノズルには、典型的には、パイロットノズル及びメインノズルが含まれる。パイロットノズルでは噴射した燃料を燃焼することで、メインノズルによる燃焼の種火となる火炎を得ることができる。
【0003】
これらの燃料噴射ノズルには、燃料供給系統から燃料供給ラインを介して供給される燃料を噴射するための複数の燃料噴射孔が設けられるが、用途に応じて異なる種類の燃料噴射孔を有する場合には、各燃料噴射孔に対して、燃料供給ラインを介して供給される燃料を分岐して独立的に供給可能な構成が用いられることがある。例えば、例えば燃料噴射ノズルの一種であるパイロットノズルでは、予混合方式で燃焼させるための予混合燃料を噴射するための予混合燃料噴射孔と、拡散方式で燃焼させるための拡散燃料を噴射するための拡散燃料噴射孔とを有するものがある。この場合、燃料供給系統からの燃料は、予混合燃料噴射孔には予混合燃料として分岐して供給され、拡散燃料噴射孔には拡散燃料として分岐して供給される。
【0004】
このように独立的に燃料を供給可能な燃料供給ラインを有する燃料噴射ノズルでは、一部の燃料供給ラインに燃料が供給されない期間が継続すると、当該ラインにドレンが滞留することがある。特許文献1では、このように燃料供給がされない燃料供給ラインに滞留したドレンを系外に排出するためのドレン処理手段を備えるガスタービンが開示されている。
【先行技術文献】
【特許文献】
【0005】
特開2000-73783号公報
【発明の概要】
【発明が解決しようとする課題】
【0006】
上記各特許文献1では、燃料供給がされない燃料供給ラインに滞留するドレンを排出するために、ドレン処理手段をガスタービンに対して追設している。しかしながら、このようなドレン処理手段の追設は、設備コストが高くなる要因となる。
【0007】
本開示の少なくとも一実施形態は上述の事情に鑑みなされたものであり、燃料供給がされない燃料供給ラインにおけるドレン滞留を低コストで解消可能なガスタービン制御方法を提供することを目的とする。
【課題を解決するための手段】
【0008】
本開示の少なくとも一実施形態に係るガスタービン制御方法は、上記課題を解決するために、
燃料供給系統から供給される燃料を、予混合方式で燃焼するための予混合燃料として噴射するための予混合燃料噴射孔、及び、拡散方式で燃焼するための拡散燃料として噴射するための拡散燃料噴射孔を有する燃料噴射ノズルを含む燃焼器を備えるガスタービンを制御するためのガスタービン制御方法であって、
前記ガスタービンの負荷が第1負荷以下である低負荷運転領域において、前記予混合燃料噴射孔に対して第1流量で前記予混合燃料を供給するとともに、前記拡散燃料噴射孔に対して前記第1流量より大きい第2流量で前記拡散燃料を供給する。
【発明の効果】
【0009】
本開示の少なくとも一実施形態によれば、燃料供給がされない燃料供給ラインにおけるドレン滞留を低コストで解消可能なガスタービン制御方法を提供できる。
【図面の簡単な説明】
【0010】
一実施形態に係るガスタービンの概略構成図である。
図1の燃焼器が備える燃料噴射ノズルを示す概略構成図である。
比較例に係るガスタービン制御方法におけるガスタービンの負荷に対する予混合燃料及び拡散燃料の流量を示すグラフである。
一実施形態に係るガスタービン制御方法におけるガスタービンの負荷に対する予混合燃料及び拡散燃料の流量を示すグラフである。
【発明を実施するための形態】
(【0011】以降は省略されています)
この特許をJ-PlatPat(特許庁公式サイト)で参照する
関連特許
三菱重工業株式会社
原子炉
4日前
三菱重工業株式会社
ボイラ壁
23日前
三菱重工業株式会社
動力装置
26日前
三菱重工業株式会社
施工方法
10日前
三菱重工業株式会社
加熱装置
1か月前
三菱重工業株式会社
皮膜形成装置
1か月前
三菱重工業株式会社
超音波探傷方法
1か月前
三菱重工業株式会社
ポンプシステム
1か月前
三菱重工業株式会社
燃焼筒の取付方法
23日前
三菱重工業株式会社
バッテリ交換装置
1か月前
三菱重工業株式会社
洗浄水噴射ノズル
1か月前
三菱重工業株式会社
石膏脱水システム
10日前
三菱重工業株式会社
メタン酸化触媒装置
1か月前
三菱重工業株式会社
ガスタービン起動方法
19日前
三菱重工業株式会社
蒸気タービンシステム
19日前
三菱重工業株式会社
ガスタービン制御方法
1か月前
三菱重工業株式会社
ガス処理装置および方法
17日前
三菱重工業株式会社
デジタル入力モジュール
1か月前
三菱重工業株式会社
電解セル、及び電解装置
1か月前
三菱重工業株式会社
燃焼設備および制御方法
25日前
三菱重工業株式会社
アンモニア除害システム
10日前
三菱重工業株式会社
シール装置及び回転機械
9日前
三菱重工業株式会社
炭化炉及びその制御方法
1か月前
三菱重工業株式会社
原子炉炉心および原子炉
4日前
三菱重工業株式会社
シール装置および回転機械
1か月前
三菱重工業株式会社
軸流圧縮機、及びその動翼
11日前
三菱重工業株式会社
計測システムおよび計測方法
17日前
三菱重工業株式会社
レドックスフロー電池システム
23日前
三菱重工業株式会社
バーナ及びこれを備えたボイラ
1か月前
三菱重工業株式会社
水素吸蔵材料および原子力設備
18日前
三菱重工業株式会社
バーナ及びこれを備えたボイラ
1か月前
三菱重工業株式会社
支持部材及び接着剤の監視方法
10日前
三菱重工業株式会社
インバータ装置及びその保護方法
17日前
三菱重工業株式会社
演算方法、プログラム及び演算装置
25日前
三菱重工業株式会社
水素製造システム及び水素製造方法
1か月前
三菱重工業株式会社
電動ファンおよび電動垂直離着陸機
20日前
続きを見る
他の特許を見る