TOP
|
特許
|
意匠
|
商標
特許ウォッチ
Twitter
他の特許を見る
公開番号
2025173852
公報種別
公開特許公報(A)
公開日
2025-11-28
出願番号
2024079664
出願日
2024-05-15
発明の名称
車両の制御装置
出願人
トヨタ自動車株式会社
代理人
弁理士法人片山特許事務所
主分類
F02B
33/00 20060101AFI20251120BHJP(燃焼機関;熱ガスまたは燃焼生成物を利用する機関設備)
要約
【課題】車両の振動の増大が抑制された車両の制御装置を提供する。
【解決手段】フロント側に搭載された過給機付きのエンジンと、リア側に搭載されエンジンの動力がプロペラシャフトを介して伝達されるトランスミッションと、過給機のタービンをバイパスして排気通路に接続された排気バイパス通路を開閉するウェストゲート弁と、を有した車両の制御装置であって、エンジン回転数と目標過給圧とを取得する取得部と、エンジン回転数が所定回転数以下であって且つ目標過給圧が所定圧力以上の場合に、車両の振動が増大すると予測し、エンジン回転数が所定回転数よりも高い又は前記目標過給圧が前記所定圧力未満の場合に、車両の振動は増大しないと予測する予測部と車両の振動が増大すると予測された場合に、ウェストゲート弁の開度を緩やかに低下させることにより目標過給圧にまで緩やかに上昇させることによって達成できる。
【選択図】図3
特許請求の範囲
【請求項1】
フロント側に搭載された過給機付きのエンジンと、
リア側に搭載され前記エンジンの動力がプロペラシャフトを介して伝達されるトランスミッションと、
前記過給機のタービンをバイパスして前記エンジンの排気通路に接続された排気バイパス通路を開閉するウェストゲート弁と、
を有した車両の制御装置であって、
加速要求がある場合にエンジン回転数と目標過給圧とを取得する取得部と、
前記エンジン回転数が所定回転数以下であって且つ前記目標過給圧が所定圧力以上の場合に、前記エンジン回転数で実過給圧が前記目標過給圧にまで上昇した場合に前記車両の振動が増大すると予測し、前記エンジン回転数が前記所定回転数よりも高い又は前記目標過給圧が前記所定圧力未満の場合に、前記エンジン回転数で前記実過給圧が前記目標過給圧にまで上昇した場合に前記車両の振動は増大しないと予測する予測部と、
前記車両の振動が増大すると予測された場合に、前記車両の振動は増大しないと予測された場合よりも、前記ウェストゲート弁の開度を緩やかに低下させることにより前記実過給圧を前記目標過給圧にまで緩やかに上昇させる緩変化処理を実行する緩変化制御部と、
を備えた車両の制御装置。
続きを表示(約 550 文字)
【請求項2】
フロント側に搭載された過給機付きのエンジンと、
リア側に搭載され前記エンジンの動力がプロペラシャフトを介して伝達されるトランスミッションと、
前記過給機のコンプレッサをバイパスして前記エンジンの吸気通路に接続された吸気バイパス通路を開閉するエアバイパス弁と、
を有した車両の制御装置であって、
加速要求がある場合にエンジン回転数と目標過給圧とを取得する取得部と、
前記エンジン回転数が所定回転数以下であって且つ前記目標過給圧が所定圧力以上の場合に、前記エンジン回転数で実過給圧が前記目標過給圧にまで上昇した場合に前記車両の振動が増大すると予測し、前記エンジン回転数が前記所定回転数よりも高い又は前記目標過給圧が前記所定圧力未満の場合に、前記エンジン回転数で前記実過給圧が前記目標過給圧にまで上昇した場合に前記車両の振動は増大しないと予測する予測部と、
前記車両の振動が増大すると予測された場合に、前記車両の振動は増大しないと予測された場合よりも、前記エアバイパス弁の開度を緩やかに低下させることにより前記実過給圧を前記目標過給圧にまで緩やかに上昇させる緩変化処理を実行する緩変化制御部と、
を備えた車両の制御装置。
発明の詳細な説明
【技術分野】
【0001】
本発明は、車両の制御装置に関する。
続きを表示(約 2,200 文字)
【背景技術】
【0002】
過給機付きのエンジンが知られている(例えば特許文献1参照)。
【先行技術文献】
【特許文献】
【0003】
特開2007-205306号公報
【発明の概要】
【発明が解決しようとする課題】
【0004】
過給機付きのエンジンが車両に搭載された場合、車両の構造によっては、エンジン回転数が低い状態で過給圧が増大することにより、車両の振動が増大するおそれがある。
【0005】
そこで本発明は、車両の振動の増大が抑制された車両の制御装置を提供することを目的とする。
【課題を解決するための手段】
【0006】
上記目的は、フロント側に搭載された過給機付きのエンジンと、リア側に搭載され前記エンジンの動力がプロペラシャフトを介して伝達されるトランスミッションと、前記過給機のタービンをバイパスして前記エンジンの排気通路に接続された排気バイパス通路を開閉するウェストゲート弁と、を有した車両の制御装置であって、加速要求がある場合にエンジン回転数と目標過給圧とを取得する取得部と、前記エンジン回転数が所定回転数以下であって且つ前記目標過給圧が所定圧力以上の場合に、前記エンジン回転数で実過給圧が前記目標過給圧にまで上昇した場合に前記車両の振動が増大すると予測し、前記エンジン回転数が前記所定回転数よりも高い又は前記目標過給圧が前記所定圧力未満の場合に、前記エンジン回転数で前記実過給圧が前記目標過給圧にまで上昇した場合に前記車両の振動は増大しないと予測する予測部と、前記車両の振動が増大すると予測された場合に、前記車両の振動は増大しないと予測された場合よりも、前記ウェストゲート弁の開度を緩やかに低下させることにより前記実過給圧を前記目標過給圧にまで緩やかに上昇させる緩変化処理を実行する緩変化制御部と、を備えた車両の制御装置によって達成できる。
【0007】
また、上記目的は、フロント側に搭載された過給機付きのエンジンと、リア側に搭載され前記エンジンの動力がプロペラシャフトを介して伝達されるトランスミッションと、前記過給機のコンプレッサをバイパスして前記エンジンの吸気通路に接続された吸気バイパス通路を開閉するエアバイパス弁と、を有した車両の制御装置であって、加速要求がある場合にエンジン回転数と目標過給圧とを取得する取得部と、前記エンジン回転数が所定回転数以下であって且つ前記目標過給圧が所定圧力以上の場合に、前記エンジン回転数で実過給圧が前記目標過給圧にまで上昇した場合に前記車両の振動が増大すると予測し、前記エンジン回転数が前記所定回転数よりも高い又は前記目標過給圧が前記所定圧力未満の場合に、前記エンジン回転数で前記実過給圧が前記目標過給圧にまで上昇した場合に前記車両の振動は増大しないと予測する予測部と、前記車両の振動が増大すると予測された場合に、前記車両の振動は増大しないと予測された場合よりも、前記エアバイパス弁の開度を緩やかに低下させることにより前記実過給圧を前記目標過給圧にまで緩やかに上昇させる緩変化処理を実行する緩変化制御部と、を備えた車両の制御装置によっても達成できる。
【発明の効果】
【0008】
本発明によれば、車両の振動の増大が抑制された車両の制御装置を提供できる。
【図面の簡単な説明】
【0009】
図1は、車両の概略構成図である。
図2は、エンジンの概略構成図である。
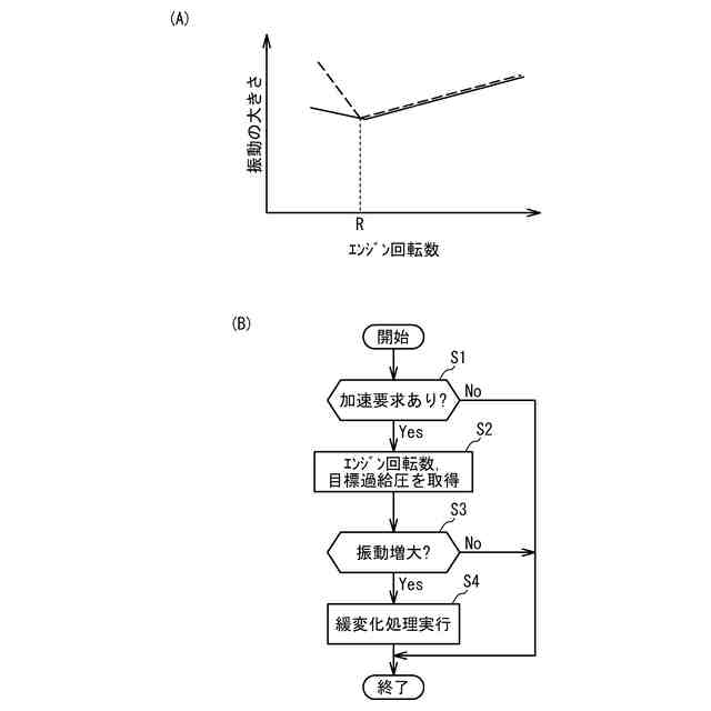
図3Aは、加速要求がある場合であって目標過給圧が所定圧力P以上の場合での車両の振動の大きさを示したグラフであり、図3Bは、ECUが実行する制御を例示したフローチャートである。
図4は、緩変化処理を例示したタイミングチャートである。
図5は、変形例での緩変化処理を例示したタイミングチャートである。
【発明を実施するための形態】
【0010】
図1は、車両1の概略構成図である。車両1は、エンジン10、プロペラシャフト40、トランスミッション50、ドライブシャフト60、駆動輪70、ECU(Electronic Control Unit)100を備える。エンジン10は車両1の走行動力源である。エンジン10はガソリンエンジンであるが、これに限定されず例えばディーゼルエンジンであってもよいし、水素燃料エンジンであってもよい。プロペラシャフト40は、車両1の前後方向に延びてエンジン10とトランスミッション50とを接続している。プロペラシャフト40には、プロペラシャフト40周辺を覆うカバー部材であるトルクチューブが設けられていてもよい。エンジン10の回転動力は、プロペラシャフト40を介してトランスミッション50に伝達される。トランスミッション50は、プロペラシャフト40の回転動力をドライブシャフト60に伝達する。トランスミッション50は、プロペラシャフト40の回転を所定の減速比で減速した後にドライブシャフト60に伝達する変速機である。ドライブシャフト60が回転することにより駆動輪70が回転する。
(【0011】以降は省略されています)
この特許をJ-PlatPat(特許庁公式サイト)で参照する
関連特許
個人
擬似オイル発電装置
14日前
個人
ガバナー
1日前
ダイハツ工業株式会社
発電装置
9日前
トヨタ自動車株式会社
制御装置
8日前
トヨタ自動車株式会社
エンジン制御装置
1か月前
国立大学法人 名古屋工業大学
小型化無振動機構機器
今日
トヨタ自動車株式会社
燃料噴射制御装置
2日前
トヨタ自動車株式会社
内燃機関の制御装置
21日前
川崎重工業株式会社
ガスタービンエンジン
1か月前
Astemo株式会社
内燃機関の制御装置
8日前
トヨタ自動車株式会社
内燃機関の制御装置
8日前
日産自動車株式会社
吸気装置
2日前
トヨタ自動車株式会社
フレックス燃料車両
21日前
ダイハツ工業株式会社
副燃焼室付きエンジン
今日
富士電機株式会社
駆動回路
29日前
トヨタ自動車株式会社
水素エンジンの制御装置
29日前
ヤンマーホールディングス株式会社
エンジン装置
1日前
スズキ株式会社
多気筒エンジンの制御装置
23日前
株式会社デンソー
燃料噴射装置
1日前
株式会社豊田自動織機
内燃機関
8日前
三菱重工業株式会社
ガスタービン起動方法
1か月前
トヨタ自動車株式会社
車両の制御装置
今日
スズキ株式会社
内燃機関の吸気装置
8日前
株式会社豊田自動織機
ターボチャージャ
29日前
トヨタ自動車株式会社
車両駆動装置
16日前
株式会社豊田自動織機
ターボチャージャ
16日前
株式会社豊田自動織機
ディーゼルエンジン
今日
スズキ株式会社
エンジンの排気浄化装置
16日前
株式会社SUBARU
車両用高圧燃料配管構造
8日前
株式会社SUBARU
車両用高圧燃料配管装置
今日
愛三工業株式会社
ガス燃料用レギュレータ
8日前
三菱重工エンジン&ターボチャージャ株式会社
安全弁
今日
株式会社ミクニ
エンジンのスロットル装置
21日前
トヨタ自動車株式会社
内燃機関の制御装置
29日前
三菱重工エンジン&ターボチャージャ株式会社
エンジン
21日前
株式会社ニッキ
エンジンのガス燃料供給装置
1日前
続きを見る
他の特許を見る