TOP
|
特許
|
意匠
|
商標
特許ウォッチ
Twitter
他の特許を見る
公開番号
2025176833
公報種別
公開特許公報(A)
公開日
2025-12-05
出願番号
2024083183
出願日
2024-05-22
発明の名称
燃料ポンプ
出願人
愛三工業株式会社
代理人
弁理士法人岡田国際特許事務所
主分類
F02M
37/10 20060101AFI20251128BHJP(燃焼機関;熱ガスまたは燃焼生成物を利用する機関設備)
要約
【課題】モータの電機子の回転抵抗を抑えつつ、電機子が発生する熱の放熱効率を向上させる。
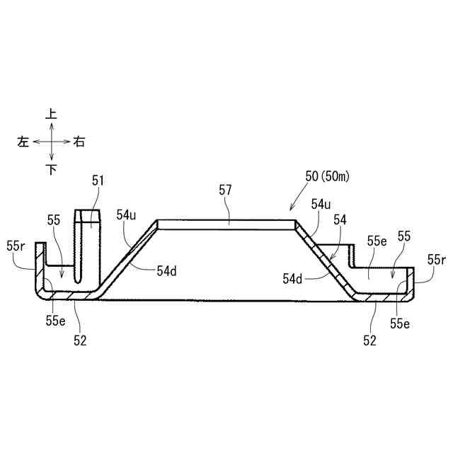
【解決手段】燃料を燃料吸引口から吸引し、昇圧した燃料を燃料吐出口から吐出する燃料ポンプであって、燃料吸引口から吸引された燃料を昇圧してポンプ吐出口から吐出するポンプ部と、ポンプ部の駆動源であり、回転子を構成する電機子を備えるモータ部と、ポンプ部とモータ部とを同軸に収納しており、ポンプ吐出口から吐出された燃料をモータ部の電機子の周囲を通過させて、燃料吐出口から吐出できるように構成されたハウジング部とを有しており、ポンプ部に対向する電機子の軸方向一端側がカバー部材50に覆われており、カバー部材50には、表面側と裏面側との少なくとも一方に凹凸形状55r,55e,54d,54uが形成されている。
【選択図】図4
特許請求の範囲
【請求項1】
燃料タンク内の燃料を燃料吸引口から吸引し、昇圧した燃料を燃料吐出口から吐出して内燃機関に供給する燃料ポンプであって、
前記燃料吸引口から吸引された燃料を昇圧してポンプ吐出口から吐出するポンプ部と、
前記ポンプ部の駆動源であり、回転子を構成する電機子を備えるモータ部と、
前記ポンプ部と前記モータ部とを同軸に収納しており、前記ポンプ吐出口から吐出された燃料を前記モータ部の前記電機子の周囲を通過させて、前記燃料吐出口から吐出できるように構成されたハウジング部とを有しており、
前記ポンプ部に対向する前記電機子の軸方向一端側がカバー部材に覆われており、
前記カバー部材には、表面側と裏面側との少なくとも一方に凹凸形状が形成されている燃料ポンプ。
続きを表示(約 560 文字)
【請求項2】
請求項1に記載された燃料ポンプであって、
前記カバー部材の凹凸形状は、表面側と裏面側との両方に形成されており、
前記裏面側の凹凸形状の凹凸高低差寸法が前記表面側の凹凸形状の凹凸高低差寸法よりも大きな値に設定されている燃料ポンプ。
【請求項3】
請求項1に記載された燃料ポンプであって、
前記カバー部材の凹凸形状が形成されている所定面において、径方向内側の凹凸形状の凹凸高低差寸法が径方向外側の凹凸形状の凹凸高低差寸法よりも大きな値に設定されている燃料ポンプ。
【請求項4】
請求項1に記載された燃料ポンプであって、
前記カバー部材の凹凸形状は、放射状に配置された複数本の突条である燃料ポンプ。
【請求項5】
請求項4に記載された燃料ポンプであって、
前記突条は、前記電機子の回転方向に凸となるように湾曲している燃料ポンプ。
【請求項6】
請求項1から請求項5のいずれかに記載された燃料ポンプであって、
前記カバー部材は、前記電機子の軸方向一端側を覆うカバー本体部と、前記電機子のコイルに接続される端子部とを備えており、前記カバー本体部と前記端子部とが同一金属で一体成形されている燃料ポンプ。
発明の詳細な説明
【技術分野】
【0001】
本技術は、燃料タンク内の燃料を燃料吸引口から吸引し、昇圧した燃料を燃料吐出口から吐出して内燃機関に供給する燃料ポンプに関する。
続きを表示(約 1,900 文字)
【背景技術】
【0002】
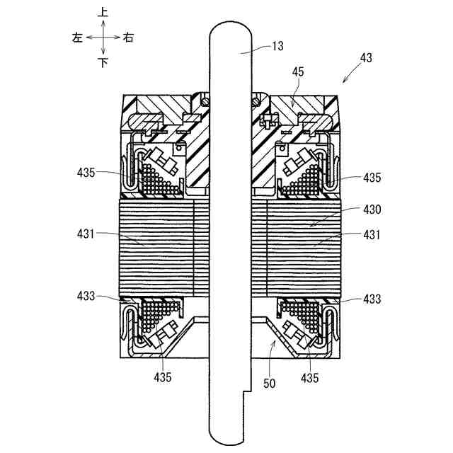
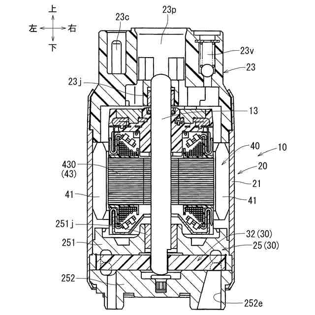
上記した燃料ポンプに関する技術が特許文献1に記載されている。特許文献1に記載の燃料ポンプは、燃料タンク内の燃料を内燃機関に圧送するポンプである。燃料ポンプは、ポンプ部(図示省略)と、前記ポンプ部の駆動源であるモータ部100とを備えている。モータ部100は、図7に示すように、回転子を構成する電機子102を有している。ポンプ部とモータ部100とは、円筒状のハウジング部(図示省略)に同軸に収納されている。ハウジング部は、前記ポンプ部から吐出された燃料をモータ部100の電機子102の周囲を通過させて、燃料吐出口(図示省略)から吐出できるように構成されている。
【0003】
前記ポンプ部に対向するモータ部100の電機子102の軸方向一端側(下端側)は、図7に示すように、金属製のカバー部材104によって覆われている。これにより、前記ポンプ部の吐出口から吐出された燃料が電機子102の下端側に直接当たることがなく、カバー部材104によりスムーズに電機子102の周囲に導けるようになる。さらに、電機子102の下端側がカバー部材で覆われることで、電機子102の下端側が平坦になり、電機子102の回転抵抗を低減できる。
【先行技術文献】
【特許文献】
【0004】
特許第4158154号
【発明の概要】
【発明が解決しようとする課題】
【0005】
上記燃料ポンプでは、電機子102の下端側が平坦になるようにカバー部材で覆い、電機子102の回転抵抗を低減させている。このため、カバー部材を金属により形成しても、そのカバー部材が平坦であることから電機子102の放熱効率をさほど高くできない。
【0006】
本技術は、上記問題点を解決するためになされたものであり、本発明が解決しようとする課題は、モータの電機子の回転抵抗を抑えつつ、電機子が発生する熱の放熱効率を向上させることである。
【課題を解決するための手段】
【0007】
上記した課題は、各技術によって解決される。第1の技術は、燃料タンク内の燃料を燃料吸引口から吸引し、昇圧した燃料を燃料吐出口から吐出して内燃機関に供給する燃料ポンプであって、前記燃料吸引口から吸引された燃料を昇圧してポンプ吐出口から吐出するポンプ部と、前記ポンプ部の駆動源であり、回転子を構成する電機子を備えるモータ部と、前記ポンプ部と前記モータ部とを同軸に収納しており、前記ポンプ吐出口から吐出された燃料を前記モータ部の前記電機子の周囲を通過させて、前記燃料吐出口から吐出できるように構成されたハウジング部とを有しており、前記ポンプ部に対向する前記電機子の軸方向一端側がカバー部材に覆われており、前記カバー部材には、表面側と裏面側との少なくとも一方に凹凸形状が形成されている。
【0008】
第1の技術によると、ポンプ部に対向する電機子の軸方向一端側がカバー部材に覆われている。このため、ポンプ吐出口から吐出された燃料がカバー部材の働きで電機子の軸方向一端側に直接当たることがなく、スムーズに電機子の周囲に導かれる。また、電機子の軸方向一端側がカバー部材で覆われることで、その部分が比較的平坦になる。これにより、電機子の回転抵抗を低減できる。さらに、カバー部材には、表面側と裏面側との少なくとも一方に凹凸形状が設けられている。このため、カバー部材の表面積を凹凸形状により拡張でき、電機子が発生する熱の放熱効率を向上させることができる。
【0009】
第2の技術によると、カバー部材の凹凸形状は、表面側と裏面側との両方に形成されており、前記裏面側の凹凸形状の凹凸高低差寸法が前記表面側の凹凸形状の凹凸高低差寸法よりも大きな値に設定されている。即ち、ポンプ吐出口から吐出された燃料が直接当たるカバー部材の表面側の凹凸形状の凹凸高低差寸法が裏面側の凹凸形状の凹凸高低差寸法よりも小さいため、電機子の回転抵抗がさほど大きくならない。
【0010】
第3の技術によると、カバー部材の凹凸形状が形成されている所定面において、径方向内側の凹凸形状の凹凸高低差寸法が径方向外側の凹凸形状の凹凸高低差寸法よりも大きな値に設定されている。即ち、電機子の回転中において回転速度が大きくなる径方向外側の凹凸形状の凹凸高低差寸法が、回転速度が小さくなる径方向内側の凹凸形状の凹凸高低差寸法よりも小さくなるため、電機子の回転抵抗がさほど大きくならない。
(【0011】以降は省略されています)
この特許をJ-PlatPat(特許庁公式サイト)で参照する
関連特許
愛三工業株式会社
マスク
1か月前
愛三工業株式会社
消火剤
7日前
愛三工業株式会社
集電体
15日前
愛三工業株式会社
冷却器
15日前
愛三工業株式会社
食品容器
28日前
愛三工業株式会社
吸着装置
15日前
愛三工業株式会社
液体ポンプ
今日
愛三工業株式会社
電極構造体
1か月前
愛三工業株式会社
燃料ポンプ
今日
愛三工業株式会社
水素分離膜
7日前
愛三工業株式会社
インシュレータ
15日前
愛三工業株式会社
無人搬送システム
1か月前
愛三工業株式会社
燃料電池システム
1か月前
愛三工業株式会社
燃料電池システム
7日前
愛三工業株式会社
射出成形機用金型
2日前
愛三工業株式会社
金型のガス抜き構造
8日前
愛三工業株式会社
水素エンジンシステム
28日前
愛三工業株式会社
ガス燃料用レギュレータ
15日前
愛三工業株式会社
飛行体用気体供給システム
7日前
愛三工業株式会社
ハイブリッド車両の制御装置
1か月前
愛三工業株式会社
吸着体及びこれを用いた吸着装置
1か月前
愛三工業株式会社
アクチュエータ、バルブ及びサーモスイッチ
1か月前
愛三工業株式会社
集電体、集電体を製造するための中間体及び集電体の製造方法
今日
個人
擬似オイル発電装置
21日前
個人
ガバナー
8日前
スズキ株式会社
車両の制御装置
1か月前
スズキ株式会社
車両の制御装置
1か月前
ダイハツ工業株式会社
発電装置
16日前
株式会社クボタ
作業車
1か月前
トヨタ自動車株式会社
制御装置
今日
株式会社クボタ
作業車両
1か月前
株式会社ミクニ
二次空気供給システム
1日前
株式会社ミクニ
インテークマニホールド
今日
株式会社ミクニ
インテークマニホールド
今日
トヨタ自動車株式会社
車両制御装置
1か月前
トヨタ自動車株式会社
制御装置
15日前
続きを見る
他の特許を見る