TOP
|
特許
|
意匠
|
商標
特許ウォッチ
Twitter
他の特許を見る
公開番号
2025176843
公報種別
公開特許公報(A)
公開日
2025-12-05
出願番号
2024083194
出願日
2024-05-22
発明の名称
液体ポンプ
出願人
愛三工業株式会社
代理人
弁理士法人岡田国際特許事務所
主分類
F04D
9/00 20060101AFI20251128BHJP(液体用容積形機械;液体または圧縮性流体用ポンプ)
要約
【課題】液体ポンプに液体を短時間で充填するために空気をスムーズに排出できるようにする。
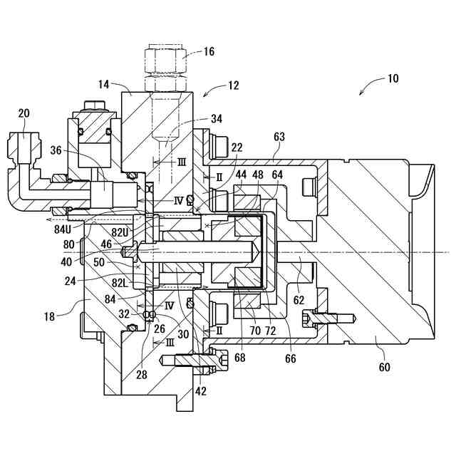
【解決手段】一つの態様は液体ポンプ(10)であって、ハウジング(12)と、インペラ(24)と、シャフト(40)と、シャフトを収容するシャフト室(44)と、シャフト室においてシャフトを回転可能に保持する軸受(42)と、ハウジングに形成された軸受保持部(46)と、シャフトと結合されたロータ(68)とを備えており、軸受保持部によってシャフト室がロータ側空間(48)とインペラ側空間(50)に分割されており、軸受保持部に形成されロータ側空間とインペラ側空間とを連通する第1の貫通孔(82)と、インペラに形成された第2の貫通孔(25)と、ハウジングに形成されインペラ側空間と外部とを連通する第3の貫通孔(80)とを有し、シャフト室の気体が第1、第2、第3の貫通孔を順次通ってハウジングの外部に抜ける。
【選択図】図1
特許請求の範囲
【請求項1】
液体ポンプであって、
ハウジングと、
前記ハウジングに収容された回転可能なインペラと、
前記インペラに結合されたシャフトと、
前記ハウジングに形成され前記シャフトを収容するシャフト室と、
前記シャフト室において前記シャフトを回転可能に保持する軸受と、
前記ハウジングに形成され前記軸受を保持する軸受保持部と、
前記シャフトと結合され前記ハウジングの外部から磁気カップリングを介して回転させられるロータとを備えており、
前記軸受保持部によって前記シャフト室がロータ側空間とインペラ側空間に分割され、前記ロータが前記ロータ側空間に位置し、前記インペラの中央部が前記インペラ側空間に位置しており、さらに、
前記軸受保持部に形成され前記シャフト室の前記ロータ側空間と前記インペラ側空間とを連通する第1の貫通孔と、
前記インペラに形成された少なくとも1つの第2の貫通孔と、
前記ハウジングに形成され前記シャフト室の前記インペラ側空間と前記ハウジングの外部とを連通する第3の貫通孔とを有しており、
前記シャフト室に液体を充填する際に前記シャフト室の前記ロータ側空間の気体が前記第1の貫通孔、前記第2の貫通孔、前記第3の貫通孔を順次通って前記ハウジングの外部に抜ける、液体ポンプ。
続きを表示(約 810 文字)
【請求項2】
請求項1の液体ポンプであって、液体ポンプが前記シャフトを横方向に向けて設置される場合、前記第1の貫通孔と前記第3の貫通孔がそれぞれ前記シャフト室の上部に位置する、液体ポンプ。
【請求項3】
請求項2の液体ポンプであって、液体ポンプが前記シャフトを横方向に向けて設置される場合、前記第1の貫通孔と前記第3の貫通孔それぞれの少なくとも一部が前記シャフト室の最上部に位置する、液体ポンプ。
【請求項4】
請求項1の液体ポンプであって、前記第2の貫通孔が前記シャフト室の周壁面に位置する、液体ポンプ。
【請求項5】
請求項1の液体ポンプであって、前記インペラの回転軸から見たときの前記第1の貫通孔と前記第2の貫通孔と前記第3の貫通孔の半径方向距離が同一である、液体ポンプ。
【請求項6】
請求項1の液体ポンプであって、前記インペラに形成された前記第2の貫通孔が周方向に沿って細長い、液体ポンプ。
【請求項7】
請求項1の液体ポンプであって、前記インペラに少なくとも1つ形成された前記第2の貫通孔が回転軸を中心とする同一円周上に配置された複数の第2の貫通孔である、液体ポンプ。
【請求項8】
請求項1の液体ポンプであって、さらに制御装置を備えており、前記シャフト室に前記液体を充填する際に前記第2の貫通孔が前記シャフト室の上部に来るような位置で前記インペラを止めるように前記制御装置が前記インペラを回転させる、液体ポンプ。
【請求項9】
請求項1の液体ポンプであって、前記液体は液化アンモニアなどの加圧液体であり、自身の圧力で前記シャフト室に充填される、液体ポンプ。
【請求項10】
請求項1の液体ポンプであって、前記液体は液化アンモニアなどの腐食性液体である、液体ポンプ。
発明の詳細な説明
【技術分野】
【0001】
本願に開示する技術は液体ポンプに関するものである。
続きを表示(約 1,900 文字)
【背景技術】
【0002】
液体ポンプにおいては、移送すべき液体のための通路とは別に、気体を外部に排出するための貫通孔がハウジングに設けられることがある。例えば、特開2006-170159号公報に開示されている渦流ポンプには、ハウジングの特定の部分とインペラ(羽根車)との間に空気が滞留することを防止するために、ハウジングのその部分から吐出口に連通する空気抜き穴が設けられている。
【先行技術文献】
【特許文献】
【0003】
特開2006-170159号公報
【発明の概要】
【発明が解決しようとする課題】
【0004】
ポンプの運転時には内部空間に液体が充填されている必要がある。また、シャフトを回転可能に支持する軸受の摩耗を避けるために、シャフトの存在する空間にも積極的に液体を充填することがある。液体を短時間で充填するには空気のスムーズな排出性が課題となる。特に、ハウジングの外部から磁気カップリングを介してシャフトを回転させる場合など、ポンプの内部に行き止まりの空間が存在する場合には、空気の排出性が重要となる。上記の公報ではこのような問題点について検討されていない。また、シャフトが横方向に向くようにポンプを設置した場合の空気の排出性に関しても考慮されていない。そこで、液体を短時間で充填するために空気をスムーズに排出できる液体ポンプが望まれる。
【課題を解決するための手段】
【0005】
本技術の一つの態様は、液体ポンプであって、ハウジングと、ハウジングに収容された回転可能なインペラと、インペラに結合されたシャフトと、ハウジングに形成されシャフトを収容するシャフト室と、シャフト室においてシャフトを回転可能に保持する軸受と、ハウジングに形成され軸受を保持する軸受保持部と、シャフトと結合されハウジングの外部から磁気カップリングを介して回転させられるロータとを備えており、軸受保持部によってシャフト室がロータ側空間とインペラ側空間に分割され、ロータがロータ側空間に位置し、インペラの中央部がインペラ側空間に位置しており、さらに、軸受保持部に形成されシャフト室のロータ側空間とインペラ側空間とを連通する第1の貫通孔と、インペラに形成された少なくとも1つの第2の貫通孔と、ハウジングに形成されシャフト室のインペラ側空間とハウジングの外部とを連通する第3の貫通孔とを有しており、シャフト室に液体を充填する際にシャフト室のロータ側空間の気体が第1の貫通孔、第2の貫通孔、第3の貫通孔を順次通ってハウジングの外部に抜ける。これにより、シャフト室に3つの貫通孔から成る気体排出ラインが形成されるため、液体ポンプが横置きされるか縦置きされるかに関わらずシャフト室からの気体排出性が向上し、例えば液体をシャフト室に充填するのに要する時間を短縮することができる。また、ポンプの運転中にシャフト室に流れ込んできた気体やシャフト室で生じた気体の排出性も向上する。
【0006】
実施形態によっては、液体ポンプがシャフトを横方向に向けて設置される場合、第1の貫通孔と第3の貫通孔がそれぞれシャフト室の上部に位置する。これにより、液体ポンプを横置きする場合のシャフト室からの気体排出性が向上する。
【0007】
実施形態によっては、液体ポンプがシャフトを横方向に向けて設置される場合、第1の貫通孔と第3の貫通孔それぞれの少なくとも一部がシャフト室の最上部に位置する。これにより、液体ポンプを横置きする場合のシャフト室からの気体排出性がさらに向上する。
【0008】
実施形態によっては、第2の貫通孔がシャフト室の周壁面に位置する。これにより、液体ポンプを横置きする場合のシャフト室からの気体排出性が向上する。
【0009】
実施形態によっては、インペラの回転軸から見たときの第1の貫通孔と第2の貫通孔と第3の貫通孔の半径方向距離が同一である。これにより、インペラの貫通孔の位置によっては気体排出ラインが直線的となり、シャフト室からの気体排出性が向上する。
【0010】
実施形態によっては、インペラに形成された第2の貫通孔が周方向に沿って細長い。これにより、ポンプ停止時、インペラの貫通孔のいずれかの部分がシャフト室の上部(あるいは最上部)に位置する可能性が高くなり、シャフト室からの気体排出性が向上する。
(【0011】以降は省略されています)
この特許をJ-PlatPat(特許庁公式サイト)で参照する
関連特許
愛三工業株式会社
冷却器
16日前
愛三工業株式会社
マスク
1か月前
愛三工業株式会社
集電体
16日前
愛三工業株式会社
消火剤
8日前
愛三工業株式会社
樹脂部材
2か月前
愛三工業株式会社
固定構造
2か月前
愛三工業株式会社
樹脂部材
1か月前
愛三工業株式会社
吸着装置
16日前
愛三工業株式会社
食品容器
29日前
愛三工業株式会社
燃料ポンプ
1日前
愛三工業株式会社
水素分離膜
8日前
愛三工業株式会社
液体ポンプ
1日前
愛三工業株式会社
電極構造体
1か月前
愛三工業株式会社
燃料供給装置
1か月前
愛三工業株式会社
ガス吸着装置
1か月前
愛三工業株式会社
インシュレータ
16日前
愛三工業株式会社
無人搬送システム
1か月前
愛三工業株式会社
燃料電池システム
1か月前
愛三工業株式会社
射出成形機用金型
3日前
愛三工業株式会社
燃料電池システム
8日前
愛三工業株式会社
温度計測モジュール
2か月前
愛三工業株式会社
金型のガス抜き構造
9日前
愛三工業株式会社
水素エンジンシステム
29日前
愛三工業株式会社
ガス燃料用レギュレータ
16日前
愛三工業株式会社
飛行体用気体供給システム
8日前
愛三工業株式会社
ハイブリッド車両の制御装置
1か月前
愛三工業株式会社
吸着体及びこれを用いた吸着装置
1か月前
愛三工業株式会社
アクチュエータ、バルブ及びサーモスイッチ
1か月前
愛三工業株式会社
集電体、集電体を製造するための中間体及び集電体の製造方法
1日前
株式会社スギノマシン
圧縮機
1か月前
株式会社ツインバード
送風装置
2か月前
株式会社ツインバード
送風装置
2か月前
カヤバ株式会社
電動ポンプ
29日前
日機装株式会社
遠心ポンプ
1か月前
株式会社不二越
電動油圧ポンプ
1日前
株式会社不二越
電動油圧ポンプ
1日前
続きを見る
他の特許を見る