TOP
|
特許
|
意匠
|
商標
特許ウォッチ
Twitter
他の特許を見る
10個以上の画像は省略されています。
公開番号
2025165686
公報種別
公開特許公報(A)
公開日
2025-11-05
出願番号
2024069914
出願日
2024-04-23
発明の名称
吸着体及びこれを用いた吸着装置
出願人
愛三工業株式会社
代理人
弁理士法人太陽国際特許事務所
主分類
F02M
25/08 20060101AFI20251028BHJP(燃焼機関;熱ガスまたは燃焼生成物を利用する機関設備)
要約
【課題】汎用性に優れ、圧力損失を抑制しながら吸着性能を高めることができる吸着体及びこれを用いた吸着装置を得る。
【解決手段】吸着体12は、上面12Aに凸部30を有し、下面12Bに凹部40を備える粒状で構成され、混合気体との接触により混合気体に含まれる特定物質を吸着する。
【選択図】図5
特許請求の範囲
【請求項1】
上面に凸部を有し、下面に凹部を備える粒状で構成され、混合気体との接触により混合気体に含まれる特定物質を吸着する、
吸着体。
続きを表示(約 870 文字)
【請求項2】
前記凸部の頂部と前記凹部の頂部が平面視で重なる位置に設けられている、
請求項1に記載の吸着体。
【請求項3】
前記凸部の頂部と前記凹部の頂部とを通り、上下方向に貫通した貫通孔を有する、
請求項2に記載の吸着体。
【請求項4】
前記上面と前記下面とを繋ぐ側面を有し、前記下面の最大径が前記上面の最大径よりも小さくなるように構成されている、
請求項1~請求項3の何れか1項に記載の吸着体。
【請求項5】
前記凸部及び前記凹部は、略円錐形状をなしている、
請求項1~請求項3の何れか1項に記載の吸着体。
【請求項6】
前記凸部及び前記凹部は、平面視における中心から径方向外側に向かって突出した複数の突起部を備える、
請求項1~請求項3の何れか1項に記載の吸着体。
【請求項7】
請求項1に記載の吸着体を用いた吸着装置であって、
混合気体の流路の少なくとも一部を構成するケーシングと、
前記ケーシング内に収容され、上下に複数個が重なねられることにより、下方側に隣接する前記吸着体の凸部が上方側に隣接する前記吸着体の凹部に挿し込まれ、列状をなすように構成された複数の列状吸着部と、
複数の前記列状吸着部間に形成される気体流路と、
を備える吸着装置。
【請求項8】
請求項7に記載の吸着装置の製造方法であって、
前記吸着体は、前記凸部の頂部と前記凹部の頂部とを通り、上下方向に貫通した貫通孔を有し、当該貫通孔を挿通する線状のガイド部材に支持されることにより、上下に複数個が重ねられ、下方側に隣接する前記吸着体の凸部が上方側に隣接する前記吸着体の凹部に挿し込まれ、列状をなすように構成された列状吸着部を形成する工程と、
前記ガイド部材に支持された状態で、前記列状吸着部を前記ケーシングに収容する工程と、
を含む吸着装置の製造方法。
発明の詳細な説明
【技術分野】
【0001】
本発明は、吸着体及びこれを用いた吸着装置に関する。
続きを表示(約 1,100 文字)
【背景技術】
【0002】
特許文献1には、吸着体としてのペレットの内部に様々な形状の穴を空けて比表面積を確保する技術が記載されている。
【0003】
特許文献2には、脱臭やオゾン分解用担体として用いられる活性炭ハニカム構造体が記載されている。
【先行技術文献】
【特許文献】
【0004】
特開2009-131837号公報
特開平11-147707号公報
【発明の概要】
【発明が解決しようとする課題】
【0005】
ところで、例えば、気体の流路の一部を構成するケーシングにペレットのような粒状の吸着体充填し、粒子間を通過する気体から特定物質を吸着する吸着装置が知られている。このような吸着装置では、ケーシングに合わせて専用に設計される吸着体が不要であるため、汎用性に優れるが、粒子間の流路が不均一なため、圧力損失の抑制が不十分となる可能性がある。
【0006】
一方、例えば、気体の流路の一部を構成するケーシングにハニカム構造体をなす吸着体を配置し、ハニカム構造体を通過する気体から特定物質を吸着する吸着装置が知られている。このような吸着装置では、ハニカム構造体により、規則正しい流路を形成できるため圧力損失は低下するが、ケーシングに合わせて専用に設計される吸着体が必要となり、汎用性が低い。
【0007】
本発明は上記事実を考慮し、汎用性に優れ、圧力損失を抑制しながら吸着性能を高めることができる吸着体及びこれを用いた吸着装置を得ることを目的とする。
【課題を解決するための手段】
【0008】
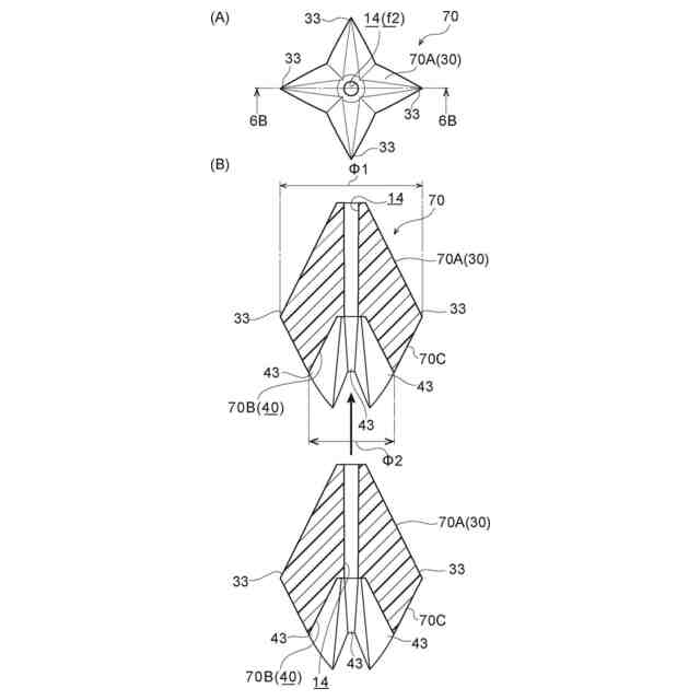
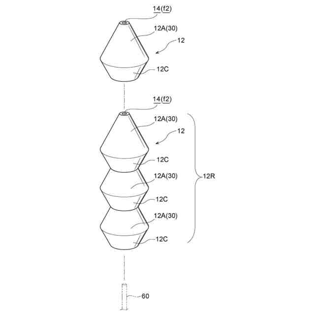
請求項1に記載の吸着体は、上面に凸部を有し、下面に凹部を備える粒状で構成され、混合気体との接触により混合気体に含まれる特定物質を吸着する。
【0009】
請求項1に記載の吸着体では、例えば、複数個を上下に重ねる際に、上方側に隣接する吸着体の凹部に下方側に隣接する吸着体の凸部を重ねることができる。この状態では、複数個の吸着体が列状に配列される。従って、例えば、混合気体の流路の一部を構成するケーシングに吸着体を充填した際に、ケーシング内に規則正しい流路を形成することが可能になる。これにより、粒状の吸着体を不規則に充填する場合と比べ、ケーシング内の圧力損失が抑制される。
【0010】
また、複数個の吸着体が配列された状態では、側面部に連続した凸状パターンが設けられる。これにより、側面部を平坦な面で構成する場合と比べて表面積が増大し、ケーシング内の混合気体との接触効率が高められ、特定物質の吸着性能を高めることができる。
(【0011】以降は省略されています)
この特許をJ-PlatPat(特許庁公式サイト)で参照する
関連特許
愛三工業株式会社
集電体
17日前
愛三工業株式会社
消火剤
9日前
愛三工業株式会社
マスク
1か月前
愛三工業株式会社
冷却器
17日前
愛三工業株式会社
吸着装置
17日前
愛三工業株式会社
樹脂部材
1か月前
愛三工業株式会社
食品容器
1か月前
愛三工業株式会社
燃料ポンプ
2日前
愛三工業株式会社
水素分離膜
9日前
愛三工業株式会社
電極構造体
1か月前
愛三工業株式会社
液体ポンプ
2日前
愛三工業株式会社
ガス吸着装置
1か月前
愛三工業株式会社
燃料供給装置
1か月前
愛三工業株式会社
インシュレータ
17日前
愛三工業株式会社
無人搬送システム
1か月前
愛三工業株式会社
燃料電池システム
1か月前
愛三工業株式会社
燃料電池システム
9日前
愛三工業株式会社
射出成形機用金型
4日前
愛三工業株式会社
金型のガス抜き構造
10日前
愛三工業株式会社
水素エンジンシステム
1か月前
愛三工業株式会社
ガス燃料用レギュレータ
17日前
愛三工業株式会社
飛行体用気体供給システム
9日前
愛三工業株式会社
ハイブリッド車両の制御装置
1か月前
愛三工業株式会社
吸着体及びこれを用いた吸着装置
1か月前
愛三工業株式会社
アクチュエータ、バルブ及びサーモスイッチ
1か月前
愛三工業株式会社
集電体、集電体を製造するための中間体及び集電体の製造方法
2日前
個人
擬似オイル発電装置
23日前
個人
ガバナー
10日前
ダイハツ工業株式会社
発電装置
18日前
トヨタ自動車株式会社
制御装置
2日前
株式会社ミクニ
二次空気供給システム
3日前
株式会社ミクニ
インテークマニホールド
2日前
株式会社ミクニ
インテークマニホールド
2日前
トヨタ自動車株式会社
制御装置
17日前
トヨタ自動車株式会社
エンジン制御装置
1か月前
国立大学法人 名古屋工業大学
小型化無振動機構機器
9日前
続きを見る
他の特許を見る