TOP
|
特許
|
意匠
|
商標
特許ウォッチ
Twitter
他の特許を見る
公開番号
2025178043
公報種別
公開特許公報(A)
公開日
2025-12-05
出願番号
2024151752
出願日
2024-09-03
発明の名称
集電体、集電体を製造するための中間体及び集電体の製造方法
出願人
愛三工業株式会社
代理人
弁理士法人 快友国際特許事務所
主分類
H01M
4/66 20060101AFI20251128BHJP(基本的電気素子)
要約
【課題】集電体に塗工した電極が金属箔に接触することを抑制すると共に、電極を集電体から剥がれ難くするための技術を提供する。
【解決手段】集電体は、金属箔と、複数の導電助剤を含む樹脂からなり、前記金属箔の上に配置される樹脂層と、を備えている。前記樹脂層は、前記金属箔の上に配置される第1層と、前記第1層の上に配置される第2層と、を備えている。前記第2層は、前記第1層と接触する面と反対側の面に凹凸が設けられている。
【選択図】図1
特許請求の範囲
【請求項1】
金属箔と、
複数の導電助剤を含む樹脂からなり、前記金属箔の上に配置される樹脂層と、を備えており、
前記樹脂層は、前記金属箔の上に配置される第1層と、前記第1層の上に配置される第2層と、を備えており、
前記第2層は、前記第1層と接触する面と反対側の面に凹凸が設けられている、集電体。
続きを表示(約 1,300 文字)
【請求項2】
請求項1に記載の集電体であって、
前記複数の導電助剤は、前記第1層に含まれる複数の第1導電助剤と、前記第2層に含まれる複数の第2導電助剤と、を含み、
前記第2層には、複数の前記第2導電助剤のうちのいくつかが凝集することにより形成される導電助剤群が複数存在し、
各前記導電助剤群は、隣接する前記導電助剤群と間隔を空けて配置されている、集電体。
【請求項3】
請求項1に記載の集電体であって、
前記複数の導電助剤は、前記第1層に含まれる複数の第1導電助剤と、前記第2層に含まれる複数の第2導電助剤と、を備えており、
各前記第2導電助剤の外形は、各前記第1導電助剤の外形より大きい、集電体。
【請求項4】
請求項1に記載の集電体であって、
前記第2層の前記反対側の面には、複数の溝が設けられている、集電体。
【請求項5】
請求項4に記載の集電体であって、
前記第1層及び前記第2層は、同一種類の樹脂によって構成されており、
前記第1層及び前記第2層には、同一種類の前記導電助剤が、同一密度で含まれている、集電体。
【請求項6】
集電体を製造するための中間体であって、
金属箔と、
複数の導電助剤を含む樹脂からなり、前記金属箔の上に配置される樹脂層と、を備えており、
前記樹脂層は、前記金属箔の上に配置される第1層と、前記第1層の上に配置される第2層と、を備えており、
前記第2層は、熱分解性成分を含んでいる、中間体。
【請求項7】
請求項6に記載の中間体であって、
前記第2層を構成する樹脂の密度は、前記熱分解性成分の密度より大きい、中間体。
【請求項8】
金属箔と、複数の導電助剤を含む樹脂からなり、前記金属箔の上に配置される樹脂層と、を備える集電体の製造方法であって、
前記複数の導電助剤と前記樹脂とを含むスラリーを前記金属箔の上に配置する配置工程と、
前記配置工程で前記金属箔の上に配置された前記スラリーの前記金属箔と接触する面と反対側の面に櫛型の治具を差し込み、前記治具を直線状に移動させることにより、前記反対側の面に複数の溝を形成する溝形成工程と、
前記溝形成工程で前記反対側の面に複数の前記溝が形成された前記スラリーを乾燥させることにより、前記樹脂層の前記金属箔と接触する面と反対側の面に複数の溝によって構成される凹凸を形成する乾燥工程と、を備える、集電体の製造方法。
【請求項9】
集電体の製造方法であって、
複数の導電助剤を含む樹脂からなる第1層を金属箔の上に配置する第1配置工程と、
複数の導電助剤及び熱分解性成分を含む樹脂からなる第2層を前記第1層の上に配置する第2配置工程と、
前記第1配置工程と前記第2配置工程により形成された中間体を熱処理することにより前記第2層の前記第1層と接触する面と反対側の面に凹凸を形成する熱処理工程と、を備える、集電体の製造方法。
発明の詳細な説明
【技術分野】
【0001】
本明細書に開示する技術は、集電体、集電体を製造するための中間体及び集電体の製造方法に関する。
続きを表示(約 1,600 文字)
【背景技術】
【0002】
二次電池に用いられる集電体は、性能を向上させるために種々の改良がされている。例えば、特許文献1の集電体は、金属箔と、金属箔の表面に配置された樹脂層と、を備えている。金属箔の表面に樹脂層を配置することによって、集電体に電極を塗工したときに、電極が樹脂層上に配置される。また、電極は、集電体に塗工されるときに加圧され、樹脂層内に入り込む。電極が樹脂層内に入り込むことによって、電極と樹脂層との間にアンカー効果が生じ、電極が集電体から剥がれ難くなる。
【先行技術文献】
【特許文献】
【0003】
特開2013-26192号公報
【発明の概要】
【発明が解決しようとする課題】
【0004】
特許文献1の集電体では、電極が集電体に塗工されるときに加圧されることによって、電極が樹脂層内に入り込み、電極と樹脂層との間にアンカー効果が生じる。しかしながら、電極が集電体に加圧される際に、電極が金属箔まで達することがある。電極が金属箔に接触すると、金属箔が破損することがあり、金属箔が破損して貫通すると、電極が反対面に配置された電極に接触して短絡する虞がある。また、電極が金属箔に接触することを回避するために樹脂層の剛性を高くすると(例えば、樹脂層に含まれる導電助剤の量を多くすると)、電極が樹脂層に入り込み難くなり、電極が集電体から剥がれ易くなる。
【0005】
本明細書は、集電体に塗工した電極が金属箔に接触することを抑制すると共に、電極を集電体から剥がれ難くするための技術を開示する。
【課題を解決するための手段】
【0006】
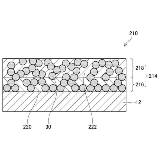
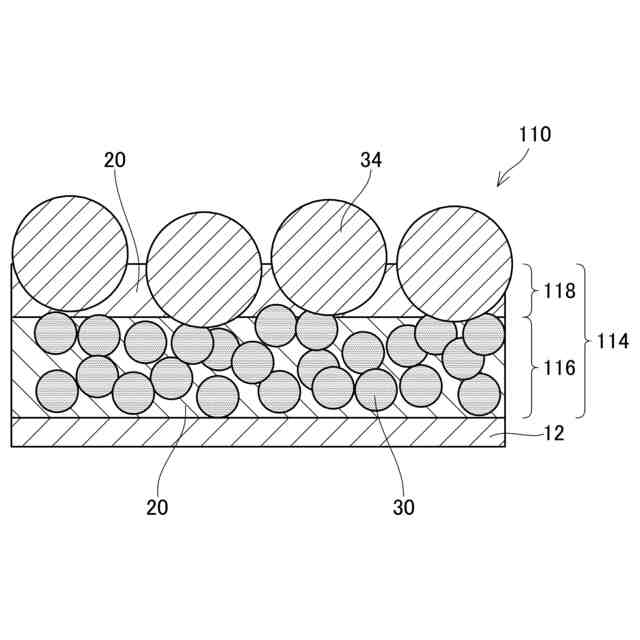
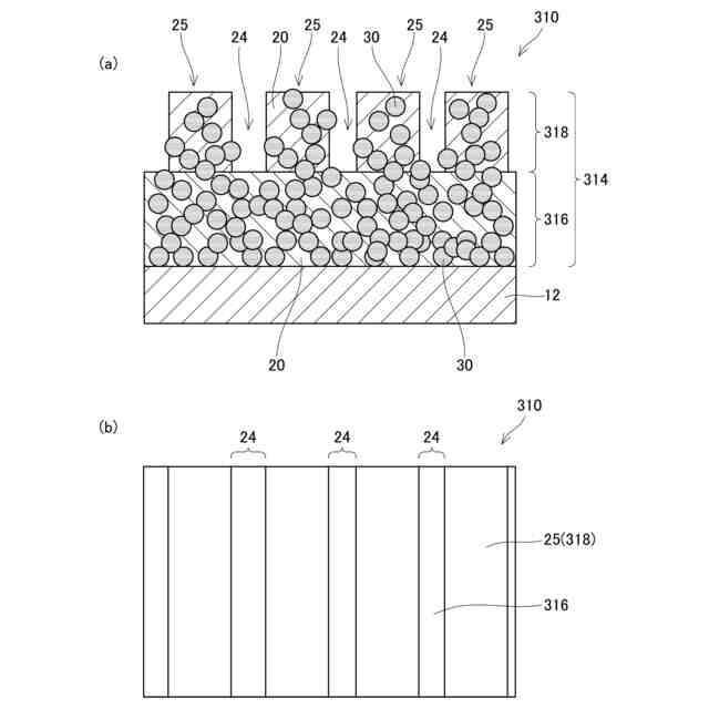
本技術の第1の態様では、集電体は、金属箔と、複数の導電助剤を含む樹脂からなり、前記金属箔の上に配置される樹脂層と、を備えている。前記樹脂層は、前記金属箔の上に配置される第1層と、前記第1層の上に配置される第2層と、を備えている。前記第2層は、前記第1層と接触する面と反対側の面に凹凸が設けられている。
【0007】
この構成によれば、集電体に電極を塗工したときに電極と接触する第2層の表面に凹凸を設けることによって、集電体に電極を塗工すると、電極が第2層の凹凸に入り込み易くなる。これにより、電極と第2層との間にアンカー効果が生じ、電極が集電体から剥がれ難くなる。また、第2層と金属箔との間に第1層を設けることによって、電極が金属箔に接触し難くなる。このため、集電体に塗工した電極を金属箔に接触し難くすることと、電極が集電体から剥がれ難くすることを同時に実現することができる。
【0008】
本技術の第2の態様では、上記の第1の態様において、前記複数の導電助剤は、前記第1層に含まれる複数の第1導電助剤と、前記第2層に含まれる複数の第2導電助剤と、を含んでいてもよい。前記第2層には、複数の前記第2導電助剤のうちのいくつかが凝集することにより形成される導電助剤群が複数存在していてもよい。各前記導電助剤群は、隣接する前記導電助剤群と間隔を空けて配置されていてもよい。
【0009】
この構成によれば、第2層には、第2導電助剤が凝集した複数の導電助剤群が、間隔を空けて配置される。これにより、第2層には、導電助剤群の間に生じる導電助剤が配置されない領域が大きくなり易くなり、第2層の表面に凹凸が生じ易くなる。
【0010】
本技術の第3の態様では、上記の第1の態様において、前記複数の導電助剤は、前記第1層に含まれる複数の第1導電助剤と、前記第2層に含まれる複数の第2導電助剤と、を備えていてもよい。各前記第2導電助剤の外形は、各前記第1導電助剤の外形より大きくてもよい。
(【0011】以降は省略されています)
この特許をJ-PlatPat(特許庁公式サイト)で参照する
関連特許
愛三工業株式会社
冷却器
16日前
愛三工業株式会社
マスク
1か月前
愛三工業株式会社
集電体
16日前
愛三工業株式会社
消火剤
8日前
愛三工業株式会社
食品容器
29日前
愛三工業株式会社
樹脂部材
2か月前
愛三工業株式会社
固定構造
2か月前
愛三工業株式会社
吸着装置
16日前
愛三工業株式会社
樹脂部材
1か月前
愛三工業株式会社
吸気弁装置
2か月前
愛三工業株式会社
電極構造体
1か月前
愛三工業株式会社
水素分離膜
8日前
愛三工業株式会社
燃料ポンプ
1日前
愛三工業株式会社
液体ポンプ
1日前
愛三工業株式会社
ガス吸着装置
1か月前
愛三工業株式会社
燃料供給装置
1か月前
愛三工業株式会社
電圧変換装置
2か月前
愛三工業株式会社
電力供給装置
2か月前
愛三工業株式会社
インシュレータ
16日前
愛三工業株式会社
燃料電池システム
1か月前
愛三工業株式会社
燃料電池システム
2か月前
愛三工業株式会社
燃料電池システム
8日前
愛三工業株式会社
無人搬送システム
1か月前
愛三工業株式会社
射出成形機用金型
3日前
愛三工業株式会社
金型のガス抜き構造
9日前
愛三工業株式会社
温度計測モジュール
2か月前
愛三工業株式会社
水素エンジンシステム
29日前
愛三工業株式会社
ガス燃料用レギュレータ
16日前
愛三工業株式会社
飛行体用気体供給システム
8日前
愛三工業株式会社
ハイブリッド車両の制御装置
1か月前
愛三工業株式会社
吸着体及びこれを用いた吸着装置
1か月前
愛三工業株式会社
液化ガス利用システム及び自動車
2か月前
愛三工業株式会社
アクチュエータ、バルブ及びサーモスイッチ
1か月前
愛三工業株式会社
集電体、集電体を製造するための中間体及び集電体の製造方法
1日前
東ソー株式会社
絶縁電線
1か月前
APB株式会社
蓄電セル
1か月前
続きを見る
他の特許を見る