TOP
|
特許
|
意匠
|
商標
特許ウォッチ
Twitter
他の特許を見る
公開番号
2025134188
公報種別
公開特許公報(A)
公開日
2025-09-17
出願番号
2024031936
出願日
2024-03-04
発明の名称
吸気弁装置
出願人
愛三工業株式会社
代理人
弁理士法人岡田国際特許事務所
主分類
F02D
9/10 20060101AFI20250909BHJP(燃焼機関;熱ガスまたは燃焼生成物を利用する機関設備)
要約
【課題】スロットルバルブをスロットルシャフトに固定する際、スロットルバルブの位置ずれ防止機能を安定化させる。
【解決手段】スロットルシャフト30に固定されたスロットルバルブ40を有する吸気弁装置であって、スロットルシャフト30には、スロットルバルブ40が挿入されるバルブ挿入スリット33が径方向に貫通した状態で形成されており、バルブ挿入スリット33に挿入されたスロットルバルブ40が締結機構によりスロットルシャフト30に固定される構成であり、バルブ挿入スリット33は、スリット中央部33cと、スリット中央部33cの軸方向一端側と他端側とから軸方向に離れるにつれて拡開する一対のテーパ部33f,33rとを有しており、スロットルバルブ40は、バルブ挿入スリット33のテーパ部33f,33rの位置で締結機構によりスロットルシャフトに固定される。
【選択図】図3
特許請求の範囲
【請求項1】
吸気通路を備えるスロットルボデーと、前記吸気通路を横切って前記スロットルボデーの軸受に支持されているスロットルシャフトと、前記スロットルシャフトに固定されて、前記吸気通路の開度を調整可能な円板状のスロットルバルブとを有する吸気弁装置であって、
前記スロットルシャフトには、前記スロットルバルブが挿入されるバルブ挿入スリットが径方向に貫通した状態で形成されており、
前記バルブ挿入スリットに挿入された前記スロットルバルブが締結機構により前記スロットルシャフトに固定される構成であり、
前記スロットルシャフトの前記バルブ挿入スリットは、スリット中央部と、前記スリット中央部の軸方向一端側と他端側とから軸方向に離れるにつれて拡開する一対のテーパ部とを有しており、
前記スロットルバルブは、前記バルブ挿入スリットのテーパ部の位置で前記締結機構により前記スロットルシャフトに固定される吸気弁装置。
発明の詳細な説明
【技術分野】
【0001】
本技術は、吸気通路を備えるスロットルボデーと、前記吸気通路を横切って前記スロットルボデーの軸受に支持されているスロットルシャフトと、前記スロットルシャフトに固定されて、前記吸気通路の開度を調整可能な円板状のスロットルバルブとを有する吸気弁装置に関する。
続きを表示(約 2,300 文字)
【背景技術】
【0002】
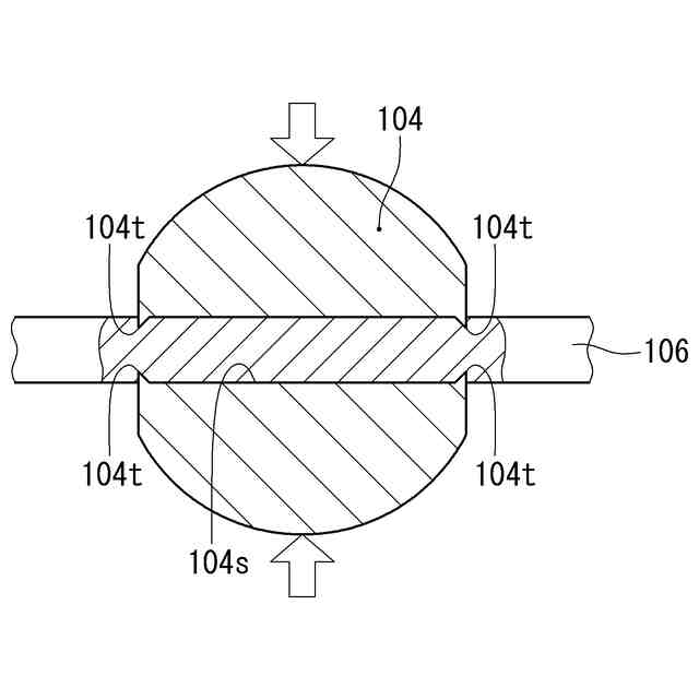
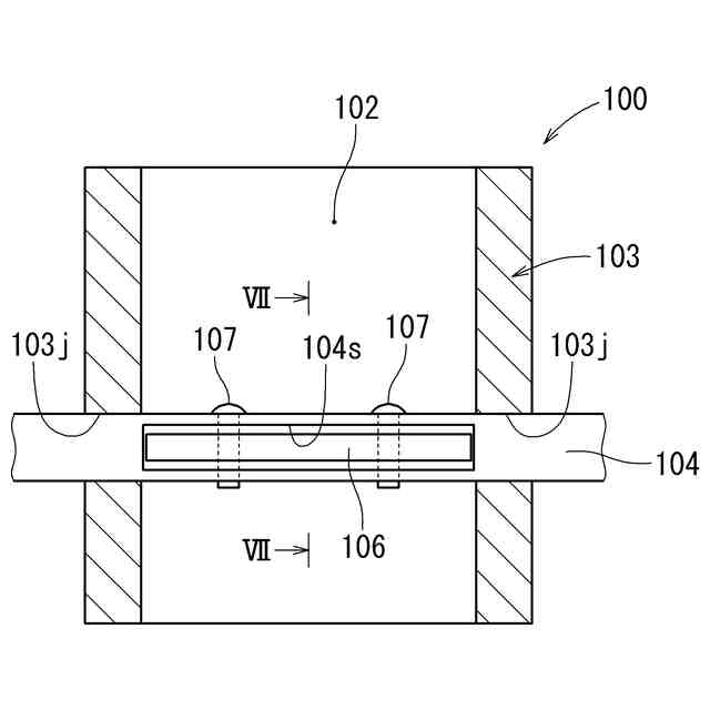
上記した吸気弁装置に関する技術が特許文献1に記載されている。特許文献1に記載の吸気弁装置100は、図6に示すように、吸気通路102が形成されたスロットルボデー103を備えている。また、吸気弁装置100は、吸気通路102を横切ってスロットルボデー103の軸受103jに支持されているスロットルシャフト104と、前記スロットルシャフト104に固定されており、吸気通路102の開度を調整可能な円板状のスロットルバルブ106とを備えている。
【0003】
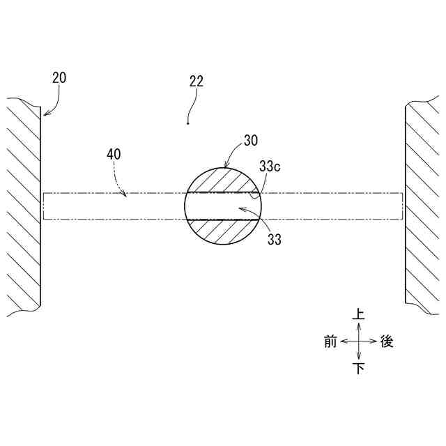
スロットルシャフト104には、図6、図7に示すように、スロットルバルブ106が挿入されるバルブ挿入スリット104sが径方向に貫通した状態で形成されている。さらに、バルブ挿入スリット104sの両開口部の位置には、図7に示すように、先端が尖ったトゲ状の突片104tが形成されている。そして、バルブ挿入スリット104sに挿入されたスロットルバルブ106がスクリュー107によりスロットルシャフト104に固定される。このとき、バルブ挿入スリット104sの両開口部の突片104tがスロットルバルブ106の表面、及び裏面に食い込むため、スロットルシャフト104に対するスロットルバルブ106の位置ずれを防止できる。ここで、トゲ状の突片104tは、切削加工の際のバリ等が好適に活用される。
【先行技術文献】
【特許文献】
【0004】
特開2012-172544号
【発明の概要】
【発明が解決しようとする課題】
【0005】
前記吸気弁装置100では、スロットルシャフト104のバルブ挿入スリット104sにトゲ状の突片104tを形成し、それらのトゲ状の突片104tをスロットルバルブ106の表面、及び裏面に食い込ませて、スロットルバルブ106の位置ずれを防止する構成である。しかし、バリ等によりトゲ状の突片104tを形成する構成では、位置ずれ防止機能のばらつきが大きくなり、効果が安定しない。
【0006】
本技術は、上記問題点を解決するためになされたものであり、本発明が解決しようとする課題は、スロットルバルブをスロットルシャフトに固定する際、スロットルバルブの位置ずれ防止機能を安定化させることである。
【課題を解決するための手段】
【0007】
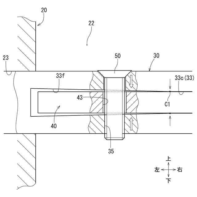
上記した課題は、各技術によって解決される。第1の技術は、吸気通路を備えるスロットルボデーと、前記吸気通路を横切って前記スロットルボデーの軸受に支持されているスロットルシャフトと、前記スロットルシャフトに固定されて、前記吸気通路の開度を調整可能な円板状のスロットルバルブとを有する吸気弁装置であって、前記スロットルシャフトには、前記スロットルバルブが挿入されるバルブ挿入スリットが径方向に貫通した状態で形成されており、前記バルブ挿入スリットに挿入された前記スロットルバルブが締結機構により前記スロットルシャフトに固定される構成であり、前記スロットルシャフトの前記バルブ挿入スリットは、スリット中央部と、前記スリット中央部の軸方向一端側と他端側とから軸方向に離れるにつれて拡開する一対のテーパ部とを有しており、前記スロットルバルブは、前記バルブ挿入スリットのテーパ部の位置で前記締結機構により前記スロットルシャフトに固定される。
【0008】
第1の技術によると、スロットルシャフトのバルブ挿入スリットは、スリット中央部と、前記スリット中央部の軸方向一端側と他端側とから軸方向に離れるにつれて拡開する一対のテーパ部とを有している。このため、スロットルバルブがスロットルシャフトのバルブ挿入スリットに挿入されると、スロットルバルブとバルブ挿入スリットのテーパ部間には隙間が形成される。そして、スロットルバルブは、バルブ挿入スリットのテーパ部の位置で締結機構によりスロットルシャフトに固定される。これにより、スロットルバルブは、締結機構の締結により、バルブ挿入スリットのスリット中央部の位置で表面側と裏面側とから押圧される。即ち、締結機構によりスロットルバルブがスロットルシャフトに固定された状態で、バルブ挿入スリットにおけるスリット中央部、特にスリット中央部とテーパ部との境界部位の接圧が上昇する。これにより、スロットルシャフトに対するスロットルバルブの位置ずれが防止される。また、スロットルシャフトのバルブ挿入スリットをスリット中央部とテーパ部とから精度良く形成できるため、スロットルバルブの位置ずれ防止機能を安定化できる。
【発明の効果】
【0009】
本願の技術によると、スロットルバルブをスロットルシャフトに固定する際、スロットルバルブの位置ずれ防止機能を安定化できる。
【図面の簡単な説明】
【0010】
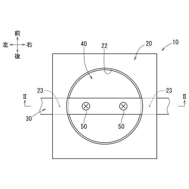
本発明の実施形態1に係る吸気弁装置を表す平面図である。
図1のII-II矢視断面図である。
スロットルシャフトのバルブ挿入スリットを表す側面図(図2のIII矢視拡大図)である。
図3のIV-IV矢視断面図である。
スロットルシャフトに対するスロットルバルブのスクリューによる固定構造を表す縦断面図である。
従来の吸気弁装置を表す縦断面図である。
図6のVII-VII矢視断面図である。
【発明を実施するための形態】
(【0011】以降は省略されています)
この特許をJ-PlatPat(特許庁公式サイト)で参照する
関連特許
愛三工業株式会社
冷却器
2日前
愛三工業株式会社
集電体
2日前
愛三工業株式会社
マスク
25日前
愛三工業株式会社
固定構造
1か月前
愛三工業株式会社
食品容器
15日前
愛三工業株式会社
樹脂部材
1か月前
愛三工業株式会社
吸着装置
2日前
愛三工業株式会社
樹脂部材
1か月前
愛三工業株式会社
電極構造体
29日前
愛三工業株式会社
電圧変換装置
1か月前
愛三工業株式会社
ガス吸着装置
1か月前
愛三工業株式会社
燃料供給装置
1か月前
愛三工業株式会社
インシュレータ
2日前
愛三工業株式会社
燃料電池システム
1か月前
愛三工業株式会社
無人搬送システム
23日前
愛三工業株式会社
燃料電池システム
29日前
愛三工業株式会社
温度計測モジュール
1か月前
愛三工業株式会社
水素エンジンシステム
15日前
愛三工業株式会社
ガス燃料用レギュレータ
2日前
愛三工業株式会社
ハイブリッド車両の制御装置
18日前
愛三工業株式会社
吸着体及びこれを用いた吸着装置
17日前
愛三工業株式会社
液化ガス利用システム及び自動車
2か月前
愛三工業株式会社
アクチュエータ、バルブ及びサーモスイッチ
17日前
個人
擬似オイル発電装置
8日前
ダイハツ工業株式会社
発電装置
3日前
トヨタ自動車株式会社
制御装置
2日前
トヨタ自動車株式会社
エンジン制御装置
24日前
Astemo株式会社
内燃機関の制御装置
2日前
トヨタ自動車株式会社
内燃機関の制御装置
2日前
トヨタ自動車株式会社
フレックス燃料車両
15日前
トヨタ自動車株式会社
内燃機関の制御装置
15日前
川崎重工業株式会社
ガスタービンエンジン
25日前
トヨタ自動車株式会社
水素エンジンの制御装置
23日前
富士電機株式会社
駆動回路
23日前
スズキ株式会社
多気筒エンジンの制御装置
17日前
三菱重工業株式会社
ガスタービン起動方法
25日前
続きを見る
他の特許を見る