TOP
|
特許
|
意匠
|
商標
特許ウォッチ
Twitter
他の特許を見る
公開番号
2025138279
公報種別
公開特許公報(A)
公開日
2025-09-25
出願番号
2024037283
出願日
2024-03-11
発明の名称
電圧変換装置
出願人
愛三工業株式会社
代理人
弁理士法人 快友国際特許事務所
主分類
H02M
3/28 20060101AFI20250917BHJP(電力の発電,変換,配電)
要約
【課題】幅広い範囲の変圧比において効率良く電圧を変換することができる技術を提供する。
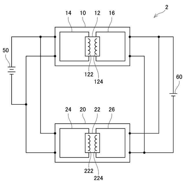
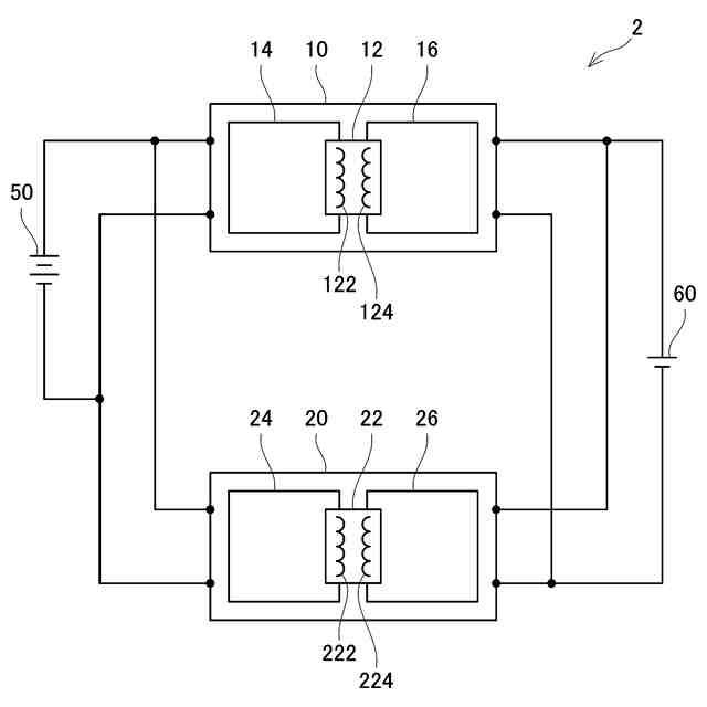
【解決手段】電圧変換装置は、第1DC-DCコンバータと第2DC-DCコンバータを備えている。第1DC-DCコンバータは、電源と蓄電池に接続されており、電源から入力される電圧を変換して蓄電池に出力する。第2DC-DCコンバータは、第1DC-DCコンバータと並列で電源と蓄電池に接続されており、電源から入力される電圧を変換して蓄電池に出力する。第1DC-DCコンバータと第2DC-DCコンバータは、それぞれ、トランスを備える絶縁型のDC-DCコンバータである。第1DC-DCコンバータにおけるトランスの巻き数比は、第2DC-DCコンバータにおけるトランスの巻き数比と異なる。
【選択図】図1
特許請求の範囲
【請求項1】
電源から入力される電圧を変換して蓄電池に出力する電圧変換装置であって、
前記電源と前記蓄電池に接続されており、前記電源から入力される電圧を変換して前記蓄電池に出力する第1DC-DCコンバータと、
前記第1DC-DCコンバータと並列で前記電源と前記蓄電池に接続されており、前記電源から入力される電圧を変換して前記蓄電池に出力する第2DC-DCコンバータと、を備え、
前記第1DC-DCコンバータと前記第2DC-DCコンバータは、それぞれ、トランスを備える絶縁型のDC-DCコンバータであり、
前記第1DC-DCコンバータにおける前記トランスの巻き数比は、前記第2DC-DCコンバータにおける前記トランスの巻き数比と異なる、電圧変換装置。
続きを表示(約 290 文字)
【請求項2】
請求項1に記載の電圧変換装置であって、
前記蓄電池は、第1蓄電池と第2蓄電池を含み、
前記第1DC-DCコンバータと前記第2DC-DCコンバータは、並列で前記第1蓄電池に接続されていると共に、並列で前記第2蓄電池に接続されており、
前記第1DC-DCコンバータは、リレーを介して前記第2蓄電池に接続されており、
前記第2DC-DCコンバータは、リレーを介して前記第1蓄電池に接続されている、電圧変換装置。
【請求項3】
請求項1又は2に記載の電圧変換装置であって、
電動車両に搭載される電圧変換装置。
発明の詳細な説明
【技術分野】
【0001】
本明細書に開示する技術は、電圧変換装置に関する。
続きを表示(約 1,600 文字)
【背景技術】
【0002】
特許文献1には、電源から入力される電圧を変換して出力する電圧変換装置が開示されている。特許文献1の電圧変換装置は、電源に接続されている第1コンバータと、第1コンバータと並列で電源に接続されている第2コンバータとを備えている。第1コンバータと第2コンバータは、それぞれ、トランスを備える絶縁型のコンバータであり、電源から入力される電圧を変換して負荷に出力する。
【先行技術文献】
【特許文献】
【0003】
特開平10-225126号公報
【発明の概要】
【発明が解決しようとする課題】
【0004】
特許文献1の電圧変換装置は、負荷に出力する出力電流を、各コンバータに均等に分担させることによって、装置全体の寿命および信頼性を向上させることを目的としているが、更なる改善の余地がある。本明細書は、幅広い範囲の変圧比において効率良く電圧を変換することができる技術を提供する。
【課題を解決するための手段】
【0005】
本技術の第1の態様は、電源から入力される電圧を変換して蓄電池に出力する電圧変換装置を開示する。電圧変換装置は、前記電源と前記蓄電池に接続されており、前記電源から入力される電圧を変換して前記蓄電池に出力する第1DC-DCコンバータと、前記第1DC-DCコンバータと並列で前記電源と前記蓄電池に接続されており、前記電源から入力される電圧を変換して前記蓄電池に出力する第2DC-DCコンバータと、を備えている。前記第1DC-DCコンバータと前記第2DC-DCコンバータは、それぞれ、トランスを備える絶縁型のDC-DCコンバータであってもよい。前記第1DC-DCコンバータにおける前記トランスの巻き数比は、前記第2DC-DCコンバータにおける前記トランスの巻き数比と異なっていてもよい。
【0006】
この構成によると、第1DC-DCコンバータと第2DC-DCコンバータでトランスの巻き数比が異なるので、第1DC-DCコンバータにおいて効率良く電圧を変換することができる変圧比と、第2DC-DCコンバータにおいて効率良く電圧を変換することができる変圧比とが異なる。そのため、第1DC-DCコンバータと第2DC-DCコンバータを用いることにより、幅広い範囲の変圧比において効率良く電圧を変換することができる。
【0007】
第2の態様では、上記第1の態様において、前記蓄電池は、第1蓄電池と第2蓄電池を含んでいてもよい。前記第1DC-DCコンバータと前記第2DC-DCコンバータは、並列で前記第1蓄電池に接続されていると共に、並列で前記第2蓄電池に接続されていてもよい。前記第1DC-DCコンバータは、リレーを介して前記第2蓄電池に接続されていてもよい。前記第2DC-DCコンバータは、リレーを介して前記第1蓄電池に接続されていてもよい。
【0008】
この構成によると、異常時にリレーを切断することにより、第1DC-DCコンバータと第2蓄電池の接続を遮断することができる一方で、第1DC-DCコンバータと第1蓄電池の接続を維持することができる。同様に、第2DC-DCコンバータと第1蓄電池の接続を遮断することができる一方で、第2DC-DCコンバータと第2蓄電池の接続を維持することができる。よって、冗長構成を担保することができる。
【0009】
第3の態様では、上記第1又は第2の態様において、電動車両に搭載されていてもよい。
【0010】
この構成によると、電動車両において幅広い範囲の変圧比において効率良く電圧を変換することができる。
【図面の簡単な説明】
(【0011】以降は省略されています)
この特許をJ-PlatPat(特許庁公式サイト)で参照する
関連特許
愛三工業株式会社
ヒータ
1日前
愛三工業株式会社
液体ポンプ
7日前
愛三工業株式会社
燃料供給装置
1日前
愛三工業株式会社
燃料供給装置
1日前
愛三工業株式会社
燃料電池システム
3日前
愛三工業株式会社
スナップフィット結合構造
1日前
愛三工業株式会社
集電体の製造方法、及び集電体を製造するための中間体
1日前
愛三工業株式会社
集電体、集電体を製造するための中間体及び集電体の製造方法
7日前
愛三工業株式会社
電極構造体の製造方法、及び電極構造体を製造するための中間体
1日前
個人
高圧電気機器の開閉器
23日前
キヤノン電子株式会社
モータ
1か月前
株式会社東光高岳
充電器
3日前
カヤバ株式会社
制御装置
1日前
東洋アルミニウム株式会社
発電体
2日前
株式会社アイドゥス企画
減反モータ
23日前
株式会社デンソー
端子台
16日前
株式会社ダイヘン
充電装置
2日前
株式会社デンソー
回転電機
7日前
株式会社ダイヘン
送配電装置
7日前
株式会社不二越
空冷式油圧装置
7日前
ローム株式会社
半導体集積回路
14日前
本田技研工業株式会社
回転電機
9日前
富士電機株式会社
電力変換装置
7日前
富士電機株式会社
電力変換装置
7日前
矢崎総業株式会社
電源回路
22日前
株式会社東光高岳
充電対象切換システム
3日前
株式会社日立製作所
回転電機
14日前
株式会社TMEIC
制御装置
15日前
矢崎総業株式会社
給電装置
15日前
ローム株式会社
モータドライバ回路
1か月前
株式会社大林組
電力管理用制御装置
1日前
アズビル株式会社
タービン式流量制御装置
2日前
個人
非対称鏡像力を有する4層PWB電荷搬送体
1か月前
日産自動車株式会社
ロータシャフト
1か月前
日産自動車株式会社
ロータシャフト
1か月前
大和ハウス工業株式会社
敷設用機器
15日前
続きを見る
他の特許を見る