TOP
|
特許
|
意匠
|
商標
特許ウォッチ
Twitter
他の特許を見る
10個以上の画像は省略されています。
公開番号
2025181038
公報種別
公開特許公報(A)
公開日
2025-12-11
出願番号
2024088782
出願日
2024-05-31
発明の名称
燃料供給装置
出願人
愛三工業株式会社
代理人
弁理士法人岡田国際特許事務所
主分類
F02M
37/00 20060101AFI20251204BHJP(燃焼機関;熱ガスまたは燃焼生成物を利用する機関設備)
要約
【課題】燃料排出穴を備える弁ケースを成形する際の型構造を簡素化することである。
【解決手段】燃料タンクT内の底部に設置されたサブタンク30と、燃料タンクT内からサブタンク30内に導かれ、燃料フィルタ34を通過した燃料をエンジンに圧送する燃料ポンプと、燃料ポンプから吐出された燃料の圧力を調整するリリーフ弁と、サブタンク30上に設けられておりリリーフ弁を収納する弁ケース53と、を備える燃料供給装置10であって、弁ケース53には、リリーフ弁から流出した余剰燃料を排出する燃料排出穴534hが弁ケース53の外周壁を貫通して形成されており、燃料排出穴534hは下向きで、サブタンク30の燃料受け入れ開口32eに対向するように位置決めされている。
【選択図】図1
特許請求の範囲
【請求項1】
燃料タンク内の底部に設置されたサブタンクと、前記燃料タンク内から前記サブタンク内に導かれ、燃料フィルタを通過した燃料をエンジンに圧送する燃料ポンプと、前記燃料ポンプから吐出された燃料の圧力を調整するリリーフ弁と、前記サブタンク上に設けられており前記リリーフ弁を収納する弁ケースと、を備える燃料供給装置であって、
前記弁ケースには、前記リリーフ弁から流出した余剰燃料を排出する燃料排出穴が前記弁ケースの外周壁を貫通して形成されており、前記燃料排出穴は下向きで、前記サブタンクの燃料受け入れ開口に対向するように位置決めされている燃料供給装置。
続きを表示(約 470 文字)
【請求項2】
請求項1に記載された燃料供給装置であって、
前記サブタンクの燃料受け入れ開口の周囲には、前記弁ケースの燃料排出穴から流出した余剰燃料を前記燃料受け入れ開口に導くガイド壁部が上方に突出するように形成されている燃料供給装置。
【請求項3】
請求項1に記載された燃料供給装置であって、
前記弁ケースは、ケース本体部と、そのケース本体部に対して同軸に連結されるキャップ部とを備え、その弁ケースの軸心が横向きとなるように配置されており、
前記キャップ部は、円筒部と、その円筒部の先端側を塞ぐ蓋部とからなり、前記燃料排出穴は前記円筒部と前記蓋部との境界部分を跨いで形成されている燃料供給装置。
【請求項4】
請求項2に記載された燃料供給装置であって、
前記サブタンクの燃料受け入れ開口は、そのサブタンクの角部の上面に形成されており 、前記ガイド壁部は、前記サブタンクの角部を構成する隣り合う縦壁部を上方に延長し た位置で、平面L字形に形成されている燃料供給装置。
発明の詳細な説明
【技術分野】
【0001】
本技術は、燃料タンク内の底部に設置されたサブタンクと、前記燃料タンク内から前記サブタンク内に導かれ、前記燃料フィルタを通過した燃料をエンジンに圧送する燃料ポンプと、前記燃料ポンプから吐出された燃料の圧力を調整するリリーフ弁と、前記サブタンク上に設けられており前記リリーフ弁を収納する弁ケースとを備える燃料供給装置に関する。
続きを表示(約 1,800 文字)
【背景技術】
【0002】
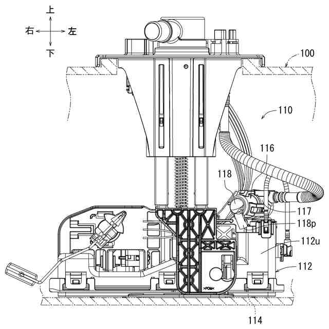
上記した燃料供給装置に関する技術が特許文献1に記載されている。特許文献1に記載の燃料供給装置110は、図8に示すように、燃料タンク100の底部に設置されたサブタンク112と、燃料タンク100内からサブタンク112内に導かれ、燃料フィルタ114を通過した燃料をエンジン(図示省略)に圧送する燃料ポンプ(図示省略)とを備えている。また、燃料供給装置110は、前記燃料ポンプから吐出された燃料の圧力を調整するリリーフ弁(図示省略)と、サブタンク112上に設けられており前記リリーフ弁を収納する弁ケース116とを備えている。
【0003】
弁ケース116は横向きに設けられており、図9に示すように、ケース本体部117と、そのケース本体部117に対して同軸に連結されるキャップ部118とから構成されている。キャップ部118は、有天円筒状に形成されており、そのキャップ部118の天井部分に前記リリーフ弁から流出した余剰燃料を排出する燃料排出パイプ118pが形成されている。燃料排出パイプ118pは下方に延びるように形成されており、サブタンク112の上角部の燃料受け入れ筒部112uに対して燃料を導けるように構成されている。
【先行技術文献】
【特許文献】
【0004】
特許第6907145号
【発明の概要】
【発明が解決しようとする課題】
【0005】
前記燃料供給装置110の弁ケース116では、キャップ部118の天井部分に燃料排出パイプ118pを下方に延びるように形成している。このため、キャップ部118を型成形する際に、燃料排出パイプ118pがあることで型構造が複雑化し、キャップ部118の製造コストがアップする。
【0006】
本技術は、上記問題点を解決するためになされたものであり、本発明が解決しようとする課題は、燃料排出穴を備える弁ケースを成形する際の型構造を簡素化することである。
【課題を解決するための手段】
【0007】
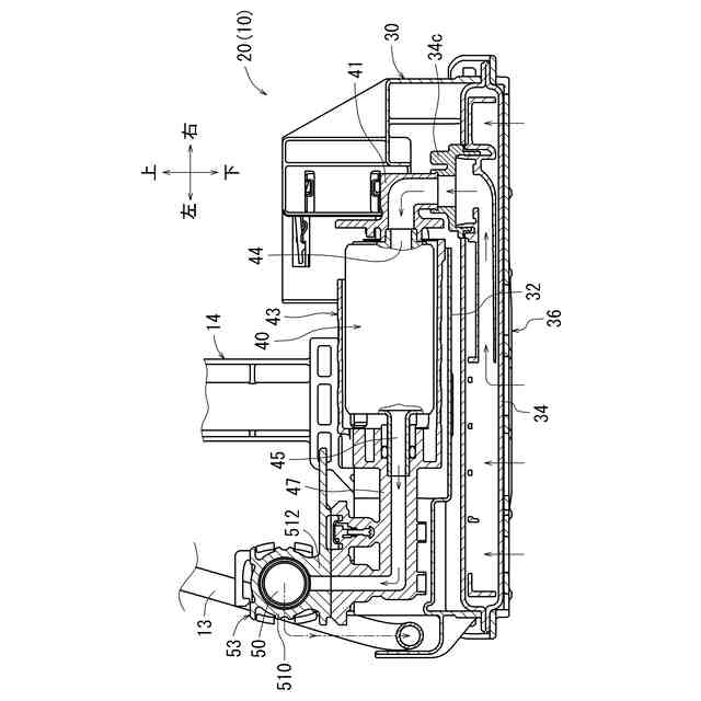
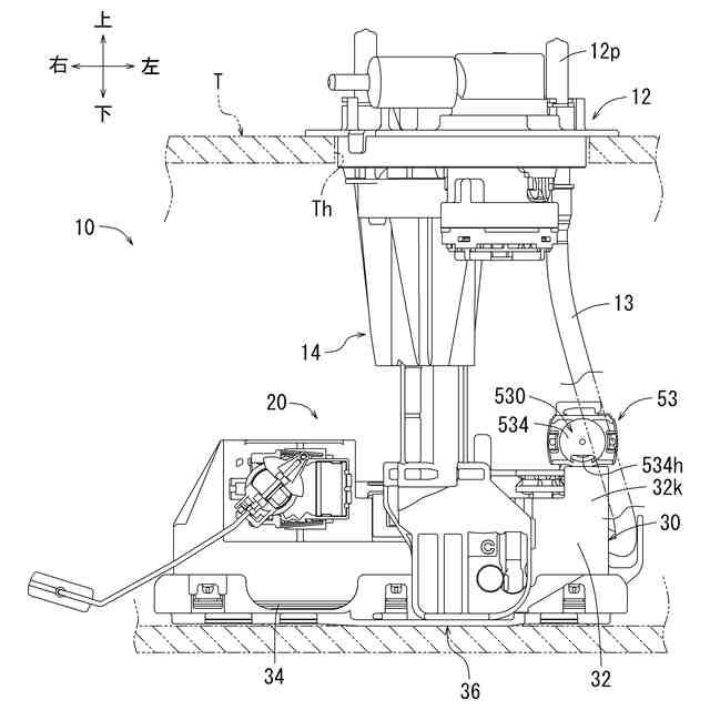
上記した課題は、各技術によって解決される。第1の技術は、燃料タンク内の底部に設置されたサブタンクと、前記燃料タンク内から前記サブタンク内に導かれ、燃料フィルタを通過した燃料をエンジンに圧送する燃料ポンプと、前記燃料ポンプから吐出された燃料の圧力を調整するリリーフ弁と、前記サブタンク上に設けられており前記リリーフ弁を収納する弁ケースと、を備える燃料供給装置であって、前記弁ケースには、前記リリーフ弁から流出した余剰燃料を排出する燃料排出穴が前記弁ケースの外周壁を貫通して形成されており、前記燃料排出穴は下向きで、前記サブタンクの燃料受け入れ開口に対向するように位置決めされている。
【0008】
第1の技術によると、弁ケースには、リリーフ弁から流出した余剰燃料を排出する燃料排出穴が前記弁ケースの外周壁を貫通して形成されている。このため、従来のように、弁ケースに燃料排出パイプを形成する場合と比較して、パイプ状の突出部が無い分だけ前記弁ケースを成形する際の型構造を簡素化できる。また、弁ケースの燃料排出穴は下向きで、サブタンクの燃料受け入れ開口に対向するように位置決めされている。このため、弁ケースの燃料排出穴にパイプ状の突出部が無くても、その燃料排出穴から流出した余剰燃料をサブタンク内に戻せるようになる。
【0009】
第2の技術によると、サブタンクの燃料受け入れ開口の周囲には、弁ケースの燃料排出穴から流出した余剰燃料を前記燃料受け入れ開口に導くガイド壁部が上方に突出するように形成されている。このため、弁ケースの燃料排出穴から流出した余剰燃料がさらにサブタンク内に戻り易くなる。
【0010】
第3の技術によると、弁ケースは、ケース本体部と、そのケース本体部に対して同軸に連結されるキャップ部とを備え、その弁ケースの軸心が横向きとなるように配置されており、前記キャップ部は、円筒部と、その円筒部の先端側を塞ぐ蓋部とからなり、前記燃料排出穴は前記円筒部と前記蓋部との境界部分を跨いで形成されている。このため、燃料排出穴から流出する燃料がキャップ部の蓋部にガイドされることで、前記キャップ部の軸方向外側に広がり難くなる。
(【0011】以降は省略されています)
この特許をJ-PlatPat(特許庁公式サイト)で参照する
関連特許
他の特許を見る