TOP
|
特許
|
意匠
|
商標
特許ウォッチ
Twitter
他の特許を見る
公開番号
2025178837
公報種別
公開特許公報(A)
公開日
2025-12-09
出願番号
2024085670
出願日
2024-05-27
発明の名称
燃料電池システム
出願人
愛三工業株式会社
代理人
弁理士法人コスモス国際特許商標事務所
主分類
H01M
8/04858 20160101AFI20251202BHJP(基本的電気素子)
要約
【課題】燃料電池が発電状態のときと非発電状態のときとでの駆動装置の駆動の挙動差を抑制できる燃料電池システムを提供すること。
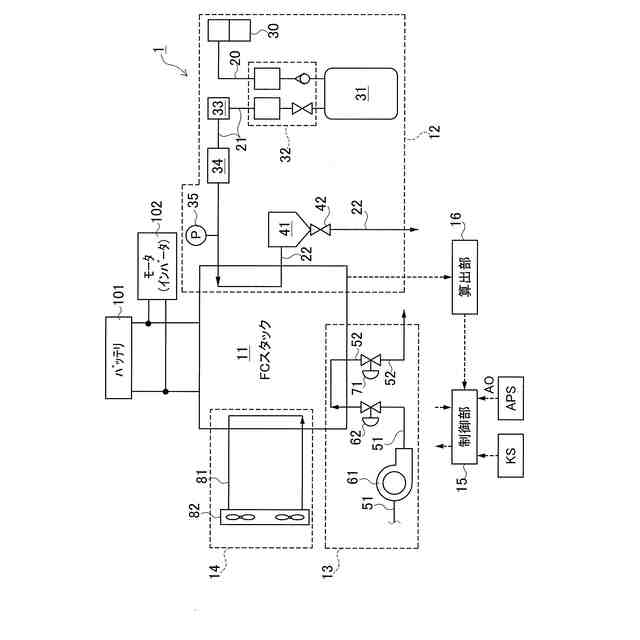
【解決手段】本開示の一態様は、燃料電池システム1において、モータ102の駆動を制御する制御部15と、FCスタック11が間欠停止状態から成り行き発電状態に切り替わるまでのFC応答性時間RTに基づいて算出されるなまし値SVを算出する算出部16と、を有し、制御部15は、FCスタック11が成り行き発電状態のときにモータ102の出力要求があった場合、及び、FCスタック11が間欠停止状態のときにモータ102の出力要求があった場合、のどちらの場合にも、モータ102の出力をなまし値SVに基づいて算出した要求出力RO2に制御することにより、モータ102の出力の変化を緩やかにするなまし制御を行う。
【選択図】図5
特許請求の範囲
【請求項1】
燃料電池と、前記燃料電池が発電した電力を充電するバッテリと、前記燃料電池および/または前記バッテリから電力の供給を受けて駆動する駆動装置と、を有し、前記燃料電池の出力電流が、前記バッテリの電圧に依存する燃料電池システムにおいて、
前記駆動装置の駆動を制御する制御部と、
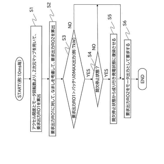
前記燃料電池が発電を停止した非発電状態から所定の電力量の発電を行う発電状態に切り替わるまでの切り替え時間に基づいて、なまし値を算出する算出部と、を有し、
前記制御部は、前記燃料電池が前記発電状態のときに前記駆動装置の出力要求があった場合、及び、前記燃料電池が前記非発電状態のときに前記駆動装置の出力要求があった場合、のどちらの場合にも、前記駆動装置の出力を前記なまし値に基づいて算出した制御値に制御することにより、前記駆動装置の出力の変化を緩やかにするなまし制御を行うこと、
を特徴とする燃料電池システム。
続きを表示(約 280 文字)
【請求項2】
請求項1の燃料電池システムにおいて、
前記なまし値は、前記燃料電池が前記非発電状態から前記発電状態へ切り替わる毎に前記切り替え時間に基づいて算出した値の平均値であること、
を特徴とする燃料電池システム。
【請求項3】
請求項1の燃料電池システムにおいて、
前記なまし値は、前記燃料電池システムが搭載される車両のキースイッチがオンになって、最初に前記燃料電池が前記非発電状態から前記発電状態へ切り替わるときの前記切り替え時間に基づいて算出した値であること、
を特徴とする燃料電池システム。
発明の詳細な説明
【技術分野】
【0001】
本開示は、燃料ガスと酸化剤ガスの供給を受けて発電する燃料電池を有する燃料電池システムに関する。
続きを表示(約 1,700 文字)
【背景技術】
【0002】
特許文献1には、燃料ガス系からの燃料ガスの供給を受けて、かつ、酸化剤ガス系からの酸化剤ガスの供給を受けて発電する燃料電池を有する燃料電池システムが開示されている。
【先行技術文献】
【特許文献】
【0003】
特開2022-185247号公報
【発明の概要】
【発明が解決しようとする課題】
【0004】
DCDCコンバータを有さないDCDCコンバータレスの燃料電池システムでは、燃料電池は、その発電時にバッテリの電圧に応じた成り行き発電を行うが、バッテリのSOC(すなわち、充電率)が高くなると発電を間欠停止する。ここで、駆動装置の要求出力がバッテリのMAX出力(すなわち、最大出力)を超えた場合には、バッテリの出力に加えて燃料電池の出力で駆動装置を駆動させる。しかしながら、このとき、燃料電池が間欠停止状態である場合には、燃料電池が成り行き発電状態に復帰するまでに燃料電池の出力に時間遅れが生じてしまう。すると、燃料電池が成り行き発電状態である場合と、燃料電池が間欠停止状態である場合とで、駆動装置の駆動の挙動に差が生じてしまう。そうすると、燃料電池システムが搭載される車両において、その加速性が安定せず、車両のユーザが不快感を覚えるおそれがある。
【0005】
ここで、特許文献1においては、燃料電池が成り行き発電状態であるときと、燃料電池が間欠停止状態であるときとで、駆動装置の駆動の挙動に差を生じることに対する対策については、何ら開示されていない。
【0006】
そこで、本開示は上記した課題を解決するためになされたものであり、燃料電池が発電状態のときと非発電状態のときとでの駆動装置の駆動の挙動差を抑制できる燃料電池システムを提供することを目的とする。
【課題を解決するための手段】
【0007】
上記課題を解決するためになされた本開示の一形態は、燃料電池と、前記燃料電池が発電した電力を充電するバッテリと、前記燃料電池および/または前記バッテリから電力の供給を受けて駆動する駆動装置と、を有し、前記燃料電池の出力電流が、前記バッテリの電圧に依存する燃料電池システムにおいて、前記駆動装置の駆動を制御する制御部と、前記燃料電池が発電を停止した非発電状態から所定の電力量の発電を行う発電状態に切り替わるまでの切り替え時間に基づいて、なまし値を算出する算出部と、を有し、前記制御部は、前記燃料電池が前記発電状態のときに前記駆動装置の出力要求があった場合、及び、前記燃料電池が前記非発電状態のときに前記駆動装置の出力要求があった場合、のどちらの場合にも、前記駆動装置の出力を前記なまし値に基づいて算出した制御値に制御することにより、前記駆動装置の出力の変化を緩やかにするなまし制御を行うこと、を特徴とする。
【0008】
この態様によれば、駆動装置の出力要求があって駆動装置を駆動する場合に、燃料電池が発電状態であるときも、燃料電池が非発電状態であるときも、ともに、駆動装置の出力の変化を、要求される出力の変化よりも緩やかにするなまし制御を行う。これにより、燃料電池が発電状態のときと非発電状態のときとでの駆動装置の駆動の挙動差を抑制できる。そのため、燃料電池の発電の有無に関わらず、燃料電池システムが搭載される車両の加速性が安定して、車両のユーザが不快感を覚えることを防止できる。
【0009】
上記の態様においては、前記なまし値は、前記燃料電池が前記非発電状態から前記発電状態へ切り替わる毎に前記切り替え時間に基づいて算出した値の平均値であること、が好ましい。
【0010】
この態様によれば、なまし値を、燃料電池が非発電状態から発電状態へ切り替える毎に更新させることができる。そのため、燃料電池の切り替え時間の実際の状況に応じて、燃料電池が発電状態のときと非発電状態のときとでの駆動装置の駆動の挙動差を抑制できる。
(【0011】以降は省略されています)
この特許をJ-PlatPat(特許庁公式サイト)で参照する
関連特許
愛三工業株式会社
消火剤
12日前
愛三工業株式会社
冷却器
20日前
愛三工業株式会社
マスク
1か月前
愛三工業株式会社
集電体
20日前
愛三工業株式会社
吸着装置
20日前
愛三工業株式会社
樹脂部材
2か月前
愛三工業株式会社
固定構造
2か月前
愛三工業株式会社
樹脂部材
1か月前
愛三工業株式会社
食品容器
1か月前
愛三工業株式会社
液体ポンプ
5日前
愛三工業株式会社
燃料ポンプ
5日前
愛三工業株式会社
電極構造体
1か月前
愛三工業株式会社
水素分離膜
12日前
愛三工業株式会社
ガス吸着装置
1か月前
愛三工業株式会社
電力供給装置
2か月前
愛三工業株式会社
燃料供給装置
2か月前
愛三工業株式会社
電圧変換装置
2か月前
愛三工業株式会社
インシュレータ
20日前
愛三工業株式会社
燃料電池システム
2か月前
愛三工業株式会社
燃料電池システム
1か月前
愛三工業株式会社
燃料電池システム
1日前
愛三工業株式会社
無人搬送システム
1か月前
愛三工業株式会社
燃料電池システム
12日前
愛三工業株式会社
射出成形機用金型
7日前
愛三工業株式会社
温度計測モジュール
2か月前
愛三工業株式会社
金型のガス抜き構造
13日前
愛三工業株式会社
水素エンジンシステム
1か月前
愛三工業株式会社
ガス燃料用レギュレータ
20日前
愛三工業株式会社
飛行体用気体供給システム
12日前
愛三工業株式会社
ハイブリッド車両の制御装置
1か月前
愛三工業株式会社
吸着体及びこれを用いた吸着装置
1か月前
愛三工業株式会社
液化ガス利用システム及び自動車
2か月前
愛三工業株式会社
アクチュエータ、バルブ及びサーモスイッチ
1か月前
愛三工業株式会社
集電体、集電体を製造するための中間体及び集電体の製造方法
5日前
個人
三重コイル変圧器
今日
APB株式会社
蓄電セル
1か月前
続きを見る
他の特許を見る