TOP
|
特許
|
意匠
|
商標
特許ウォッチ
Twitter
他の特許を見る
公開番号
2025171789
公報種別
公開特許公報(A)
公開日
2025-11-20
出願番号
2024077456
出願日
2024-05-10
発明の名称
冷却器
出願人
愛三工業株式会社
代理人
弁理士法人 快友国際特許事務所
主分類
H01L
23/473 20060101AFI20251113BHJP(基本的電気素子)
要約
【課題】冷媒をスムーズに流すことができ、冷却効果を向上させることができる技術を提供する。
【解決手段】発熱体を冷却する冷却器は、発熱体に面する冷却面と、冷却面を冷却する冷媒が流れる冷却流路と、冷却流路に導入される冷媒が流れる導入流路と、導入流路と冷却流路を繋ぐ湾曲状の第1整流流路と、第1整流流路内に配置され、導入流路から冷却流路へ流れる冷媒を案内する1又は複数の第1整流板と、を備える。
【選択図】図1
特許請求の範囲
【請求項1】
発熱体を冷却する冷却器であって、
前記発熱体に面する冷却面と、
前記冷却面を冷却する冷媒が流れる冷却流路と、
前記冷却流路に導入される冷媒が流れる導入流路と、
前記導入流路と前記冷却流路を繋ぐ湾曲状の第1整流流路と、
前記第1整流流路内に配置され、前記導入流路から前記冷却流路へ流れる冷媒を案内する1又は複数の第1整流板と、を備える冷却器。
続きを表示(約 590 文字)
【請求項2】
請求項1に記載の冷却器であって、
少なくとも1つの前記第1整流板は、湾曲状の前記第1整流流路に沿って湾曲状に延びる第1湾曲部を備える、冷却器。
【請求項3】
請求項1又は2に記載の冷却器であって、
前記冷却流路から導出される冷媒が流れる導出流路と、
前記冷却流路と前記導出流路を繋ぐ湾曲状の第2整流流路と、
前記第2整流流路内に配置され、前記冷却流路から前記導出流路へ流れる冷媒を案内する1又は複数の第2整流板と、を備える冷却器。
【請求項4】
請求項3に記載の冷却器であって、
少なくとも1つの前記第2整流板は、湾曲状の前記第2整流流路に沿って湾曲状に延びる第2湾曲部を備える、冷却器。
【請求項5】
請求項1又は2に記載の冷却器であって、
前記冷却流路の内面が波形状に構成されている、冷却器。
【請求項6】
請求項1又は2に記載の冷却器であって、
前記冷却流路内に配置されている複数のピンを更に備える、冷却器。
【請求項7】
請求項6に記載の冷却器であって、
前記複数のピンは、第1の外径を有する1又は複数の第1ピンと、前記第1の外径よりも大きい第2の外径を有する1又は複数の第2ピンと、を含む、冷却器。
発明の詳細な説明
【技術分野】
【0001】
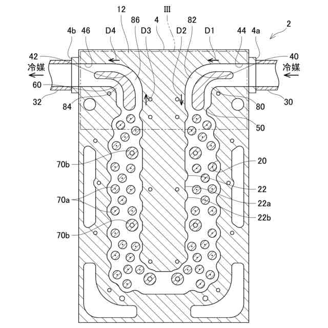
本明細書に開示する技術は、発熱体を冷却する冷却器に関する。
続きを表示(約 1,600 文字)
【背景技術】
【0002】
特許文献1に発熱体を冷却する冷却器が開示されている。特許文献1の冷却器は、発熱体に面する冷却面と、冷却面を冷却する冷媒が流れる冷却流路と、冷却流路に導入される冷媒が流れる導入流路と、導入流路と冷却流路を繋ぐ湾曲状の整流流路とを備えている。
【先行技術文献】
【特許文献】
【0003】
特開2018-113409号公報
【発明の概要】
【発明が解決しようとする課題】
【0004】
特許文献1の冷却器では、冷媒が導入流路から整流流路を通じて冷却流路へ流れるときに冷媒の流れが乱れて乱流が発生することがある。そうすると、冷却流路を流れる冷媒の流れが滞ることがあり、それによって冷却器による冷却効果が低下することがある。そこで本明細書は、冷媒をスムーズに流すことができ、冷却効果を向上させることができる技術を提供する。
【課題を解決するための手段】
【0005】
本技術の第1の態様では、発熱体を冷却する冷却器が、前記発熱体に面する冷却面と、前記冷却面を冷却する冷媒が流れる冷却流路と、前記冷却流路に導入される冷媒が流れる導入流路と、前記導入流路と前記冷却流路を繋ぐ湾曲状の第1整流流路と、前記第1整流流路内に配置され、前記導入流路から前記冷却流路へ流れる冷媒を案内する1又は複数の第1整流板と、を備える。
【0006】
この構成によると、湾曲状の第1整流流路により冷却流路に冷媒をスムーズに導入することができるものの、冷媒が第1整流流路を流れるときに乱流が発生することがある。しかしながら、上記の構成によると、湾曲状の第1整流流路を流れる冷媒の流れを第1整流板により整えることができる。これにより、冷却流路に導入される冷媒で乱流が発生することを抑制することができ、冷媒をスムーズに流すことができる。その結果、冷却流路内で冷媒の流れが滞ることを抑制することができ、冷却器による冷却効果を向上させることができる。
【0007】
第2の態様では、上記第1の態様において、少なくとも1つの前記第1整流板は、湾曲状の前記第1整流流路に沿って湾曲状に延びる第1湾曲部を備えていてもよい。この構成によると、湾曲状の第1整流流路に沿って冷媒をスムーズに流すことができ、冷却器による冷却効果を高めることができる。
【0008】
第3の態様では、上記第1又は第2の態様において、冷却器が、前記冷却流路から導出される冷媒が流れる導出流路と、前記冷却流路と前記導出流路を繋ぐ湾曲状の第2整流流路と、前記第2整流流路内に配置され、前記冷却流路から前記導出流路へ流れる冷媒を案内する1又は複数の第2整流板と、を備えていてもよい。
【0009】
この構成によると、湾曲状の第2整流流路により冷却流路から冷媒をスムーズに導出することができるものの、冷媒が第2整流流路を流れるときに乱流が発生することがある。しかしながら、上記の構成によると、湾曲状の第2整流流路を流れる冷媒の流れを第2整流板により整えることができる。これにより、冷却流路から導出される冷媒で乱流が発生することを抑制することができ、冷媒をスムーズに流すことができる。その結果、冷却流路内で冷媒の流れが滞ることを抑制することができ、冷却器による冷却効果を向上させることができる。
【0010】
第4の態様では、上記第1の態様において、少なくとも1つの前記第2整流板は、湾曲状の前記第2整流流路に沿って湾曲状に延びる第2湾曲部を備えていてもよい。この構成によると、湾曲状の第2整流流路に沿って冷媒をスムーズに流すことができ、冷却器による冷却効果を向上させることができる。
(【0011】以降は省略されています)
この特許をJ-PlatPat(特許庁公式サイト)で参照する
関連特許
愛三工業株式会社
冷却器
1日前
愛三工業株式会社
集電体
1日前
愛三工業株式会社
マスク
24日前
愛三工業株式会社
固定構造
1か月前
愛三工業株式会社
食品容器
14日前
愛三工業株式会社
樹脂部材
1か月前
愛三工業株式会社
吸着装置
1日前
愛三工業株式会社
樹脂部材
29日前
愛三工業株式会社
電極構造体
28日前
愛三工業株式会社
電圧変換装置
1か月前
愛三工業株式会社
ガス吸着装置
29日前
愛三工業株式会社
燃料供給装置
1か月前
愛三工業株式会社
インシュレータ
1日前
愛三工業株式会社
燃料電池システム
1か月前
愛三工業株式会社
無人搬送システム
22日前
愛三工業株式会社
燃料電池システム
28日前
愛三工業株式会社
温度計測モジュール
1か月前
愛三工業株式会社
水素エンジンシステム
14日前
愛三工業株式会社
ガス燃料用レギュレータ
1日前
愛三工業株式会社
ハイブリッド車両の制御装置
17日前
愛三工業株式会社
吸着体及びこれを用いた吸着装置
16日前
愛三工業株式会社
液化ガス利用システム及び自動車
2か月前
愛三工業株式会社
アクチュエータ、バルブ及びサーモスイッチ
16日前
APB株式会社
蓄電セル
28日前
東ソー株式会社
絶縁電線
1か月前
個人
フレキシブル電気化学素子
1か月前
マクセル株式会社
電源装置
22日前
株式会社東芝
端子台
22日前
日新イオン機器株式会社
イオン源
1か月前
株式会社ユーシン
操作装置
1か月前
ローム株式会社
半導体装置
29日前
オムロン株式会社
電磁継電器
1か月前
株式会社GSユアサ
蓄電装置
1日前
株式会社GSユアサ
蓄電装置
15日前
富士電機株式会社
電磁接触器
1日前
三菱電機株式会社
回路遮断器
9日前
続きを見る
他の特許を見る