TOP
|
特許
|
意匠
|
商標
特許ウォッチ
Twitter
他の特許を見る
10個以上の画像は省略されています。
公開番号
2025148067
公報種別
公開特許公報(A)
公開日
2025-10-07
出願番号
2024048645
出願日
2024-03-25
発明の名称
温度計測モジュール
出願人
愛三工業株式会社
代理人
弁理士法人太陽国際特許事務所
主分類
G01K
11/04 20060101AFI20250930BHJP(測定;試験)
要約
【課題】計測対象との接触位置のズレを低減させ、計測結果にバラつきが生じることを抑制することができる温度計測モジュールを得る。
【解決手段】温度計測モジュール10は、少なくとも計測温度範囲において気体となる特定物質H1を収容した計測部12と、計測部12の外表面12Aの少なくとも一部に設けられ、計測対象Pに接触する第1側面21と、計測部12の内側面12Bの少なくとも一部に設けられ、第1側面21を介して計測対象Pの熱が伝達される第2側面22と、を有する接触部20と、第2側面22に設けられ、計測温度範囲の特定温度未満で特定物質H1を吸着し、特定温度以上で特定物質H1を脱離させる吸着部30と、計測部12内の圧力に基づいて、計測対象Pの温度を検出する温度センサ部40と、を有する。
【選択図】図1
特許請求の範囲
【請求項1】
少なくとも計測温度範囲において気体となる特定物質を収容した計測部と、
前記計測部の外表面の少なくとも一部に設けられ、計測対象に接触する第1側面と、前記計測部の内側面の少なくとも一部に設けられ、前記第1側面を介して前記計測対象の熱が伝達される第2側面と、を有する接触部と、
前記第2側面に設けられ、前記計測温度範囲の特定温度未満で前記特定物質を吸着し、特定温度以上で前記特定物質を脱離させる吸着部と、
前記計測部内の圧力に基づいて、前記計測対象の温度を検出する温度センサ部と、を有する、
温度計測モジュール。
続きを表示(約 1,200 文字)
【請求項2】
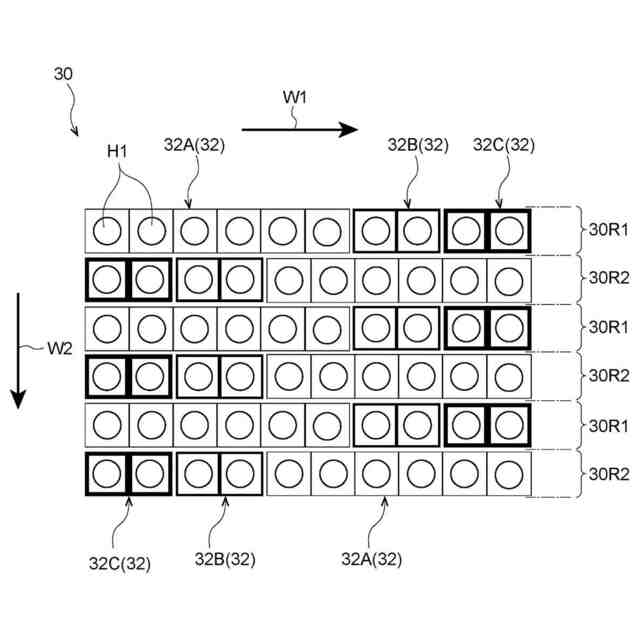
前記吸着部は、前記特定温度が互いに異なる複数種の吸着剤で構成されている、
請求項1に記載の温度計測モジュール。
【請求項3】
前記吸着部は、第1方向に沿って複数種の前記吸着剤を前記特定温度の昇順に配置した少なくとも1つの第1列部と、第1方向に沿って複数種の前記吸着剤を前記特定温度の降順に配置した少なくとも1つの第2列部とを有し、
前記第2側面には、前記第1列部と前記第2列部とが前記第1方向と異なる第2方向に沿って交互に配置されている、
請求項2に記載の温度計測モジュール。
【請求項4】
前記温度センサ部は、
前記計測部内に設けられ、計測部内の圧力を電圧に変換する圧電素子と、
前記圧電素子から出力される電圧に基づいて前記計測対象の温度を算出する算出部と、を備え、
前記吸着部は、前記計測対象の温度と前記圧電素子から出力される電圧との関係が線形となるように複数種の前記吸着剤の量が種類ごとに調整されている、
請求項2に記載の温度計測モジュール。
【請求項5】
前記吸着部は、前記接触部が前記計測対象に接触した状態で前記第2側面に生じる熱伝達速度のばらつきに応じて、熱伝達速度の速い部位ほど、複数種の前記吸着剤のうち前記特定温度の低い吸着剤が配置されている、
請求項2に記載の温度計測モジュール。
【請求項6】
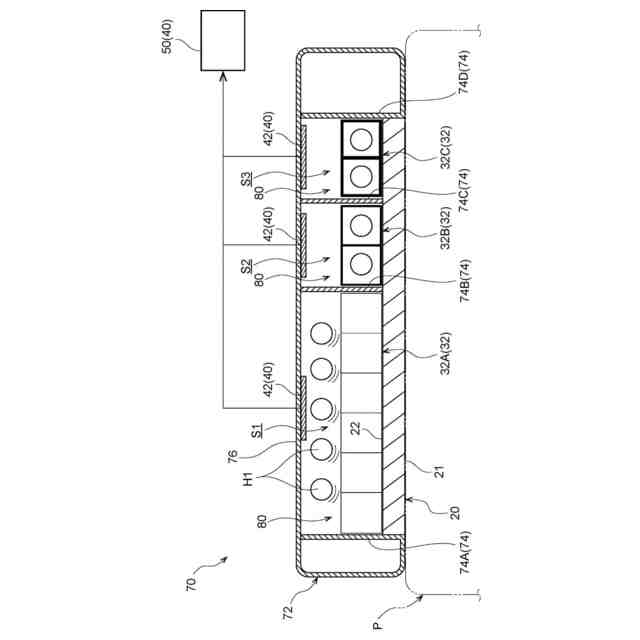
前記計測部は、内部空間を複数の部屋に区画する区画部を備え、
前記吸着部は、前記計測部の各部屋に設けられるとともに部屋毎に前記特定温度が互いに異なるように異なる種類の吸着剤を配置して構成されている、
請求項2に記載の温度計測モジュール。
【請求項7】
複数種の前記吸着剤は、単位量あたりの前記特定物質の吸着量が同一であるように構成されている、
請求項2に記載の温度計測モジュール。
【請求項8】
前記計測部は、内部空間を複数の部屋に区画する区画部を備え、
前記吸着部は、各部屋にそれぞれ設けられ、
前記温度センサ部は、前記部屋毎に前記計測対象の温度を検出するように構成されている、
請求項1又は請求項2に記載の温度計測モジュール。
【請求項9】
前記吸着部は、前記特定物質を吸着可能な金属有機構造体を含む吸着剤で構成されている、
請求項1又は請求項2に記載の温度計測モジュール。
【請求項10】
前記吸着部は、前記特定温度が互いに異なる複数種の前記吸着剤を備え、当該複数種の前記吸着剤は、有機配位子が架橋する金属イオンの金属種が互いに異なる金属有機構造体をそれぞれ含んで構成されている、
請求項2に記載の温度計測モジュール。
発明の詳細な説明
【技術分野】
【0001】
本発明は、温度計測モジュールに関する。
続きを表示(約 1,400 文字)
【背景技術】
【0002】
特許文献1には、2種類の異なる金属で形成した熱電素子の両金属線が被側温体に接触する接触板の両端側から接触板に沿って配置され、接触板中央付近で接合される技術が記載されている。
【先行技術文献】
【特許文献】
【0003】
特開平7-198504号公報
【発明の概要】
【発明が解決しようとする課題】
【0004】
ところで、特許文献1に記載の技術では、熱電素子(熱電対)が線状であるため、計測対象となる物体に接触する接触板の形状に制約が大きい。そのため、接触板と計測対象の接触位置のズレにより、計測結果にバラつきが生じる虞がある。
【0005】
本発明は上記課題を考慮し、計測対象との接触位置のズレを低減させ、計測結果にバラつきが生じることを抑制することができる温度計測モジュールを得ることを目的とする。
【課題を解決するための手段】
【0006】
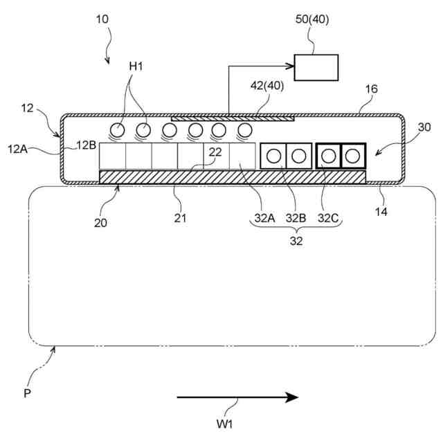
請求項1に記載の温度計測モジュールは、少なくとも計測温度範囲において気体となる特定物質を収容した計測部と、前記計測部の外表面の少なくとも一部に設けられ、計測対象に接触する第1側面と、前記計測部の内側面の少なくとも一部に設けられ、前記第1側面を介して前記計測対象の熱が伝達される第2側面と、を有する接触部と、前記第2側面に設けられ、前記計測温度範囲の特定温度未満で前記特定物質を吸着し、特定温度以上で前記特定物質を脱離させる吸着部と、前記計測部内の圧力に基づいて、前記計測対象の温度を検出する温度センサ部と、を有する。
【0007】
請求項1に記載の温度計測モジュールでは、計測温度範囲において気体となる特定物質を収容した計測部と、当該計測部に設けられた接触部を有している。接触部は、その第1側面が計測部の外表面の少なくとも一部に設けられており、計測対象に接触する。また、接触部は、その第2側面が計測部の内側面の少なくとも一部に設けられており、第2側面には、第1側面を介して計測対象の熱が伝達されるように構成されている。
【0008】
ここで、第2側面には、吸着部が設けられている。吸着部は、計測温度範囲の特定温度未満で特定物質を吸着し、特定温度以上で特定物質を脱離させるように構成されている。このため、例えば、第1側面と第2側面を経て計測対象から伝達される熱により、吸着部が特定温度以上になると、吸着部から特定物質が脱離し、測部内の圧力が上昇する。温度計測モジュールの備える温度センサ部は、このように、計測部内の圧力が計測対象の温度により変化することを利用して、計測部内の圧力に基づいて、計測対象の温度を検出する。
【0009】
かかる温度計測モジュールによれば、計測部内における特定物質の吸着と脱離による圧力変化で温度計測を行うため、従来の熱電対のように、計測対象との接触面の形状に対する制約が少ない。このため、計測対象に応じた接触面の設計が可能であり、その結果、計測対象との接触位置のズレを低減させ、計測結果にバラつきが生じることを抑制することができる。
【0010】
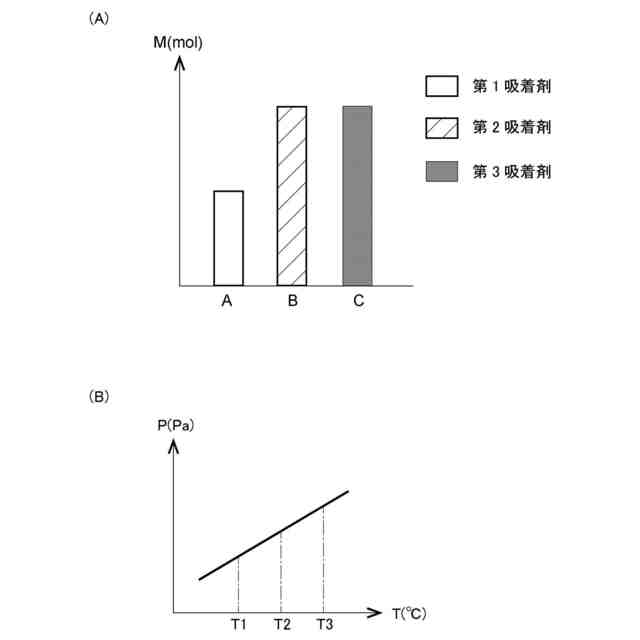
請求項2に記載の温度計測モジュールは、請求項1に記載の構成において、前記吸着部は、前記特定温度が互いに異なる複数種の吸着剤で構成されている。
(【0011】以降は省略されています)
この特許をJ-PlatPat(特許庁公式サイト)で参照する
関連特許
個人
視触覚センサ
1日前
ユニパルス株式会社
トルク変換器
1日前
ユニパルス株式会社
トルク変換器
1日前
ユニパルス株式会社
トルク変換器
1日前
日本特殊陶業株式会社
ガスセンサ
2日前
日本特殊陶業株式会社
ガスセンサ
1日前
本陣水越株式会社
車載式計測標的物
3日前
日置電機株式会社
絶縁抵抗測定装置
1日前
ユニパルス株式会社
トルク変換器、調整部材
1日前
スズキ株式会社
タイヤ径算出システム
2日前
東レ株式会社
異物検査装置および異物検査方法
1日前
CKD株式会社
シート情報確認システム
2日前
シブヤ精機株式会社
食品検査装置
1日前
国立研究開発法人物質・材料研究機構
校正方法
1日前
株式会社不二越
X線測定システム
1日前
日本特殊陶業株式会社
FETセンサ
1日前
矢崎総業株式会社
電流センサ
2日前
株式会社東芝
センサ及び電子装置
3日前
株式会社Profid
接触冷感測定装置
2日前
矢崎総業株式会社
センサ搭載構造
1日前
矢崎総業株式会社
センサ搭載構造
1日前
CKD株式会社
噴出ヘッドの流速検査装置
1日前
株式会社小野測器
トルク計
2日前
キヤノン株式会社
測距装置及び測距方法
1日前
株式会社東芝
光電流センサ
2日前
アークレイ株式会社
分析装置
1日前
ニッカ電測株式会社
おにぎりの具材欠品検査装置
1日前
株式会社ジークス
検出判断装置及び人感センサシステム
1日前
株式会社クボタ
粘度測定方法および粘度測定装置
1日前
トヨタ自動車株式会社
情報処理装置
2日前
トヨタ自動車株式会社
情報処理装置
2日前
ニデックインスツルメンツ株式会社
検査装置
3日前
オムロン株式会社
プローブピンおよびソケット
2日前
東亜非破壊検査株式会社
磁粉探傷装置
1日前
日置電機株式会社
測定装置及びユニット
1日前
個人
方位指示装置、太陽光発電装置、及び、プログラム
1日前
続きを見る
他の特許を見る