TOP
|
特許
|
意匠
|
商標
特許ウォッチ
Twitter
他の特許を見る
10個以上の画像は省略されています。
公開番号
2025175450
公報種別
公開特許公報(A)
公開日
2025-12-03
出願番号
2024081576
出願日
2024-05-20
発明の名称
射出成形機用金型
出願人
愛三工業株式会社
代理人
弁理士法人岡田国際特許事務所
主分類
B29C
45/36 20060101AFI20251126BHJP(プラスチックの加工;可塑状態の物質の加工一般)
要約
【課題】カセット金型の脱着にかかる工数を削減するとともに射出成形機用金型を小型化する。
【解決手段】射出成形機用金型10は、射出成形機の固定側ベース型18に保持される固定側カセット型21と、可動側ベース型19に保持される可動側カセット型22と、を有するカセット金型20により、成形品を成形する。可動側ベース型19には、可動側ベース型19に保持される可動側カセット型22をクランプ及びクランプ解除する可動側クランプロッド50が設けられる。可動側カセット型22には、固定側カセット型21をロック及びロック解除するロックレバー61が回動可能に支持される。ロックレバー61は、可動側クランプロッド50のクランプ動作によりロック位置からアンロック位置へ回動される。
【選択図】図5
特許請求の範囲
【請求項1】
射出成形機の固定側ベース型に保持される固定側カセット型と、可動側ベース型に保持される可動側カセット型と、を有するカセット金型により、成形品を成形する射出成形機用金型であって、
前記固定側ベース型及び前記可動側ベース型のいずれか一方のベース型には、該ベース型に保持される一方のカセット型をクランプ及びクランプ解除するクランプロッドが進退可能に設けられており、
前記一方のカセット型には、他方のカセット型をロック及びロック解除するロックレバーが回動可能に支持されており、
前記ロックレバーは、前記クランプロッドのクランプ動作によりロック位置からアンロック位置へ回動される、射出成形機用金型。
続きを表示(約 580 文字)
【請求項2】
請求項1に記載の射出成形機用金型であって、
前記クランプロッドは、前記一方のカセット型に形成された係合穴に対して軸方向に係脱可能な先細り状の先細端部を有しており、
前記係合穴に対する前記先細端部の係合にともなう摺動接触により、前記一方のベース型に前記一方のカセット型が締め付けられる、射出成形機用金型。
【請求項3】
請求項2に記載の射出成形機用金型であって、
前記一方のベース型と前記クランプロッドとの間には、前記係合穴に対する該クランプロッドの進出方向への移動量を規制するストッパ機構が設けられている、射出成形機用金型。
【請求項4】
請求項1又は2に記載の射出成形機用金型であって、
前記ロックレバーは、前記他方のカセット型に形成された掛止部に対して係脱可能に掛止するフック部を有しており、
前記フック部には、アンダーカット部が形成されており、
前記掛止部には、前記アンダーカット部に係合する抜け止め凸部が形成されている、射出成形機用金型。
【請求項5】
請求項1又は2に記載の射出成形機用金型であって、
前記一方のカセット型には、前記ロックレバーを常にロック位置へ付勢するレバー付勢機構が設けられている、射出成形機用金型。
発明の詳細な説明
【技術分野】
【0001】
本明細書に開示の技術は射出成形機用金型に関する。
続きを表示(約 1,700 文字)
【背景技術】
【0002】
従来、例えば特許文献1に記載された金型交換装置がある。その装置は、第1金型および第2金型と、第1金型と第2金型とが連結された状態と連結されていない状態とに切り替える金型側切替機構(ロックピン)を備える交換式金型と、第1金型を第2金型の方向へ押圧する第1母型と、第2金型を第1金型の方向へ押圧する第2母型と、第1母型と第2母型との間で変位可能に配置され、交換式金型の少なくとも一部を収容する中間母型と、を備える。また、第1母型と中間母型とが連結された状態と連結されていない状態とに切り替える第1母型側切替機構を備える。また、第2母型と中間母型とが連結された状態と連結されていない状態とに切り替える第2母型側切替機構を備える。なお、交換式金型は本明細書でいう「カセット金型」に相当し、各母型は本明細書でいう「ベース型」に相当する。
【先行技術文献】
【特許文献】
【0003】
特開2021-142717号公報
【発明の概要】
【発明が解決しようとする課題】
【0004】
特許文献1によると、カセット金型の脱着に際し、金型側切替機構の切替作業と、第1母型側切替機構の切替作業と、第2母型側切替機構の切替作業と、を必要とする。このため、カセット金型の脱着に係る工数が多い。また、中間母型を必要とする第1母型側切替機構及び第2母型側切替機構によって、第1母型と第2母型との間に交換式金型を保持するため、射出成形機用金型が大型化する。なお、特許文献1は、第1金型を第1母型に着脱可能に保持する装置、及び、第2金型を第2母型に着脱可能に保持する装置を備えるもではない。
【0005】
本明細書に開示の技術が解決しようとする課題は、カセット金型の脱着にかかる工数を削減するとともに射出成形機用金型を小型化することにある。
【課題を解決するための手段】
【0006】
上記課題を解決するため、本明細書が開示する技術は次の手段をとる。
【0007】
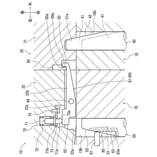
第1の手段は、射出成形機の固定側ベース型に保持される固定側カセット型と、可動側ベース型に保持される可動側カセット型と、を有するカセット金型により、成形品を成形する射出成形機用金型であって、前記固定側ベース型及び前記可動側ベース型のいずれか一方のベース型には、該ベース型に保持される一方のカセット型をクランプ及びクランプ解除するクランプロッドが進退可能に設けられており、前記一方のカセット型には、他方のカセット型をロック及びロック解除するロックレバーが回動可能に支持されており、前記ロックレバーは、前記クランプロッドのクランプ動作によりロック位置からアンロック位置へ回動される、射出成形機用金型である。
【0008】
第1の手段によると、一方のカセット型に他方のカセット型をロックするロック位置にあるロックレバーは、一方のベース型に一方のカセット型をクランプする際のクランプロッドのクランプ動作によりアンロック位置へ回動される。すなわち、クランプロッドのクランプ動作を利用してロックレバーをアンロックさせることができる。これにより、カセット金型の脱着作業にかかる工数を削減することができる。また、ロックレバーを作動させる専用の装置が不要で、射出成形機用金型を小型化することができる。
【0009】
第2の手段は、第1の手段の射出成形機用金型であって、前記クランプロッドは、前記一方のカセット型に形成された係合穴に対して軸方向に係脱可能な先細り状の先細端部を有しており、前記係合穴に対する前記先細端部の係合にともなう摺動接触により、前記一方のベース型に前記一方のカセット型が締め付けられる、射出成形機用金型である。
【0010】
第2の手段によると、一方のカセット型の係合穴に対するクランプロッドの先細端部の摺動接触を利用して、一方のベース型に一方のカセット型を締め付けることができる。これにより、一方のベース型に一方のカセット型を固定的にクランプすることができる。
(【0011】以降は省略されています)
この特許をJ-PlatPat(特許庁公式サイト)で参照する
関連特許
愛三工業株式会社
冷却器
16日前
愛三工業株式会社
マスク
1か月前
愛三工業株式会社
集電体
16日前
愛三工業株式会社
消火剤
8日前
愛三工業株式会社
樹脂部材
2か月前
愛三工業株式会社
固定構造
2か月前
愛三工業株式会社
樹脂部材
1か月前
愛三工業株式会社
吸着装置
16日前
愛三工業株式会社
食品容器
29日前
愛三工業株式会社
燃料ポンプ
1日前
愛三工業株式会社
水素分離膜
8日前
愛三工業株式会社
液体ポンプ
1日前
愛三工業株式会社
電極構造体
1か月前
愛三工業株式会社
燃料供給装置
1か月前
愛三工業株式会社
ガス吸着装置
1か月前
愛三工業株式会社
インシュレータ
16日前
愛三工業株式会社
無人搬送システム
1か月前
愛三工業株式会社
燃料電池システム
1か月前
愛三工業株式会社
射出成形機用金型
3日前
愛三工業株式会社
燃料電池システム
8日前
愛三工業株式会社
温度計測モジュール
2か月前
愛三工業株式会社
金型のガス抜き構造
9日前
愛三工業株式会社
水素エンジンシステム
29日前
愛三工業株式会社
ガス燃料用レギュレータ
16日前
愛三工業株式会社
飛行体用気体供給システム
8日前
愛三工業株式会社
ハイブリッド車両の制御装置
1か月前
愛三工業株式会社
吸着体及びこれを用いた吸着装置
1か月前
愛三工業株式会社
アクチュエータ、バルブ及びサーモスイッチ
1か月前
愛三工業株式会社
集電体、集電体を製造するための中間体及び集電体の製造方法
1日前
個人
気泡緩衝材減容装置
2か月前
豊田鉄工株式会社
金型
4か月前
シーメット株式会社
光造形装置
11か月前
CKD株式会社
型用台車
11か月前
株式会社 型善
射出成形型
17日前
東レ株式会社
フィルムの製造方法
5か月前
東レ株式会社
フィルムの製造方法
5か月前
続きを見る
他の特許を見る