TOP
|
特許
|
意匠
|
商標
特許ウォッチ
Twitter
他の特許を見る
公開番号
2025144781
公報種別
公開特許公報(A)
公開日
2025-10-03
出願番号
2024044625
出願日
2024-03-21
発明の名称
樹脂部材
出願人
愛三工業株式会社
代理人
弁理士法人岡田国際特許事務所
主分類
B29C
65/70 20060101AFI20250926BHJP(プラスチックの加工;可塑状態の物質の加工一般)
要約
【課題】金属部分を簡便に除去できる樹脂部材を提供すること。
【解決手段】セットプレート10は、面状に延びるプレート部11と、プレート部11から厚さ方向にオフセットされた位置でコネクタピン12を保持する保持部14と、プレート部11から保持部14に向かって突出しプレート部11と保持部14を連結する連結部13を有する。連結部13を外力により破断させることでコネクタピン12を保持部14とともにプレート部11から分離可能に構成されている。
【選択図】図3
特許請求の範囲
【請求項1】
樹脂部材であって、
面状に延びるプレート部と、
該プレート部から厚さ方向にオフセットされた位置で金属部材を保持する保持部と、
前記プレート部から前記保持部に向かって突出し前記プレート部と前記保持部を連結する連結部を有し、
該連結部を外力により破断させることで前記金属部材を前記保持部とともに前記プレート部から分離可能に構成された樹脂部材。
続きを表示(約 250 文字)
【請求項2】
請求項1に記載の樹脂部材であって、
前記連結部が凹状の脆弱部を有する樹脂部材。
【請求項3】
請求項2に記載の樹脂部材であって、
前記脆弱部が前記連結部の突出方向と交差する方向に沿って設けられる樹脂部材。
【請求項4】
請求項1又は2に記載の樹脂部材であって、
前記金属部材が前記保持部から延びて前記プレート部を厚さ方向に貫通しており、更に前記連結部及び前記プレート部に対して接合されることなく隙間を隔てて設けられる樹脂部材。
発明の詳細な説明
【技術分野】
【0001】
本開示は、樹脂部材に関する。詳しくは、インサート成形や接着等により金属部材が接合された樹脂部材に関する。
続きを表示(約 1,700 文字)
【背景技術】
【0002】
インサート成形や接着等により金属部材が接合された樹脂部材は数多く存在する。例えば、特開2018-112172号公報には、自動車等の車両に設けられる燃料タンクが開示されている。この燃料タンクは、その上部の開口部が樹脂製のセットプレートにより閉じられる。セットプレートは、燃料タンク内に配置される燃料ポンプと電気的に接続される金属端子を備えたコネクタ部を有する。金属端子は、インサート成形によりコネクタ部に一体的に接合される。
【先行技術文献】
【特許文献】
【0003】
特開2018-112172号公報
【発明の概要】
【発明が解決しようとする課題】
【0004】
上記のような金属が一体的に接合された樹脂部材は、リサイクルの際に金属部分を除去する必要がある。そのため従来、樹脂部材全体を細かく破砕したのちに、磁力や人の目と手を用いて金属を選別し除去する方法がとられてきた。しかし、細かく破砕された樹脂部材の中から金属や金属を含む樹脂片を選別し確実に取り出すことは難しく手間も大きい。そのため、効率の悪さが問題視されていた。そこで、金属部分を簡便に除去できる樹脂部材を提供することが望まれる。
【課題を解決するための手段】
【0005】
一つの態様としての樹脂部材は、面状に延びるプレート部と、プレート部から厚さ方向にオフセットされた位置で金属部材を保持する保持部と、プレート部から保持部に向かって突出しプレート部と保持部を連結する連結部を有する。連結部を外力により破断させることで金属部材を保持部とともにプレート部から分離可能に構成されている。
【図面の簡単な説明】
【0006】
第1実施形態に係るセットプレートを搭載した燃料供給装置の模式図である。
セットプレートの連結部及び保持部の拡大図である。
図2のセットプレートのIII-III線断面図である。
連結部を破断させた状態を示す図3に相当する断面図である。
別の実施形態に係るセットプレートの図3に相当する断面図である。
【発明を実施するための形態】
【0007】
<第1実施形態>
以下、種々の実施形態を図1~5を用いて説明する。以下の説明において用いる前後上下左右等の方向を表す用語は、各図中に表示した方向を指すものとする。なお、図中に表示した方向は説明の都合上定めたものであり、配置方向を特定するものではない。
【0008】
<燃料供給装置1>
1つの実施形態として、車両の燃料タンク2に設けられる樹脂製のセットプレート10を例示する。図1に示すように、車両のエンジンに燃料を供給する燃料供給装置1は、セットプレート10に取り付けられる燃料ポンプ3を有する。
【0009】
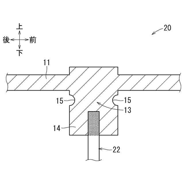
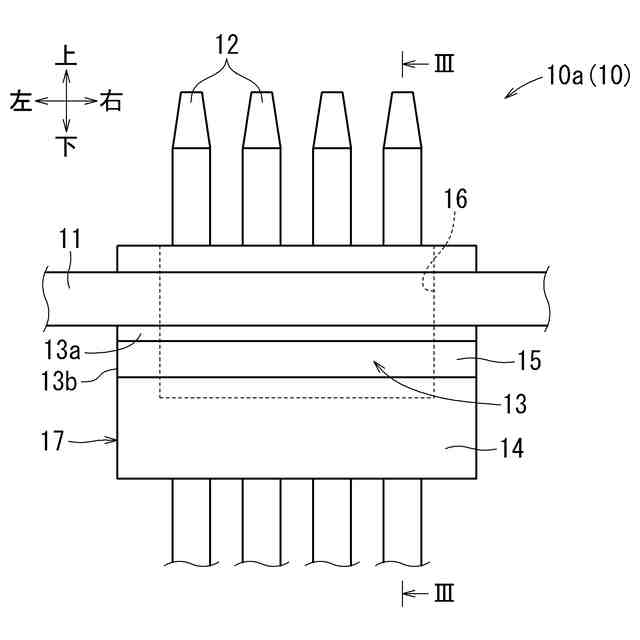
<セットプレート>
セットプレート10は、概して面状の部材である。セットプレート10は、燃料ポンプ3を保持した状態で燃料タンク2の上面に開いた開口部2aに蓋をするように組み付けられる。それにより、燃料ポンプ3が燃料タンク2の内部に配置される。燃料ポンプ3は、燃料フィルタ4を通して燃料タンク2内に貯留された燃料を汲み上げる。そして、セットプレート10を貫通する燃料通路5を通じてエンジンに燃料を供給する。この意味でセットプレート10は燃料供給装置1の一部を構成する。
【0010】
セットプレート10は、面状に延びるプレート部11と、プレート部11に形成されるコネクタ部10aを有する。コネクタ部10aは、燃料ポンプ3に電気信号や電力を送る。コネクタ部10aには、後述のコネクタピン12が設けられる。本実施形態のセットプレート10は、以下詳述する構成によりコネクタ部10aをセットプレート10から折り取ることで、コネクタピン12を簡便に除去できるものとなっている。
(【0011】以降は省略されています)
この特許をJ-PlatPat(特許庁公式サイト)で参照する
関連特許
愛三工業株式会社
マスク
1か月前
愛三工業株式会社
消火剤
9日前
愛三工業株式会社
集電体
17日前
愛三工業株式会社
冷却器
17日前
愛三工業株式会社
食品容器
1か月前
愛三工業株式会社
樹脂部材
1か月前
愛三工業株式会社
吸着装置
17日前
愛三工業株式会社
水素分離膜
9日前
愛三工業株式会社
燃料ポンプ
2日前
愛三工業株式会社
液体ポンプ
2日前
愛三工業株式会社
電極構造体
1か月前
愛三工業株式会社
燃料供給装置
1か月前
愛三工業株式会社
ガス吸着装置
1か月前
愛三工業株式会社
インシュレータ
17日前
愛三工業株式会社
燃料電池システム
9日前
愛三工業株式会社
射出成形機用金型
4日前
愛三工業株式会社
無人搬送システム
1か月前
愛三工業株式会社
燃料電池システム
1か月前
愛三工業株式会社
温度計測モジュール
2か月前
愛三工業株式会社
金型のガス抜き構造
10日前
愛三工業株式会社
水素エンジンシステム
1か月前
愛三工業株式会社
ガス燃料用レギュレータ
17日前
愛三工業株式会社
飛行体用気体供給システム
9日前
愛三工業株式会社
ハイブリッド車両の制御装置
1か月前
愛三工業株式会社
吸着体及びこれを用いた吸着装置
1か月前
愛三工業株式会社
アクチュエータ、バルブ及びサーモスイッチ
1か月前
愛三工業株式会社
集電体、集電体を製造するための中間体及び集電体の製造方法
2日前
個人
気泡緩衝材減容装置
2か月前
豊田鉄工株式会社
金型
4か月前
シーメット株式会社
光造形装置
11か月前
CKD株式会社
型用台車
11か月前
株式会社 型善
射出成形型
18日前
東レ株式会社
フィルムの製造方法
5か月前
東レ株式会社
フィルムの製造方法
5か月前
東レ株式会社
フィルムの製造方法
8か月前
グンゼ株式会社
ピン
12か月前
続きを見る
他の特許を見る