TOP
|
特許
|
意匠
|
商標
特許ウォッチ
Twitter
他の特許を見る
公開番号
2025151614
公報種別
公開特許公報(A)
公開日
2025-10-09
出願番号
2024053135
出願日
2024-03-28
発明の名称
燃料供給装置
出願人
愛三工業株式会社
代理人
弁理士法人岡田国際特許事務所
主分類
F02M
37/00 20060101AFI20251002BHJP(燃焼機関;熱ガスまたは燃焼生成物を利用する機関設備)
要約
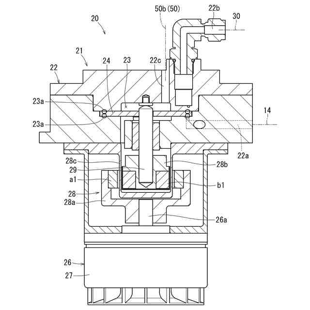
【課題】燃料ポンプの空状態のポンプ室への燃料の初期充填時におけるポンプ室への燃料の充填性を向上する。
【解決手段】燃料供給装置10は、燃料を貯蔵する燃料タンク12と燃料ポンプ20とを接続する上流側供給ライン14と、燃料ポンプ20とエンジン32とを接続する下流側供給ライン30と、を備える。上流側供給ライン14から分岐しかつ燃料ポンプ20のポンプ室に合流する上流側バイパスライン50が設けられる。上流側バイパスライン50には逆流を阻止する逆止弁60が設けられる。
【選択図】図1
特許請求の範囲
【請求項1】
燃料を貯蔵する燃料タンクと燃料ポンプとを接続する上流側供給ラインと、前記燃料ポンプと燃料需要機器とを接続する下流側供給ラインと、を備える燃料供給装置であって、
前記上流側供給ラインから分岐しかつ前記燃料ポンプのポンプ室に合流する上流側バイパスラインが設けられている、燃料供給装置。
続きを表示(約 700 文字)
【請求項2】
請求項1に記載の燃料供給装置であって、
前記上流側バイパスラインには逆流を阻止する逆止弁が設けられている、燃料供給装置。
【請求項3】
請求項1に記載の燃料供給装置であって、
前記下流側供給ラインの燃圧を検出する圧力センサと、
前記圧力センサによる検出結果に基づいて前記上流側バイパスラインに逆流が生じないように閉弁する電磁弁と、
が設けられている、燃料供給装置。
【請求項4】
燃料を貯蔵する燃料タンクと燃料ポンプとを接続する上流側供給ラインと、前記燃料ポンプと燃料需要機器とを接続する下流側供給ラインと、を備える燃料供給装置であって、
前記燃料ポンプのポンプ室から分岐しかつ前記下流側供給ラインに合流する下流側バイパスラインが設けられている、燃料供給装置。
【請求項5】
請求項4に記載の燃料供給装置であって、
前記下流側バイパスラインには逆流を阻止する逆止弁が設けられている、燃料供給装置。
【請求項6】
請求項4に記載の燃料供給装置であって、
前記下流側供給ラインの燃圧を検出する圧力センサと、
前記圧力センサによる検出結果に基づいて前記下流側バイパスラインに逆流が生じないように閉弁する電磁弁と、
が設けられている、燃料供給装置。
【請求項7】
請求項1又は4に記載の燃料供給装置であって、
前記燃料は、アンモニア液化燃料等の圧縮燃料であり、前記燃料タンクからの噴出圧力により前記ポンプ室に供給される、燃料供給装置。
発明の詳細な説明
【技術分野】
【0001】
本明細書に開示の技術は燃料供給装置に関する。
続きを表示(約 1,100 文字)
【背景技術】
【0002】
従来、例えば特許文献1に記載された燃料供給装置(燃料ポンプ)がある。燃料ポンプは、モータの駆動力をマグネットカップリングを介してポンプ部へ伝達し、ポンプ部のインペラを回転させることで、燃料タンクから燃料を吸い上げ、エンジン等の燃料需要機器に供給する。
【先行技術文献】
【特許文献】
【0003】
特開2003-269275号公報
【発明の概要】
【発明が解決しようとする課題】
【0004】
特許文献1では、燃料タンクの燃料は、燃料ポンプにより上流側供給ラインから吸い上げられかつ下流側供給ラインから燃料需要機器に供給されている。したがって、燃料ポンプの空状態のポンプ室への燃料の初期充填時において、ポンプ室の空気(本明細書でいう「ベーパ」に相当する。)が排出されて液密になるまでの時間が長くかかる。つまり、ポンプ室への燃料の充填性が低いという問題があった。
【0005】
本明細書に開示の技術が解決しようとする課題は、燃料ポンプの空状態のポンプ室への燃料の初期充填時におけるポンプ室への燃料の充填性を向上することにある。
【課題を解決するための手段】
【0006】
上記課題を解決するため、本明細書が開示する技術は次の手段をとる。
【0007】
第1の手段は、燃料を貯蔵する燃料タンクと燃料ポンプとを接続する上流側供給ラインと、前記燃料ポンプと燃料需要機器とを接続する下流側供給ラインと、を備える燃料供給装置であって、前記上流側供給ラインから分岐しかつ前記燃料ポンプのポンプ室に合流する上流側バイパスラインが設けられている、燃料供給装置である。
【0008】
第1の手段によると、燃料ポンプの空状態のポンプ室への燃料の初期充填時において、燃料が上流側供給ラインと上流側バイパスラインとの両方のラインからポンプ室に流入する。これにより、ポンプ室からのベーパ排出性が向上される。よって、ポンプ室への燃料の初期充填時におけるポンプ室への燃料の充填性を向上することができる。
【0009】
第2の手段は、第1の手段の燃料供給装置であって、前記上流側バイパスラインには逆流を阻止する逆止弁が設けられている、燃料供給装置である。
【0010】
第2の手段によると、逆止弁により上流側バイパスラインの逆流を阻止することができる。これにより、燃料ポンプの出力低下を抑制することができる。
(【0011】以降は省略されています)
この特許をJ-PlatPat(特許庁公式サイト)で参照する
関連特許
個人
擬似オイル発電装置
23日前
個人
ガバナー
10日前
ダイハツ工業株式会社
発電装置
18日前
株式会社ミクニ
二次空気供給システム
3日前
トヨタ自動車株式会社
制御装置
2日前
株式会社ミクニ
インテークマニホールド
2日前
株式会社ミクニ
インテークマニホールド
2日前
トヨタ自動車株式会社
制御装置
17日前
トヨタ自動車株式会社
燃料噴射制御装置
11日前
国立大学法人 名古屋工業大学
小型化無振動機構機器
9日前
日産自動車株式会社
吸気装置
11日前
トヨタ自動車株式会社
内燃機関の制御装置
17日前
Astemo株式会社
内燃機関の制御装置
17日前
トヨタ自動車株式会社
フレックス燃料車両
1か月前
トヨタ自動車株式会社
内燃機関の制御装置
1か月前
ダイハツ工業株式会社
副燃焼室付きエンジン
9日前
トヨタ自動車株式会社
水素エンジンの制御装置
1か月前
富士電機株式会社
駆動回路
1か月前
ヤンマーホールディングス株式会社
エンジン装置
10日前
株式会社SUBARU
弁装置
2日前
愛三工業株式会社
燃料ポンプ
2日前
スズキ株式会社
多気筒エンジンの制御装置
1か月前
トヨタ自動車株式会社
車両制御装置
4日前
株式会社デンソー
燃料噴射装置
10日前
株式会社豊田自動織機
内燃機関
17日前
スズキ株式会社
車両用制御装置
2日前
トヨタ自動車株式会社
車両の制御装置
9日前
株式会社豊田自動織機
ターボチャージャ
25日前
トヨタ自動車株式会社
車両駆動装置
25日前
スズキ株式会社
内燃機関の吸気装置
17日前
株式会社豊田自動織機
ターボチャージャ
1か月前
スズキ株式会社
バイフューエル車両
2日前
株式会社豊田自動織機
ディーゼルエンジン
9日前
株式会社SUBARU
車両用高圧燃料配管装置
9日前
株式会社SUBARU
車両用高圧燃料配管構造
17日前
スズキ株式会社
エンジンの排気浄化装置
25日前
続きを見る
他の特許を見る