TOP
|
特許
|
意匠
|
商標
特許ウォッチ
Twitter
他の特許を見る
公開番号
2025155376
公報種別
公開特許公報(A)
公開日
2025-10-14
出願番号
2024059181
出願日
2024-04-01
発明の名称
電磁弁の制御装置
出願人
トヨタ自動車株式会社
代理人
個人
,
個人
主分類
F02M
55/00 20060101AFI20251006BHJP(燃焼機関;熱ガスまたは燃焼生成物を利用する機関設備)
要約
【課題】開閉動作に伴う電磁弁の摩耗を抑える。
【解決手段】第2遮断弁22は、弁体と、通電により弁体を開弁させる電磁コイルと、を備えており、内燃機関10の燃料配管40に設けられる。制御装置100は、弁体の開弁時に電磁コイルに供給する電流を制御する。制御装置100は、弁体に対して閉弁方向に作用する圧力と弁体に対して開弁方向に作用する圧力との差圧が小さいときには、その差圧が大きいときに比べて電磁コイルに供給する電流を小さくする処理を実行する。
【選択図】図1
特許請求の範囲
【請求項1】
弁体と、通電により前記弁体を開弁させる電磁コイルと、を備えており、流体の流路に設けられる電磁弁の制御装置であって、
前記弁体の開弁時に前記電磁コイルに供給する電流を制御する処理回路を有しており、
前記処理回路は、前記弁体に対して閉弁方向に作用する圧力と前記弁体に対して開弁方向に作用する圧力との差圧が小さいときには、同差圧が大きいときに比べて前記電磁コイルに供給する電流を小さくする処理を実行する
電磁弁の制御装置。
続きを表示(約 210 文字)
【請求項2】
前記弁体を第1弁体としたときに、
前記電磁弁は、
前記第1弁体よりも上流側の流路と前記第1弁体よりも下流側の流路とを連通する連通路と、前記第1弁体の開弁に先立って開弁するとともに前記連通路を開閉する第2弁体と、を有する
請求項1に記載の電磁弁の制御装置。
【請求項3】
前記流体の流路は、内燃機関の燃料通路である
請求項1に記載の電磁弁の制御装置。
発明の詳細な説明
【技術分野】
【0001】
本発明は、電磁弁の制御装置に関するものである。
続きを表示(約 1,300 文字)
【背景技術】
【0002】
例えば特許文献1に記載の内燃機関の燃料配管は、燃料の流通の許容及び遮断を行う弁を備えている。
【先行技術文献】
【特許文献】
【0003】
特開2022-182969号公報
【発明の概要】
【発明が解決しようとする課題】
【0004】
電磁コイルに通電を行うことにより弁体を開弁させる電磁弁を上記弁として採用する場合、開弁時において電磁コイルに供給する電流を小さくすることが望まれる。
【課題を解決するための手段】
【0005】
上記課題を解決する電磁弁の制御装置は、弁体と、通電により前記弁体を開弁させる電磁コイルと、を備えており、流体の流路に設けられる電磁弁の制御装置である。この制御装置は、前記弁体の開弁時に前記電磁コイルに供給する電流を制御する処理回路を有している。前記処理回路は、前記弁体に対して閉弁方向に作用する圧力と前記弁体に対して開弁方向に作用する圧力との差圧が小さいときには、同差圧が大きいときに比べて前記電磁コイルに供給する電流を小さくする処理を実行する。
【発明の効果】
【0006】
この電磁弁の制御装置は、開弁時において電磁コイルに供給する電流を小さくすることができる。
【図面の簡単な説明】
【0007】
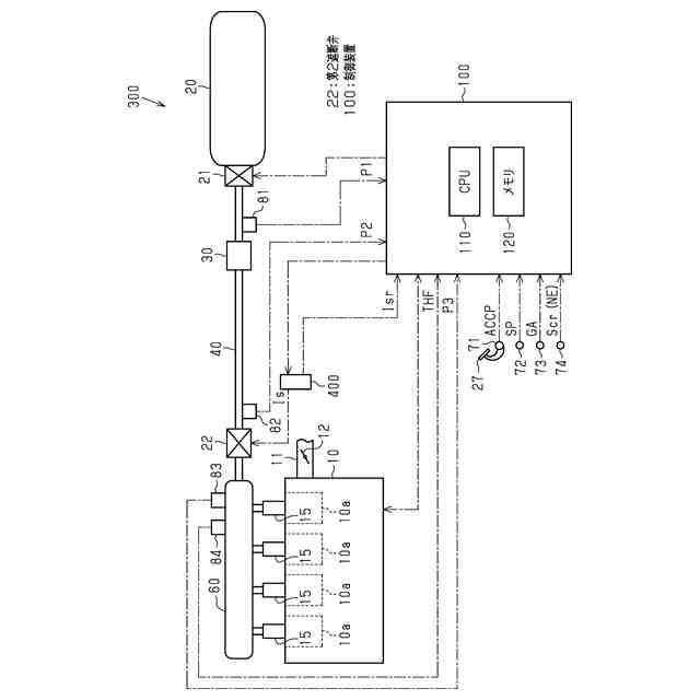
図1は、一実施形態における電磁弁の制御装置が適用される内燃機関及び燃料供給系及び制御装置を示す模式図である。
図2は、同実施形態の燃圧制御を示すタイミングチャートである。図2(a)は燃圧の変化、図2(b)は第2遮断弁の動作状態をそれぞれ示している。
図3は、同実施形態の第2遮断弁の構造を示す断面図である。
図4は、同実施形態の制御装置が実行する処理の手順を示すフローチャートである。
図5は、同実施形態における差圧及び供給電流の関係を示す図である。
図6は、同実施形態の作用を示すタイミングチャートである。図6(a)は第3圧力の変化、図6(b)は差圧の変化、図6(c)は供給電流の変化をそれぞれ示している。
【発明を実施するための形態】
【0008】
以下、電磁弁の制御装置を具体化した一実施形態について、図1~図6を参照して説明する。
<内燃機関及び燃料供給装置及び制御装置>
図1に示す内燃機関10は、車両に搭載されており、流体の気体燃料である水素ガスを燃料とする内燃機関である。
【0009】
内燃機関10の吸気通路11には、吸入空気量を調整するスロットル弁12が設けられている。
内燃機関10が備える燃料供給装置300は、燃料噴射弁15、タンク20、燃料配管40、第1遮断弁21、第2遮断弁22、減圧弁30、及びデリバリパイプ60を有している。
【0010】
燃料噴射弁15は、内燃機関10の気筒10aに燃料を供給する。
タンク20は、気体燃料である水素ガスを高圧に圧縮した状態で貯蔵している。
燃料配管40は、タンク20とデリバリパイプ60とを接続している。
(【0011】以降は省略されています)
この特許をJ-PlatPat(特許庁公式サイト)で参照する
関連特許
個人
バンケル型内燃機関の改良
1日前
本田技研工業株式会社
車両
5日前
本田技研工業株式会社
車両
5日前
トヨタ自動車株式会社
電磁弁
1日前
株式会社クボタ
作業車両
6日前
本田技研工業株式会社
内燃機関
6日前
本田技研工業株式会社
内燃機関
5日前
本田技研工業株式会社
始動制御装置
5日前
本田技研工業株式会社
始動制御装置
5日前
個人
流体式推力方向制御装置
16日前
トヨタ自動車株式会社
電磁弁の制御装置
1日前
トヨタ自動車株式会社
エンジン制御装置
12日前
日産自動車株式会社
内燃機関
12日前
トヨタ自動車株式会社
V型8気筒エンジン
1日前
本田技研工業株式会社
内燃機関の吸気構造
6日前
本田技研工業株式会社
可変ファンネル装置
5日前
株式会社デンソートリム
エンジン制御装置
12日前
大阪瓦斯株式会社
エンジンシステム
5日前
日産自動車株式会社
内燃機関
12日前
マツダ株式会社
エンジン
6日前
株式会社SUBARU
車両
1日前
トヨタ自動車株式会社
内燃機関の燃料供給装置
12日前
トヨタ自動車株式会社
インジェクタの制御装置
14日前
トヨタ自動車株式会社
内燃機関の燃料供給装置
16日前
ヤンマーホールディングス株式会社
エンジン装置
14日前
大阪瓦斯株式会社
発電設備、及び発電方法
14日前
本田技研工業株式会社
内燃機関の制御装置
6日前
ヤンマーホールディングス株式会社
エンジン装置
14日前
ヤンマーホールディングス株式会社
エンジン装置
14日前
ヤンマーホールディングス株式会社
エンジン装置
14日前
本田技研工業株式会社
内燃機関の制御装置
6日前
ヤンマーホールディングス株式会社
エンジン装置
14日前
ヤンマーホールディングス株式会社
エンジン装置
14日前
ヤンマーホールディングス株式会社
エンジン装置
14日前
マツダ株式会社
エンジンの制御装置
6日前
トヨタ自動車株式会社
内燃機関の燃料噴射制御装置
14日前
続きを見る
他の特許を見る