TOP
|
特許
|
意匠
|
商標
特許ウォッチ
Twitter
他の特許を見る
公開番号
2025161055
公報種別
公開特許公報(A)
公開日
2025-10-24
出願番号
2024063931
出願日
2024-04-11
発明の名称
電極構造体
出願人
愛三工業株式会社
代理人
弁理士法人 快友国際特許事務所
主分類
H01M
4/13 20100101AFI20251017BHJP(基本的電気素子)
要約
【課題】電極活物質が金属箔に接触することを抑制すると共に、電極活物質を樹脂層から剥がれ難くするための技術を提供する。
【解決手段】電極構造体は、金属箔と、前記金属箔の上に配置される樹脂層と、前記樹脂層の上に配置される電極層と、を備えている。前記樹脂層は、前記金属箔の上に配置される第1層と、前記第1層の上に配置される第2層と、を備えている。前記電極層は、電極活物質が混合された溶媒から構成されている。前記第1層は、第1樹脂から構成されている。前記第2層は、前記第1樹脂と異なる第2樹脂から構成されている。前記第1樹脂の溶解度パラメータと前記溶媒の溶解度パラメータとの差は、前記第2樹脂の溶解度パラメータと前記溶媒の溶解度パラメータとの差より大きい。
【選択図】図1
特許請求の範囲
【請求項1】
金属箔と、
前記金属箔の上に配置される樹脂層と、
前記樹脂層の上に配置される電極層と、を備えており、
前記樹脂層は、前記金属箔の上に配置される第1層と、前記第1層の上に配置される第2層と、を備えており、
前記電極層は、電極活物質が混合された溶媒から構成されており、
前記第1層は、第1樹脂から構成されており、
前記第2層は、前記第1樹脂と異なる第2樹脂から構成されており、
前記第1樹脂の溶解度パラメータと前記溶媒の溶解度パラメータとの差は、前記第2樹脂の溶解度パラメータと前記溶媒の溶解度パラメータとの差より大きい、電極構造体。
続きを表示(約 520 文字)
【請求項2】
金属箔と、
前記金属箔の上に配置される樹脂層と、
前記樹脂層の上に配置される電極層と、を備えており、
前記樹脂層は、前記金属箔の上に配置される第1層と、前記第1層の上に配置される第2層と、を備えており、
前記電極層は、電極活物質が混合された溶媒から構成されており、
前記第1層は、第1樹脂から構成されており、
前記第2層は、前記第1樹脂と異なる第2樹脂から構成されており、
前記第1樹脂の密度は、前記第2樹脂の密度より高い、電極構造体。
【請求項3】
金属箔と、
前記金属箔の上に配置される樹脂層と、
前記樹脂層の上に配置される電極層と、を備えており、
前記樹脂層は、前記金属箔の上に配置される第1層と、前記第1層の上に配置される第2層と、を備えており、
前記電極層は、電極活物質が混合された溶媒から構成されており、
前記第1層は、第1樹脂から構成されており、
前記第2層は、前記第1樹脂と異なる第2樹脂から構成されており、
前記第1樹脂の分子量は、前記第2樹脂の分子量より大きい、電極構造体。
発明の詳細な説明
【技術分野】
【0001】
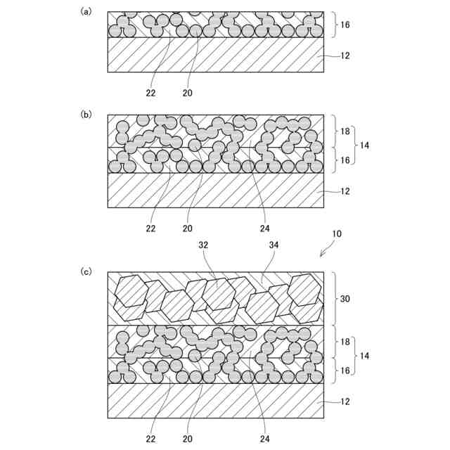
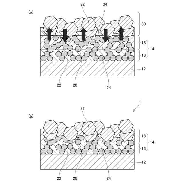
本明細書に開示する技術は、電極構造体に関する。詳細には、電池の半製品である電極構造体に関する。
続きを表示(約 2,200 文字)
【背景技術】
【0002】
電池は、性能を向上させるための種々の改良がされている。例えば、特許文献1の電池は、金属箔と、金属箔の上に配置される樹脂層と、樹脂層の上に配置される電極活物質と、を備えている。電池を製造する際には、電池の半製品である電極構造体が形成される。電極構造体は、金属箔と、金属箔の上に配置される樹脂層と、樹脂層の上に配置される電極層と、を備えている。電極層は、電極活物質が混合された溶媒から構成されている。電極構造体から電極層内の溶媒が除去(乾燥)されることによって、電池が形成される。電極構造体では、樹脂層を構成する樹脂と電極層を構成する溶媒が溶解することによって、樹脂層内に電極活物質が入り込む。樹脂層内に電極活物質が入り込むことによって、溶媒が除去された電池において、電極活物質が樹脂層から剥がれ難くなる。
【先行技術文献】
【特許文献】
【0003】
特開2013-26192号公報
【発明の概要】
【発明が解決しようとする課題】
【0004】
特許文献1のような電池では、電池の半製品である電極構造体において、樹脂層を構成する樹脂と電極層を構成する溶媒が溶解することによって、樹脂層内に電極活物質が入り込む。しかしながら、樹脂と溶媒が溶解し易い組合せである場合、電極活物質が溶媒と共に金属箔の近傍まで入り込むことがある。電極活物質が金属箔まで入り込むと、金属箔が破損することがあり、金属箔が破損して貫通すると、電極活物質が反対面に配置された電極に接触して短絡する虞がある。また、電極活物質が金属箔に接触することを回避するために、樹脂と溶媒を溶解し難い組合せにすると、電極活物質が樹脂内に入り込み難くなり、溶媒が除去された電池において、電極活物質が樹脂層から剥がれ易くなる。
【0005】
本明細書は、電極活物質が金属箔に接触することを抑制すると共に、電極活物質を樹脂層から剥がれ難くするための技術を開示する。
【課題を解決するための手段】
【0006】
本技術の第1の態様では、電極構造体は、金属箔と、前記金属箔の上に配置される樹脂層と、前記樹脂層の上に配置される電極層と、を備えている。前記樹脂層は、前記金属箔の上に配置される第1層と、前記第1層の上に配置される第2層と、を備えている。前記電極層は、電極活物質が混合された溶媒から構成されている。前記第1層は、第1樹脂から構成されている。前記第2層は、前記第1樹脂と異なる第2樹脂から構成されている。前記第1樹脂の溶解度パラメータと前記溶媒の溶解度パラメータとの差は、前記第2樹脂の溶解度パラメータと前記溶媒の溶解度パラメータとの差より大きい。
【0007】
この構成によれば、電極層を構成する溶媒は、第1樹脂より第2樹脂に溶解し易くなる。すなわち、溶媒は、溶解度パラメータの差により、電極層側に配置される第2層の第2樹脂に溶解し易い一方で、金属箔側に配置される第1層の第1樹脂には溶解し難い。このため、電極層内の電極活物質は、溶媒と共に第2層に入り込み易い一方で、第1層に入り込み難くなる。電極活物質が第2層に入り込むことによって、溶媒が除去された電池において、電極活物質が第2層(すなわち、樹脂層)から剥がれ難くなる。一方で、電極活物質は、第1層にはほとんど入り込まないため、電極活物質が金属箔に接触し難くなる。このため、電極活物質を金属箔に接触し難くすることと、電極活物質が樹脂層から剥がれ難くすることを同時に実現することができる。
【0008】
本技術の第2の態様では、電極構造体は、金属箔と、前記金属箔の上に配置される樹脂層と、前記樹脂層の上に配置される電極層と、を備えている。前記樹脂層は、前記金属箔の上に配置される第1層と、前記第1層の上に配置される第2層と、を備えている。前記電極層は、電極活物質が混合された溶媒から構成されている。前記第1層は、第1樹脂から構成されている。前記第2層は、前記第1樹脂と異なる第2樹脂から構成されている。前記第1樹脂の密度は、前記第2樹脂の密度より高い。
【0009】
電極層を構成する溶媒は、樹脂の密度が低いほど樹脂に溶解し易くなる。このため、溶媒は、第1樹脂より第2樹脂に溶解し易くなる。これにより、電極層内の電極活物質は、第2層に入り込み易い一方で、第1層に入り込み難くなる。このため、この構成でも、電極活物質を金属箔に接触し難くすることと、電極活物質が樹脂層から剥がれ難くすることを同時に実現することができる。
【0010】
本技術の第3の態様では、電極構造体は、金属箔と、前記金属箔の上に配置される樹脂層と、前記樹脂層の上に配置される電極層と、を備えている。前記樹脂層は、前記金属箔の上に配置される第1層と、前記第1層の上に配置される第2層と、を備えている。前記電極層は、電極活物質が混合された溶媒から構成されている。前記第1層は、第1樹脂から構成されている。前記第2層は、前記第1樹脂と異なる第2樹脂から構成されている。前記第1樹脂の分子量は、前記第2樹脂の分子量より大きい。
(【0011】以降は省略されています)
この特許をJ-PlatPat(特許庁公式サイト)で参照する
関連特許
愛三工業株式会社
ヒータ
今日
愛三工業株式会社
冷却器
21日前
愛三工業株式会社
マスク
1か月前
愛三工業株式会社
集電体
21日前
愛三工業株式会社
消火剤
13日前
愛三工業株式会社
樹脂部材
1か月前
愛三工業株式会社
食品容器
1か月前
愛三工業株式会社
吸着装置
21日前
愛三工業株式会社
電極構造体
1か月前
愛三工業株式会社
液体ポンプ
6日前
愛三工業株式会社
燃料ポンプ
6日前
愛三工業株式会社
水素分離膜
13日前
愛三工業株式会社
燃料供給装置
今日
愛三工業株式会社
燃料供給装置
2か月前
愛三工業株式会社
ガス吸着装置
1か月前
愛三工業株式会社
燃料供給装置
今日
愛三工業株式会社
インシュレータ
21日前
愛三工業株式会社
無人搬送システム
1か月前
愛三工業株式会社
燃料電池システム
2日前
愛三工業株式会社
燃料電池システム
13日前
愛三工業株式会社
射出成形機用金型
8日前
愛三工業株式会社
燃料電池システム
1か月前
愛三工業株式会社
金型のガス抜き構造
14日前
愛三工業株式会社
温度計測モジュール
2か月前
愛三工業株式会社
水素エンジンシステム
1か月前
愛三工業株式会社
ガス燃料用レギュレータ
21日前
愛三工業株式会社
飛行体用気体供給システム
13日前
愛三工業株式会社
スナップフィット結合構造
今日
愛三工業株式会社
ハイブリッド車両の制御装置
1か月前
愛三工業株式会社
吸着体及びこれを用いた吸着装置
1か月前
愛三工業株式会社
アクチュエータ、バルブ及びサーモスイッチ
1か月前
愛三工業株式会社
集電体の製造方法、及び集電体を製造するための中間体
今日
愛三工業株式会社
集電体、集電体を製造するための中間体及び集電体の製造方法
6日前
愛三工業株式会社
電極構造体の製造方法、及び電極構造体を製造するための中間体
今日
個人
三重コイル変圧器
1日前
日機装株式会社
加圧装置
6日前
続きを見る
他の特許を見る