TOP
|
特許
|
意匠
|
商標
特許ウォッチ
Twitter
他の特許を見る
公開番号
2025167268
公報種別
公開特許公報(A)
公開日
2025-11-07
出願番号
2024071729
出願日
2024-04-25
発明の名称
水素エンジンシステム
出願人
愛三工業株式会社
代理人
弁理士法人コスモス国際特許商標事務所
主分類
F02B
43/10 20060101AFI20251030BHJP(燃焼機関;熱ガスまたは燃焼生成物を利用する機関設備)
要約
【課題】水素エンジンで水素の燃焼により排出されるNOxの外部への排出量を低減し、エミッションを低減すること。
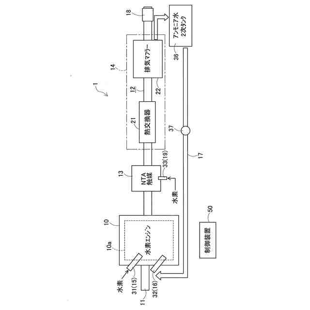
【解決手段】水素エンジンシステム1は、水素エンジン10と、燃焼後の排気を水素エンジン10から排出する排気通路12と、排気通路12に設けられ、排気の中に含まれるNOxと水素をアンモニアと水とに変換するNTA触媒13と、排気通路12に設けられ、アンモニアと水からアンモニア水を生成するアンモニア水生成手段14と、水素エンジン10へアンモニア水を供給するアンモニア水供給手段16と、アンモニア水生成手段14で生成されたアンモニア水をアンモニア水供給手段16へ環流させるアンモニア水環流手段17とを備える。
【選択図】図1
特許請求の範囲
【請求項1】
水素を燃料として燃焼させる水素エンジンと、
前記水素エンジンで前記水素が燃焼した後の排気を前記水素エンジンから排出するための排気通路と、
前記排気通路に設けられ、前記水素エンジンから排出される排気の中に含まれる窒化酸化物と前記水素をアンモニアと水とに変換するための触媒と、
前記排気通路に設けられ、前記アンモニアと前記水からアンモニア水を生成するためのアンモニア水生成手段と、
前記水素エンジンへ前記アンモニア水を供給するためのアンモニア水供給手段と、
前記アンモニア水生成手段で生成された前記アンモニア水を前記アンモニア水供給手段へ環流させるためのアンモニア水環流手段と
を備えたことを特徴とする水素エンジンシステム。
続きを表示(約 750 文字)
【請求項2】
請求項1に記載の水素エンジンシステムにおいて、
前記アンモニア水生成手段は、排気マフラーを含み、
前記排気マフラーには、前記アンモニア水を貯留するための貯留部と、前記貯留部から前記アンモニア水環流手段へ前記アンモニア水を流出させるための水抜き孔とが設けられる
ことを特徴とする水素エンジンシステム。
【請求項3】
請求項2に記載の水素エンジンシステムにおいて、
前記排気マフラーは、前記排気を、前記排気マフラーより下流の前記排気通路へ導出するための排気出口を更に含み、
前記排気出口は、前記貯留部よりも重力方向上側に配置され、
前記排気マフラーには、前記水抜き孔と前記排気出口との間を仕切る仕切りが設けられる
ことを特徴とする水素エンジンシステム。
【請求項4】
請求項2に記載の水素エンジンシステムにおいて、
前記排気出口より下流の前記排気通路には、前記排気出口から漏れ流れたアンモニアを吸着するためのアンモニア吸着材が設けられる
ことを特徴とする水素エンジンシステム。
【請求項5】
請求項4に記載の水素エンジンシステムにおいて、
前記排気出口又は前記排気出口より下流の前記排気通路には、前記アンモニア水の外部への流出を防止するために開閉可能な閉鎖弁が設けられる
ことを特徴とする水素エンジンシステム。
【請求項6】
請求項1乃至5のいずれかに記載の水素エンジンシステムにおいて、
前記アンモニアを還元するための還元剤を前記触媒に供給する還元剤供給手段を更に備える
ことを特徴とする水素エンジンシステム。
発明の詳細な説明
【技術分野】
【0001】
この明細書に開示される技術は、水素を燃料として燃焼させる水素エンジンを備えた水素エンジンシステムに関する。
続きを表示(約 2,100 文字)
【背景技術】
【0002】
従来、この種の技術として、例えば、下記の特許文献1に記載されるエンジンシステムが知られている。このシステムは、少なくとも水素を燃料又は助燃剤として用いるエンジンを備える。このシステムでは、水素タンクに貯留される水素を、水素燃料供給装置によりエンジンに供給し燃焼させることでエンジンを駆動させる。特に、このエンジンは、水素とアンモニアとを混ぜた燃料ガスを燃焼させる混燃エンジンである。このエンジンは、燃料を希薄燃焼させるために、水素に加え、アンモニアタンクに貯留されるアンモニアを、アンモニア燃料供給装置によりエンジンに供給する。このように、アンモニアと水素との混合ガスを燃焼させることで、アンモニアを燃料としつつも、アンモニアのみを燃料とする場合に比べて燃焼性を向上させ、幅広い運転領域で使用し易くしている。また、このエンジンは、水素のみを燃料とする場合に比べ、燃焼効率を適切に制御し易くし、異常燃焼の発生を抑え、高出力化を図っている。
【0003】
また、このエンジンシステムでは、アンモニアを熱交換器にてエンジンの排熱により加熱し、分解部(触媒)にてアンモニアを分解して得た水素と、アンモニアタンクから供給されるアンモニアとを燃焼に供している。
【先行技術文献】
【特許文献】
【0004】
特開2024-9392号公報
【発明の概要】
【発明が解決しようとする課題】
【0005】
ところで、特許文献1に記載のエンジンシステムでは、水素エンジンにて水素が燃焼することでNOxを多く排出することが問題となる。一般に、水素エンジンは二酸化炭素の排出をゼロにできるエンジンではあるが、NOxを多く排出することが問題になり、NOx生成の抑制とNOxの浄化処理が課題となる。上記エンジンシステムでは、分解部でエンジンの排熱によりアンモニアを分解するのみであり、NOxの浄化処理は行っておらず、エミッションの低減については限界があった。
【0006】
この開示技術は、上記事情に鑑みてなされたものであって、その目的は、水素エンジンで水素の燃焼により排出されるNOxの排出量を低減し、エミッションを低減することを可能とした水素エンジンシステムを提供することにある。
【課題を解決するための手段】
【0007】
上記目的を達成するために、請求項1に記載の技術は、水素を燃料として燃焼させる水素エンジンと、水素エンジンで水素が燃焼した後の排気を水素エンジンから排出するための排気通路と、排気通路に設けられ、水素エンジンから排出される排気の中に含まれる窒化酸化物と水素をアンモニアと水とに変換するための触媒と、排気通路に設けられ、アンモニアと水からアンモニア水を生成するためのアンモニア水生成手段と、水素エンジンへアンモニア水を供給するためのアンモニア水供給手段と、アンモニア水生成手段で生成されたアンモニア水をアンモニア水供給手段へ環流させるためのアンモニア水環流手段とを備えたことを趣旨とする。
【0008】
上記技術の構成によれば、水素エンジンから排気通路へ排出される排気は、触媒、アンモニア水生成手段を流れる。ここで、触媒は、排気の中に含まれる窒化酸化物(NOx)と水素(H
2
)をアンモニア(NH
3
)と水(H
2
O)とに変換する。アンモニア水生成手段では、アンモニアと水からアンモニア水を生成する。そして、アンモニア水生成手段で生成されたアンモニア水は、アンモニア水環流手段を介してアンモニア水供給手段へ環流する。アンモニア水供給手段へ環流したアンモニア水は、アンモニア水供給手段により水素エンジンへ供給される。すなわち、水素エンジンから排出されたNOxは、触媒によりアンモニアに変換され、アンモニア水生成手段にて、アンモニア水として回収される。回収されたアンモニア水は、アンモニア水供給手段により水素エンジン10に供給される。そして、アンモニア水は、水素と共に燃料として燃焼に供される。従って、水素とアンモニア水の燃焼により水素エンジンが動作し、アンモニア水の供給により水素の燃焼温度が低減する。
【0009】
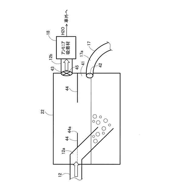
上記目的を達成するために、請求項2に記載の技術は、請求項1に記載の技術において、アンモニア水生成手段は、排気マフラーを含み、排気マフラーには、アンモニア水を貯留するための貯留部と、貯留部からアンモニア水環流手段へアンモニア水を流出させるための水抜き孔とが設けられることを趣旨とする。
【0010】
上記技術の構成によれば、請求項1に記載の技術の作用に加え、アンモニア水生成手段で生成されたアンモニア水は、排気マフラーの貯留部に貯留され、貯留部から水抜き孔を通じてアンモニア水環流手段へ流出する。
(【0011】以降は省略されています)
この特許をJ-PlatPat(特許庁公式サイト)で参照する
関連特許
個人
擬似オイル発電装置
22日前
個人
ガバナー
9日前
ダイハツ工業株式会社
発電装置
17日前
株式会社ミクニ
二次空気供給システム
2日前
トヨタ自動車株式会社
制御装置
1日前
株式会社ミクニ
インテークマニホールド
1日前
株式会社ミクニ
インテークマニホールド
1日前
トヨタ自動車株式会社
制御装置
16日前
国立大学法人 名古屋工業大学
小型化無振動機構機器
8日前
トヨタ自動車株式会社
エンジン制御装置
1か月前
トヨタ自動車株式会社
燃料噴射制御装置
10日前
Astemo株式会社
内燃機関の制御装置
16日前
日産自動車株式会社
吸気装置
10日前
トヨタ自動車株式会社
内燃機関の制御装置
16日前
トヨタ自動車株式会社
内燃機関の制御装置
29日前
トヨタ自動車株式会社
フレックス燃料車両
29日前
川崎重工業株式会社
ガスタービンエンジン
1か月前
ダイハツ工業株式会社
副燃焼室付きエンジン
8日前
トヨタ自動車株式会社
水素エンジンの制御装置
1か月前
富士電機株式会社
駆動回路
1か月前
トヨタ自動車株式会社
車両制御装置
3日前
ヤンマーホールディングス株式会社
エンジン装置
9日前
愛三工業株式会社
燃料ポンプ
1日前
スズキ株式会社
多気筒エンジンの制御装置
1か月前
株式会社SUBARU
弁装置
1日前
株式会社豊田自動織機
内燃機関
16日前
三菱重工業株式会社
ガスタービン起動方法
1か月前
株式会社デンソー
燃料噴射装置
9日前
スズキ株式会社
車両用制御装置
1日前
トヨタ自動車株式会社
車両の制御装置
8日前
株式会社豊田自動織機
ターボチャージャ
1か月前
トヨタ自動車株式会社
車両駆動装置
24日前
スズキ株式会社
バイフューエル車両
1日前
株式会社豊田自動織機
ターボチャージャ
24日前
スズキ株式会社
内燃機関の吸気装置
16日前
株式会社豊田自動織機
ディーゼルエンジン
8日前
続きを見る
他の特許を見る