TOP
|
特許
|
意匠
|
商標
特許ウォッチ
Twitter
他の特許を見る
10個以上の画像は省略されています。
公開番号
2025181037
公報種別
公開特許公報(A)
公開日
2025-12-11
出願番号
2024088781
出願日
2024-05-31
発明の名称
燃料供給装置
出願人
愛三工業株式会社
代理人
弁理士法人岡田国際特許事務所
主分類
F02M
37/10 20060101AFI20251204BHJP(燃焼機関;熱ガスまたは燃焼生成物を利用する機関設備)
要約
【課題】フランジユニットとポンプユニットとが伸縮連結ユニットで連結された燃料供給装置において、フランジユニットに対するポンプユニットの相対回転を抑制する。
【解決手段】
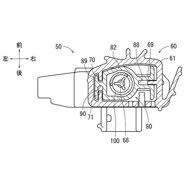
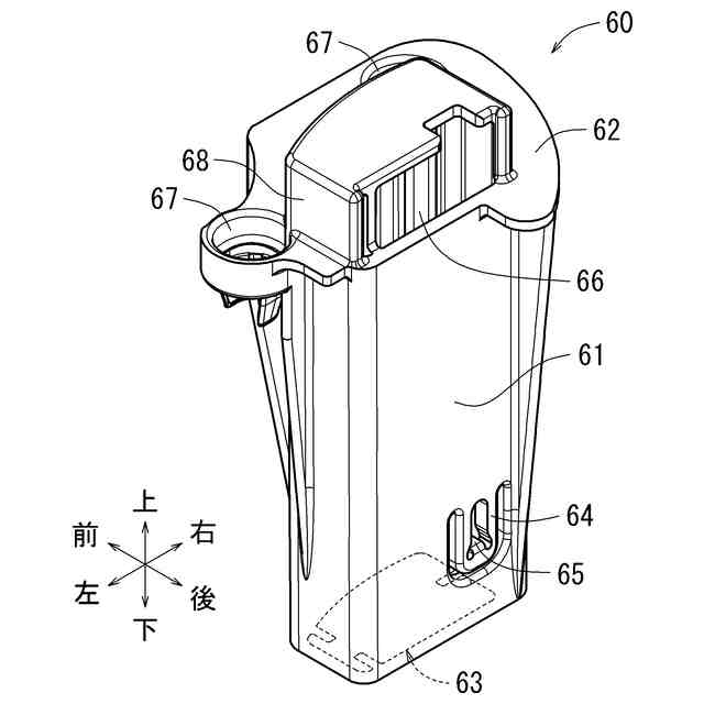
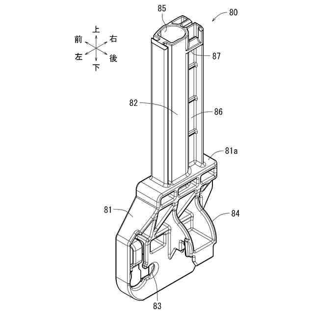
フランジユニット10及びポンプユニット30を相互に連結する伸縮連結ユニット50は、ハウジング部材60と、軸方向に摺動可能にハウジング部材60内に嵌合されたジョイント部材80とを有する。ハウジング部材60の内周部には位置決め突部69,70,71が設けられている。ジョイント部材80の外周部には、位置決め突部69,70,71と嵌合する位置決め溝88,89,90が設けられている。
【選択図】図9
特許請求の範囲
【請求項1】
燃料供給装置であって、
燃料タンクの上壁に形成された開口を塞ぐように上壁に固定される蓋部材と、
前記燃料タンクの底壁に載置されるポンプユニットと、
前記蓋部材及び前記ポンプユニットの一方に連結されている筒状部材と、
前記蓋部材及び前記ポンプユニットの他方に連結されており、軸方向に摺動可能に前記筒状部材内に嵌合されている支柱部材と、
を備え、
前記筒状部材の内周部には突部が設けられており、
前記支柱部材の外周部には、前記突部と嵌合して前記筒状部材及び前記支柱部材の相対回転を規制する溝部が設けられている、燃料供給装置。
続きを表示(約 210 文字)
【請求項2】
請求項1に記載の燃料供給装置であって、
前記突部及び前記溝部は2組以上設けられており、
前記突部は、前記筒状部材の軸方向に垂直な平面において、相互に異なる方向に突出している、燃料供給装置。
【請求項3】
請求項1または2に記載の燃料供給装置であって、
前記突部は、前記筒状部材の軸方向に沿って前記筒状部材の内周部の上端から下端まで延在する突条である、燃料供給装置。
発明の詳細な説明
【技術分野】
【0001】
本明細書に開示の技術は、燃料供給装置に関する。
続きを表示(約 1,600 文字)
【背景技術】
【0002】
従来、ガソリン等の液体燃料で走行する自動車等の車両には、燃料タンク内の燃料を内燃機関いわゆるエンジンに供給する燃料供給装置が搭載されている。特許文献1には、このような燃料供給装置として、燃料タンクの上壁に形成された開口を塞ぐ蓋部材と、燃料タンクの底壁に載置されたポンプユニットと、蓋部材とポンプユニットとを連結する伸縮連結ユニットとを備える燃料供給装置が開示されている。伸縮連結ユニットは、蓋部材に連結された筒状部材と、ポンプユニットに連結された支柱部材とが軸方向に相対移動可能に相互に嵌合されることにより、伸縮自在に構成されている。
【0003】
また、特許文献1の蒸発燃料処理装置では、伸縮連結ユニットが伸縮する際のスティックスリップによる異音を抑制するために、筒状部材と支柱部材とが相互に融点が異なる樹脂で形成されている。
【先行技術文献】
【特許文献】
【0004】
特開2020-63673号公報
【発明の概要】
【発明が解決しようとする課題】
【0005】
しかしながら、従来の燃料供給装置では、伸縮連結ユニットの筒状部材と支柱部材との回転規制が十分ではなかった。そのため、筒状部材と支柱部材とが相対回転すると、それに伴い燃料タンクの上壁に固定された蓋部材に対してポンプユニットが相対回転して、ポンプユニットのガタつきが生じてしまう。そして、ポンプユニットに固定されているセンダゲージのフロートが揺動し、センダゲージの測定精度が低下してしまう問題があった。特に、特許文献1のように、筒状部材と支柱部材とが異なる樹脂で形成されていると、燃料による樹脂の膨潤が生じた際の部材の寸法変化量が異なり、ポンプユニットのガタつきがより大きくなる場合があった。
【0006】
本明細書に開示の技術は、蓋部材に対するポンプユニットの相対回転を抑制できる燃料供給装置を提供することを目的とする。
【課題を解決するための手段】
【0007】
本開示の第1の態様は、燃料供給装置であって、燃料タンクの上壁に形成された開口を塞ぐように上壁に固定される蓋部材と、前記燃料タンクの底壁に載置されるポンプユニットと、前記蓋部材及び前記ポンプユニットの一方に連結されている筒状部材と、前記蓋部材及び前記ポンプユニットの他方に連結されており、軸方向に摺動可能に前記筒状部材内に嵌合されている支柱部材と、を備え、前記筒状部材の内周部には突部が設けられており、前記支柱部材の外周部には、前記突部と嵌合して前記筒状部材及び前記支柱部材の相対回転を規制する溝部が設けられている、燃料供給装置である。
【0008】
第1の態様によると、支柱部材に設けられた突部と筒状部材に設けられた溝部とが相互に嵌合することにより、支柱部材が筒状部材内で回転することを規制する。そのため、支柱部材に連結された蓋部材と筒状部材に連結されたポンプユニットとの相対回転を抑制することができる。
【0009】
本開示の第2の態様では、前記突部及び前記溝部は2組以上設けられており、前記突部は、前記筒状部材の軸方向に垂直な平面において、相互に異なる方向に突出している。第2の態様によると、相互に異なる方向に突出した突部が溝部と嵌合することにより、支柱部材と筒状部材の相対回転、ひいては蓋部材に対するポンプユニットの相対回転を効果的に抑制できる。
【0010】
本開示の第3の態様では、前記突部は、前記筒状部材の軸方向に沿って前記筒状部材の内周部の上端から下端まで延在する突条である。第3の態様によると、軸方向において溝部と嵌合する突部の長さが長くなることにより、支柱部材が筒状部材に対して傾斜することを抑制できる。
【図面の簡単な説明】
(【0011】以降は省略されています)
この特許をJ-PlatPat(特許庁公式サイト)で参照する
関連特許
他の特許を見る