TOP
|
特許
|
意匠
|
商標
特許ウォッチ
Twitter
他の特許を見る
公開番号
2025173151
公報種別
公開特許公報(A)
公開日
2025-11-27
出願番号
2024078579
出願日
2024-05-14
発明の名称
金型のガス抜き構造
出願人
愛三工業株式会社
代理人
弁理士法人岡田国際特許事務所
主分類
B22D
17/22 20060101AFI20251119BHJP(鋳造;粉末冶金)
要約
【課題】製品成形サイクルをハイサイクル化する。
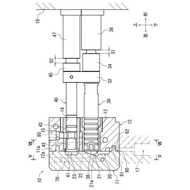
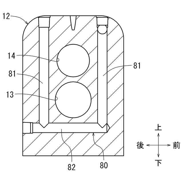
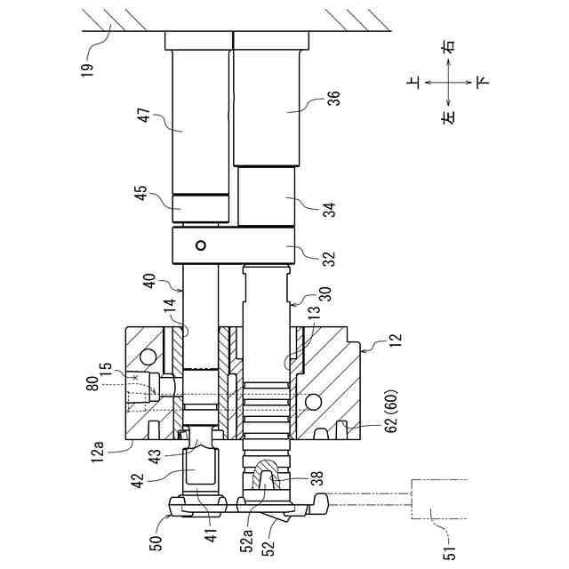
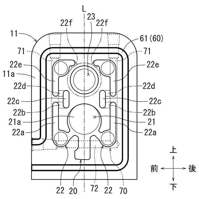
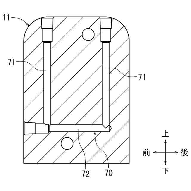
【解決手段】金型10のガス抜き構造は、固定型11の分割面11aと可動型12の分割面12aとの間に形成されかつキャビティ17に連通するガス抜き通路20を備える。固定型11の分割面11aと可動型12の分割面12aとの間には、ガス抜き通路20と外部との間の沿面距離を長くするための相互に嵌合可能な嵌合凸部61と嵌合凹部62とからなる嵌合部60が設けられる。ガス抜き通路20の周辺部における固定型11の分割面11aと可動型12の分割面12aとの間からの溶湯の噴き出しを抑制する。
【選択図】図1
特許請求の範囲
【請求項1】
金型の固定型の分割面と可動型の分割面との間に形成されかつキャビティに連通するガス抜き通路を備える、金型のガス抜き構造であって、
前記固定型の分割面と前記可動型の分割面との間には、前記ガス抜き通路と外部との間の沿面距離を長くするための相互に嵌合可能な嵌合凸部と嵌合凹部とからなる嵌合部が設けられている、金型のガス抜き構造。
続きを表示(約 330 文字)
【請求項2】
請求項1に記載の金型のガス抜き構造であって、
前記嵌合部は、前記ガス抜き通路を取り囲む形状を有する、金型のガス抜き構造。
【請求項3】
請求項1又は2に記載の金型のガス抜き構造であって、
前記固定型と前記可動型との少なくとも一方の型は、前記ガス抜き通路に隣接しかつ冷却流体が流れる冷却通路を備えている、金型のガス抜き構造。
【請求項4】
請求項1又は2に記載の金型のガス抜き構造であって、
前記ガス抜き通路で凝固した余剰部を押し出す押出ピンを備えており、
前記押出ピンの先端面には、前記余剰部にボス部を一体形成するボス部形成用穴部が形成されている、金型のガス抜き構造。
発明の詳細な説明
【技術分野】
【0001】
本明細書に開示の技術は金型のガス抜き構造に関する。詳しくは、ダイカスト金型や射出成形金型において、成形時にキャビティからガスを排出するガス抜き構造に関する。
続きを表示(約 1,100 文字)
【背景技術】
【0002】
従来、特許文献1に記載された射出成形装置のガス抜き構造がある。そのガス抜き構造は、冷却水が流通可能な冷却室を備える箱形のケースと、ケースに備えられる冷却板と、からなるチルベントを、互いに冷却板の表面を向かい合わせて構成するものである。
【先行技術文献】
【特許文献】
【0003】
特開2011-212693号公報
【発明の概要】
【発明が解決しようとする課題】
【0004】
1サイクルの鋳造等の成形に要する時間を短縮したい場合、例えば、金型自体の冷却時間の短縮も有効である。しかし、金型内のキャビティ部の周辺部とガス抜き通路の周辺部との温度差が拡大することにより、金型の変形が大きくなり、金型の分割面から溶湯が噴き出しやすくなる。このため、製品成形サイクルのハイサイクル化(1サイクルの成形に要する時間の短縮化)が難しい。
【0005】
本明細書に開示の技術が解決しようとする課題は、製品成形サイクルをハイサイクル化することにある。
【課題を解決するための手段】
【0006】
上記課題を解決するため、本明細書が開示する技術は次の手段をとる。
【0007】
第1の手段は、金型の固定型の分割面と可動型の分割面との間に形成されかつキャビティに連通するガス抜き通路を備える、金型のガス抜き構造であって、前記固定型の分割面と前記可動型の分割面との間には、前記ガス抜き通路と外部との間の沿面距離を長くするための相互に嵌合可能な嵌合凸部と嵌合凹部とからなる嵌合部が設けられている、金型のガス抜き構造である。
【0008】
第1の手段によると、固定型の分割面と可動型の分割面との間に設けられた嵌合部の嵌合凸部と嵌合凹部との嵌合によって、ガス抜き通路と外部との間の沿面距離を長くすることができる。これにより、金型のガス抜き通路の周辺部における固定型の分割面と可動型の分割面との間からの溶湯の噴き出しを抑制することができる。よって、製品成形サイクルをハイサイクル化することができる。
【0009】
第2の手段は、第1の手段の金型のガス抜き構造であって、前記嵌合部は、前記ガス抜き通路を取り囲む形状を有する、金型のガス抜き構造である。
【0010】
第2の手段によると、ガス抜き通路を取り囲む形状を有する嵌合部によると、ガス抜き通路を取り囲まない形状の嵌合部と比べて、金型のガス抜き通路の周辺部における固定型の分割面と可動型の分割面との間からの溶湯の噴き出しを効果的に抑制することができる。
(【0011】以降は省略されています)
この特許をJ-PlatPat(特許庁公式サイト)で参照する
関連特許
愛三工業株式会社
冷却器
16日前
愛三工業株式会社
マスク
1か月前
愛三工業株式会社
集電体
16日前
愛三工業株式会社
消火剤
8日前
愛三工業株式会社
食品容器
29日前
愛三工業株式会社
樹脂部材
2か月前
愛三工業株式会社
固定構造
2か月前
愛三工業株式会社
吸着装置
16日前
愛三工業株式会社
樹脂部材
1か月前
愛三工業株式会社
吸気弁装置
2か月前
愛三工業株式会社
電極構造体
1か月前
愛三工業株式会社
水素分離膜
8日前
愛三工業株式会社
燃料ポンプ
1日前
愛三工業株式会社
液体ポンプ
1日前
愛三工業株式会社
ガス吸着装置
1か月前
愛三工業株式会社
燃料供給装置
1か月前
愛三工業株式会社
電圧変換装置
2か月前
愛三工業株式会社
電力供給装置
2か月前
愛三工業株式会社
インシュレータ
16日前
愛三工業株式会社
燃料電池システム
1か月前
愛三工業株式会社
燃料電池システム
2か月前
愛三工業株式会社
燃料電池システム
8日前
愛三工業株式会社
無人搬送システム
1か月前
愛三工業株式会社
射出成形機用金型
3日前
愛三工業株式会社
金型のガス抜き構造
9日前
愛三工業株式会社
温度計測モジュール
2か月前
愛三工業株式会社
水素エンジンシステム
29日前
愛三工業株式会社
ガス燃料用レギュレータ
16日前
愛三工業株式会社
飛行体用気体供給システム
8日前
愛三工業株式会社
ハイブリッド車両の制御装置
1か月前
愛三工業株式会社
吸着体及びこれを用いた吸着装置
1か月前
愛三工業株式会社
液化ガス利用システム及び自動車
2か月前
愛三工業株式会社
アクチュエータ、バルブ及びサーモスイッチ
1か月前
愛三工業株式会社
集電体、集電体を製造するための中間体及び集電体の製造方法
1日前
個人
鋼の連続鋳造用鋳型
3か月前
個人
ピストンの低圧鋳造金型
7か月前
続きを見る
他の特許を見る