TOP
|
特許
|
意匠
|
商標
特許ウォッチ
Twitter
他の特許を見る
公開番号
2025135567
公報種別
公開特許公報(A)
公開日
2025-09-18
出願番号
2025028257
出願日
2025-02-25
発明の名称
液化ガス利用システム及び自動車
出願人
愛三工業株式会社
代理人
弁理士法人太陽国際特許事務所
主分類
F02M
21/06 20060101AFI20250910BHJP(燃焼機関;熱ガスまたは燃焼生成物を利用する機関設備)
要約
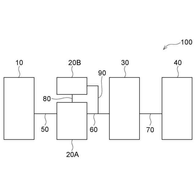
【課題】液化ガスの利用効率に優れる液化ガス利用システム及び自動車を提供する。
【解決手段】成分Aを含む液化ガスを貯蔵する貯蔵部(10)と、前記液化ガスに含まれる成分Aの含有率を調節する調節部(20)と、前記液化ガスを気体に変換する気化部(30)と、前記気体を燃焼する燃焼部(40)と、を備える液化ガス利用システム(100)。
【選択図】図1
特許請求の範囲
【請求項1】
成分Aを含む液化ガスを貯蔵する貯蔵部と、
前記液化ガスに含まれる成分Aの含有率を調節する調節部と、
前記液化ガスを気体に変換する気化部と、
前記気体を燃焼する燃焼部と、を備える液化ガス利用システム。
続きを表示(約 740 文字)
【請求項2】
前記調節部は、前記気化部に供給される液化ガスにおける成分Aの含有率を、前記貯蔵部に貯蔵される液化ガスにおける成分Aの含有率よりも大きくなるように調節する、請求項1に記載の液化ガス利用システム。
【請求項3】
前記調節部は成分A以外の成分の少なくとも一部を液化ガスから分離する機能を有する、請求項1に記載の液化ガス利用システム。
【請求項4】
成分Aはプロパン又はブタンである、請求項1に記載の液化ガス利用システム。
【請求項5】
前記調節部は金属有機構造体を含む、請求項1に記載の液化ガス利用システム。
【請求項6】
前記液化ガスは液化石油ガスである、請求項1に記載の液化ガス利用システム。
【請求項7】
前記燃焼部を冷却する冷媒と、
前記冷媒の温度に基づいて前記調節部の動作を制御する制御部と、をさらに備える、請求項1に記載の液化ガス利用システム。
【請求項8】
前記制御部は、前記燃焼部の始動時における前記冷媒の温度が第1所定温度未満である場合に前記調節部を動作させる、請求項7に記載の液化ガス利用システム。
【請求項9】
前記制御部は、前記燃焼部の始動後における前記冷媒の温度が第2所定温度未満である場合に成分Aの含有率が調節された液化ガスを前記気化部に供給する、請求項7に記載の液化ガス利用システム。
【請求項10】
前記制御部は、前記燃焼部の始動時における前記冷媒の温度が第1所定温度以上である場合に前記調節部を動作させない、請求項7に記載の液化ガス利用システム。
(【請求項11】以降は省略されています)
発明の詳細な説明
【技術分野】
【0001】
本開示は、液化ガス利用システム及び自動車に関する。
続きを表示(約 2,400 文字)
【背景技術】
【0002】
常温常圧で気体の状態である燃料を液化してなる液化ガスは、液化ガスを気化及び燃焼して得られる熱エネルギー源として広く利用されている(例えば、特許文献1参照)。
【先行技術文献】
【特許文献】
【0003】
特開2002-89828号公報
【発明の概要】
【発明が解決しようとする課題】
【0004】
液化ガスは、自動車の燃料としても利用されている。自動車の燃料として使用される液化ガスは一般にプロパンとブタンとを主成分としている。ブタンはプロパンよりも蒸気圧が低く、低温条件下で気化しにくい。このため、ブタンの割合が大きい液化ガスは周囲の気温が低い場合や自動車の始動時のエンジンが温まっていない場合に気化が充分に進まず、オーバーリッチ(エンジンに供給される酸素と燃料の混合気体において燃料の比率が高すぎる状態)のような問題が生じるおそれがある。
上記事情に鑑み、本開示は、液化ガスの利用効率に優れる液化ガス利用システム及び自動車を提供することを課題とする。
【課題を解決するための手段】
【0005】
上記課題を解決するための手段には、以下の実施態様が含まれる。
<1>成分Aを含む液化ガスを貯蔵する貯蔵部と、
前記液化ガスに含まれる成分Aの含有率を調節する調節部と、
前記液化ガスを気体に変換する気化部と、
前記気体を燃焼する燃焼部と、を備える液化ガス利用システム。
<2>前記調節部は、前記気化部に供給される液化ガスにおける成分Aの含有率を、前記貯蔵部に貯蔵される液化ガスにおける成分Aの含有率よりも大きくなるように調節する、<1>に記載の液化ガス利用システム。
<3>前記調節部は成分A以外の成分の少なくとも一部を液化ガスから分離する機能を有する、<1>又は<2>に記載の液化ガス利用システム。
<4>成分Aはプロパン又はブタンである、<1>~<3>のいずれか1項に記載の液化ガス利用システム。
<5>前記調節部は金属有機構造体を含む、<1>~<4>のいずれか1項に記載の液化ガス利用システム。
<6>前記液化ガスは液化石油ガスである、<1>~<5>のいずれか1項に記載の液化ガス利用システム。
<7>前記燃焼部を冷却する冷媒と、
前記冷媒の温度に基づいて前記調節部の動作を制御する制御部と、をさらに備える、<1>~<6>のいずれか1項に記載の液化ガス利用システム。
<8>前記制御部は、前記燃焼部の始動時における前記冷媒の温度が第1所定温度未満である場合に前記調節部を動作させる、<7>に記載の液化ガス利用システム。
<9>前記制御部は、前記燃焼部の始動後における前記冷媒の温度が第2所定温度未満である場合に成分Aの含有率が調節された液化ガスを前記気化部に供給する、<7>又は<8>に記載の液化ガス利用システム。
<10>前記制御部は、前記燃焼部の始動時における前記冷媒の温度が第1所定温度以上である場合に前記調節部を動作させない、<7>~<9>のいずれか1項に記載の液化ガス利用システム。
<11><1>~<10>のいずれか1項に記載の液化ガス利用システムを備える自動車。
【発明の効果】
【0006】
本開示によれば、液化ガスの利用効率に優れる液化ガス利用システム及び自動車が提供される。
【図面の簡単な説明】
【0007】
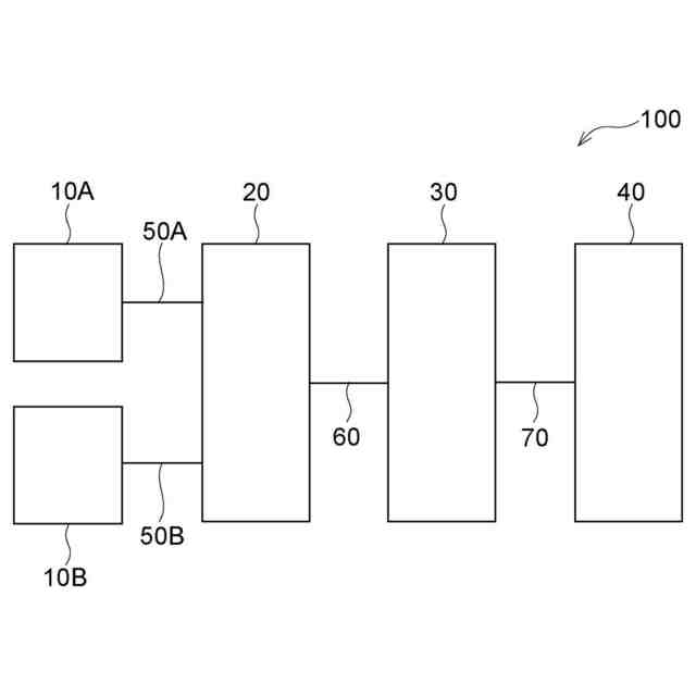
液化ガス利用システムの構成の一例を示す概略的な図である。
液化ガス利用システムの構成の一例を示す概略的な図である。
液化ガス利用システムの構成の一例を示す概略的な図である。
【発明を実施するための形態】
【0008】
以下、本発明の実施形態について説明する。但し、本発明は以下の実施形態に限定されるものではない。
本明細書において「~」を用いて示された数値範囲には、「~」の前後に記載される数値がそれぞれ最小値及び最大値として含まれる。
本明細書中に段階的に記載されている数値範囲において、一つの数値範囲で記載された上限値又は下限値は、他の段階的な記載の数値範囲の上限値又は下限値に置き換えてもよい。また、本明細書中に記載されている数値範囲において、その数値範囲の上限値又は下限値は、実施例に示されている値に置き換えてもよい。
【0009】
本開示の一実施形態は、
成分Aを含む液化ガスを貯蔵する貯蔵部と、
前記液化ガスに含まれる成分Aの含有率を調節する調節部と、
前記液化ガスを気体に変換する気化部と、
前記気体を燃焼する燃焼部と、を備える液化ガス利用システムである。
【0010】
本開示の液化ガス利用システムは、気化させる前の液化ガスに含まれる成分Aの含有率を調節する調節部を備えている。本開示において「成分A」とは、液化ガスに含まれる成分のうち調節部における含有率の調節の対象となる成分をいう。
調節部は、例えば、液化ガスに含まれる成分Aとして、相対的に蒸気圧が高い成分の割合を高めるように機能する。例えば、気化させる前の液化ガスがプロパンとブタンとの混合ガスである場合、気化部に供給される液化ガスに含まれる成分Aとしてのプロパンの含有率を高めるように機能する。その結果、例えば、気温が低く液化ガスが気化しにくい場合も液化ガスを充分に気化させることができる。
以下、液化ガス利用システムの各構成要素について説明する。
(【0011】以降は省略されています)
この特許をJ-PlatPat(特許庁公式サイト)で参照する
関連特許
愛三工業株式会社
マスク
1か月前
愛三工業株式会社
消火剤
8日前
愛三工業株式会社
集電体
16日前
愛三工業株式会社
冷却器
16日前
愛三工業株式会社
食品容器
29日前
愛三工業株式会社
吸着装置
16日前
愛三工業株式会社
液体ポンプ
1日前
愛三工業株式会社
電極構造体
1か月前
愛三工業株式会社
燃料ポンプ
1日前
愛三工業株式会社
水素分離膜
8日前
愛三工業株式会社
インシュレータ
16日前
愛三工業株式会社
無人搬送システム
1か月前
愛三工業株式会社
燃料電池システム
1か月前
愛三工業株式会社
燃料電池システム
8日前
愛三工業株式会社
射出成形機用金型
3日前
愛三工業株式会社
金型のガス抜き構造
9日前
愛三工業株式会社
水素エンジンシステム
29日前
愛三工業株式会社
ガス燃料用レギュレータ
16日前
愛三工業株式会社
飛行体用気体供給システム
8日前
愛三工業株式会社
ハイブリッド車両の制御装置
1か月前
愛三工業株式会社
吸着体及びこれを用いた吸着装置
1か月前
愛三工業株式会社
アクチュエータ、バルブ及びサーモスイッチ
1か月前
愛三工業株式会社
集電体、集電体を製造するための中間体及び集電体の製造方法
1日前
個人
擬似オイル発電装置
22日前
個人
ガバナー
9日前
ダイハツ工業株式会社
発電装置
17日前
株式会社ミクニ
二次空気供給システム
2日前
トヨタ自動車株式会社
制御装置
1日前
株式会社ミクニ
インテークマニホールド
1日前
株式会社ミクニ
インテークマニホールド
1日前
トヨタ自動車株式会社
制御装置
16日前
トヨタ自動車株式会社
燃料噴射制御装置
10日前
トヨタ自動車株式会社
エンジン制御装置
1か月前
国立大学法人 名古屋工業大学
小型化無振動機構機器
8日前
日産自動車株式会社
吸気装置
10日前
トヨタ自動車株式会社
内燃機関の制御装置
16日前
続きを見る
他の特許を見る