TOP
|
特許
|
意匠
|
商標
特許ウォッチ
Twitter
他の特許を見る
公開番号
2025160698
公報種別
公開特許公報(A)
公開日
2025-10-23
出願番号
2024063420
出願日
2024-04-10
発明の名称
ガス吸着装置
出願人
愛三工業株式会社
代理人
弁理士法人岡田国際特許事務所
主分類
B01D
53/04 20060101AFI20251016BHJP(物理的または化学的方法または装置一般)
要約
【課題】吸着層に吸着したガス分子の脱離をエネルギー損失の少ない方法で促進するガス吸着装置を提供する。
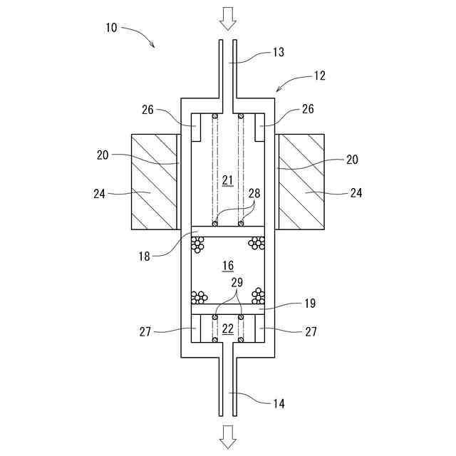
【解決手段】一つの実施形態は、ガス吸着装置(10)であって、ハウジング(12)と、前記ハウジング内に収容され前記ハウジング(12)に導入された混合ガス中の特定のガス成分を吸着する吸着剤を含む吸着層(16)と、前記ハウジング(12)内に配置された加熱装置(20)とを備え、前記吸着層(16)は前記ハウジング(12)内を移動可能に構成されており、前記ガス成分の吸着時は前記加熱装置(20)から離れる方向に移動し、前記ガス成分の脱離時は前記加熱装置に近づく方向に移動する。
【選択図】図1
特許請求の範囲
【請求項1】
ガス吸着装置であって、
ハウジングと、
前記ハウジング内に収容され前記ハウジングに導入された混合ガス中の特定のガス成分を吸着する吸着剤を含む吸着層と、
前記ハウジング内に配置された加熱装置とを備え、
前記吸着層は前記ハウジング内を移動可能に構成されており、前記ガス成分の吸着時は前記加熱装置から離れる方向に移動し、前記ガス成分の脱離時は前記加熱装置に近づく方向に移動するガス吸着装置。
続きを表示(約 910 文字)
【請求項2】
請求項1のガス吸着装置であって、
前記混合ガスを導入するための前記ハウジングに形成された混合ガス導入口と、
前記吸着剤に吸着した前記ガス成分を脱離させるためのパージガスを導入するための前記ハウジングに形成されたパージガス導入口とを備えており、
吸着時には前記混合ガス導入口から流入した前記混合ガスの圧力によって前記吸着層が前記加熱装置から離れる方向に移動し、脱離時には前記パージガス導入口から流入した前記パージガスの圧力によって前記吸着層が前記加熱装置に近づく方向に移動する、ガス吸着装置。
【請求項3】
請求項2のガス吸着装置であって、
前記吸着層を前記加熱装置から離れる方向に付勢する第1付勢部材と、
前記吸着層を前記加熱装置に近づく方向に付勢する第2付勢部材とを備える、ガス吸着装置。
【請求項4】
請求項2のガス吸着装置であって、
前記ハウジングは筒状であって、前記混合ガス導入口は前記ハウジングの一端に設けられ、前記パージガス導入口は前記ハウジングの他端に設けられており、
前記吸着層は前記混合ガス導入口と前記パージガス導入口の間を直線的に移動する、ガス吸着装置。
【請求項5】
請求項1のガス吸着装置であって、
前記ハウジングの外側に移動可能に設けられた磁石と、
前記磁石を駆動するアクチュエータと、
前記吸着層に設けられた磁性体とをさらに備え、
前記アクチュエータによって駆動される前記磁石の磁力によって前記吸着層が移動する、ガス吸着装置。
【請求項6】
請求項1のガス吸着装置であって、
前記ハウジングの外側に設けられたソレノイドコイルと、
前記吸着層に設けられた磁性体とをさらに備え、
前記ソレノイドコイルの磁力によって前記吸着層が移動する、ガス吸着装置。
【請求項7】
請求項1~6のいずれかのガス吸着装置であって、
前記特定のガス成分はアンモニアであるガス吸着装置。
発明の詳細な説明
【技術分野】
【0001】
本願に開示する技術は、ガス吸着装置に関する。
続きを表示(約 1,800 文字)
【背景技術】
【0002】
ハウジング内に収容された吸着層で混合ガス中の特定のガス成分を吸着するガス吸着装置が知られている。例えば、特開2023-147269号公報に開示されている吸着装置は、吸着層を構成する吸着剤として二酸化炭素を吸着可能なゼオライトを用いたものであり、天然ガスから二酸化炭素を除去するのに適したものである。
【先行技術文献】
【特許文献】
【0003】
特開2023-147269号公報
【発明の概要】
【発明が解決しようとする課題】
【0004】
吸着層に吸着したガス分子は、通常、パージガスを用いることで脱離される。この脱離を促進するため、吸着層の近くに加熱装置を設け、脱離運転時は吸着層を加熱し、吸着運転時には加熱装置をオフにして吸着層を冷却することがある。しかし、この方法では吸着・脱離サイクルを経るたびに吸着層の加熱と冷却が繰り返されるため、熱エネルギーの損失が大きい。特に熱容量の大きな断熱材が周囲に存在する場合はエネルギー損失が顕著である。また、損失を抑えるため吸着と脱離の切り替えの頻度を減らすと吸着層を構成する吸着剤の量を増やす必要が生じ、吸着装置のサイズや製造コストが増大する。そこで、吸着したガス分子の脱離をエネルギー損失の少ない方法で促進することが望まれる。
【課題を解決するための手段】
【0005】
本技術の一つの態様は、ガス吸着装置であって、ハウジングと、前記ハウジング内に収容され前記ハウジングに導入された混合ガス中の特定のガス成分を吸着する吸着剤を含む吸着層と、前記ハウジング内に配置された加熱装置とを備え、前記吸着層は前記ハウジング内を移動可能に構成されており、前記ガス成分の吸着時は前記加熱装置から離れる方向に移動し、前記ガス成分の脱離時は前記加熱装置に近づく方向に移動する。これにより、吸着層16を移動させることで吸着層の加熱と冷却を行うことができるため、吸着・脱離サイクルに伴う熱エネルギーの損失を低減することができる。
【0006】
実施形態によっては、前記混合ガスを導入するための前記ハウジングに形成された混合ガス導入口と、前記吸着剤に吸着した前記ガス成分を脱離させるためのパージガスを導入するための前記ハウジングに形成されたパージガス導入口とを備えており、吸着時には前記混合ガス導入口から流入した前記混合ガスの圧力によって前記吸着層が前記加熱装置から離れる方向に移動し、脱離時には前記パージガス導入口から流入した前記パージガスの圧力によって前記吸着層が前記加熱装置に近づく方向に移動する。これにより、別に駆動源を設けることなく吸着層を移動させることができる。
【0007】
実施形態によっては、前記吸着層を前記加熱装置から離れる方向に付勢する第1付勢部材と、前記吸着層を前記加熱装置に近づく方向に付勢する第2付勢部材とを備える。これにより、吸着層が両側から確実に保持されるとともに、吸着層の移動がスムーズになる。また、ガス吸着装置を設置する向きの自由度が高まる。
【0008】
実施形態によっては、前記ハウジングは筒状であって、前記混合ガス導入口は前記ハウジングの一端に設けられ、前記パージガス導入口は前記ハウジングの他端に設けられており、前記吸着層は前記混合ガス導入口と前記パージガス導入口の間を直線的に移動する。これにより、吸着層を単純な態様で移動させることができる。
【0009】
実施形態によっては、前記ハウジングの外側に移動可能に設けられた磁石と、前記磁石を駆動するアクチュエータと、前記吸着層に設けられた磁性体とをさらに備え、前記アクチュエータによって駆動される前記磁石の磁力によって前記吸着層が移動する。これにより、吸着層を確実に移動させることができる。
【0010】
実施形態によっては、前記ハウジングの外側に設けられたソレノイドコイルと、前記吸着層に設けられた磁性体とをさらに備え、前記ソレノイドコイルの磁力によって前記吸着層が移動する。これにより、吸着層を確実に移動させることができる。
(【0011】以降は省略されています)
この特許をJ-PlatPat(特許庁公式サイト)で参照する
関連特許
愛三工業株式会社
集電体
18日前
愛三工業株式会社
消火剤
10日前
愛三工業株式会社
マスク
1か月前
愛三工業株式会社
冷却器
18日前
愛三工業株式会社
吸着装置
18日前
愛三工業株式会社
樹脂部材
1か月前
愛三工業株式会社
食品容器
1か月前
愛三工業株式会社
燃料ポンプ
3日前
愛三工業株式会社
水素分離膜
10日前
愛三工業株式会社
電極構造体
1か月前
愛三工業株式会社
液体ポンプ
3日前
愛三工業株式会社
ガス吸着装置
1か月前
愛三工業株式会社
燃料供給装置
2か月前
愛三工業株式会社
インシュレータ
18日前
愛三工業株式会社
無人搬送システム
1か月前
愛三工業株式会社
燃料電池システム
1か月前
愛三工業株式会社
燃料電池システム
10日前
愛三工業株式会社
射出成形機用金型
5日前
愛三工業株式会社
金型のガス抜き構造
11日前
愛三工業株式会社
水素エンジンシステム
1か月前
愛三工業株式会社
ガス燃料用レギュレータ
18日前
愛三工業株式会社
飛行体用気体供給システム
10日前
愛三工業株式会社
ハイブリッド車両の制御装置
1か月前
愛三工業株式会社
吸着体及びこれを用いた吸着装置
1か月前
愛三工業株式会社
アクチュエータ、バルブ及びサーモスイッチ
1か月前
愛三工業株式会社
集電体、集電体を製造するための中間体及び集電体の製造方法
3日前
株式会社西部技研
除湿装置
1か月前
株式会社日本触媒
ドロー溶質
1か月前
プライミクス株式会社
攪拌装置
18日前
日本バイリーン株式会社
フィルタ
1か月前
サンノプコ株式会社
消泡剤
1か月前
東レ株式会社
遠心ポッティング方法
1か月前
トヨタ自動車株式会社
濾過装置
1か月前
株式会社切川物産
撹拌装置
19日前
トヨタ紡織株式会社
フィルタ
12日前
株式会社高垣製作所
粉粒体加工装置
3日前
続きを見る
他の特許を見る