TOP
|
特許
|
意匠
|
商標
特許ウォッチ
Twitter
他の特許を見る
公開番号
2025181404
公報種別
公開特許公報(A)
公開日
2025-12-11
出願番号
2024089371
出願日
2024-05-31
発明の名称
ヒータ
出願人
愛三工業株式会社
代理人
弁理士法人 快友国際特許事務所
主分類
H05B
3/06 20060101AFI20251204BHJP(他に分類されない電気技術)
要約
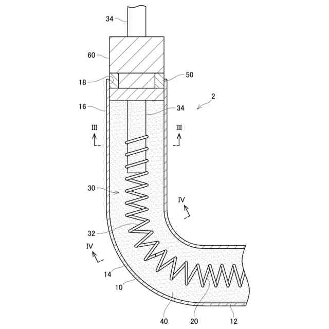
【課題】金属管が変形したとしても耐電圧を維持することができる技術を提供する。
【解決手段】ヒータは、金属管と、金属管の内部に配置されている巻き線状の抵抗発熱部と、金属管の内部と外部にわたり配置され、一端部が金属管の内部において抵抗発熱部に接続され、他端部が金属管の開口部から外部に引き出されている端子部と、金属管の内部において抵抗発熱部及び端子部の周囲に充填されている絶縁材と、を備えている。端子部は、金属管の内部において抵抗発熱部に接続されている巻き線状の第1部分と、第1部分の線径よりも大径の直線状の第2部分であって、一端部が金属管の内部において第1部分に接続され、他端部が金属管の開口部から外部に引き出されている第2部分と、を備えていてもよい。
【選択図】図2
特許請求の範囲
【請求項1】
金属管と、
前記金属管の内部に配置されている巻き線状の抵抗発熱部と、
前記金属管の内部と外部にわたり配置され、一端部が前記金属管の内部において前記抵抗発熱部に接続され、他端部が前記金属管の開口部から外部に引き出されている端子部と、
前記金属管の内部において前記抵抗発熱部及び前記端子部の周囲に充填されている絶縁材と、を備え、
前記端子部は、前記金属管の内部において前記抵抗発熱部に接続されている巻き線状の第1部分と、前記第1部分の線径よりも大径の直線状の第2部分であって、一端部が前記金属管の内部において前記第1部分に接続され、他端部が前記金属管の前記開口部から外部に引き出されている前記第2部分と、を備える、ヒータ。
続きを表示(約 310 文字)
【請求項2】
請求項1に記載のヒータであって、
前記金属管は、軸方向に直線状に延びる直線状部と、軸方向に曲線状に延びる曲線状部と、を備え、
前記端子部の前記第1部分は、前記金属管の前記直線状部と前記曲線状部にわたり前記金属管の内部に配置され、
前記端子部の前記第2部分は、一端部が前記金属管の前記直線状部の内部において前記第1部分に接続され、他端部が前記金属管の前記直線状部に設けられている前記開口部から外部に引き出されている、ヒータ。
【請求項3】
請求項1又は2に記載のヒータであって、
前記端子部は、溶接接合により前記抵抗発熱部に接続されている、ヒータ。
発明の詳細な説明
【技術分野】
【0001】
本明細書に開示する技術は、ヒータに関する。
続きを表示(約 1,700 文字)
【背景技術】
【0002】
特許文献1にヒータが開示されている。特許文献1のヒータは、金属管と、金属管の内部に配置されている巻き線状の抵抗発熱部と、金属管の内部と外部にわたり配置され、一端部が金属管の内部において抵抗発熱部に接続され、他端部が金属管の開口部から外部に引き出されている端子部と、金属管の内部において抵抗発熱部及び端子部の周囲に充填されている絶縁材とを備えている。
【先行技術文献】
【特許文献】
【0003】
特開2004-69256号公報
【発明の概要】
【発明が解決しようとする課題】
【0004】
特許文献1のヒータは、螺旋状に巻き回された状態で本体の内部に配置されている。このような構成では、ヒータの金属管が曲げられることにより変形することがある。この場合に、金属管の内部に端子部が配置されている部分において金属管が変形すると、端子部とその周囲の絶縁材との間に隙間が生じ、その部分の耐電圧が低下することがある。そこで本明細書は、金属管が変形したとしても耐電圧を維持することができる技術を提供する。
【課題を解決するための手段】
【0005】
本技術の第1の態様では、ヒータが、金属管と、前記金属管の内部に配置されている巻き線状の抵抗発熱部と、前記金属管の内部と外部にわたり配置され、一端部が前記金属管の内部において前記抵抗発熱部に接続され、他端部が前記金属管の開口部から外部に引き出されている端子部と、前記金属管の内部において前記抵抗発熱部及び前記端子部の周囲に充填されている絶縁材と、を備えている。前記端子部は、前記金属管の内部において前記抵抗発熱部に接続されている巻き線状の第1部分と、前記第1部分の線径よりも大径の直線状の第2部分であって、一端部が前記金属管の内部において前記第1部分に接続され、他端部が前記金属管の前記開口部から外部に引き出されている第2部分と、を備えていてもよい。
【0006】
金属管の内部に抵抗発熱部が配置されているヒータでは、例えば、抵抗発熱部が配置されている部分を加熱対象に対して適切な位置に配置するために、金属管が曲げられることがある。その際に、金属管の内部に端子部が配置されている部分において金属管が変形することがある。この場合に、上記の構成によれば、抵抗発熱部に接続されている端子部が巻き線状の第1部分を備えているので、巻き線状の第1部分が金属管の変形に追従することにより、端子部とその周囲の絶縁材との間に隙間が生じることを抑制することができる。これにより、金属管が変形したとしても耐電圧を維持することができる。
【0007】
第2の態様では、上記第1の態様において、前記金属管は、軸方向に直線状に延びる直線状部と、軸方向に曲線状に延びる曲線状部と、を備えていてもよい。前記端子部の前記第1部分は、前記金属管の前記直線状部と前記曲線状部にわたり前記金属管の内部に配置されていてもよい。前記端子部の前記第2部分は、一端部が前記金属管の前記直線状部の内部において前記第1部分に接続され、他端部が前記金属管の前記直線状部に設けられている前記開口部から外部に引き出されていてもよい。
【0008】
この構成によると、端子部の第2部分が金属管の直線状部の内部に配置され、端子部の第1部分が金属管の曲線状部の内部に配置されるので、端子部の第1部分が金属管の曲線状部の形状に追従することにより、端子部とその周囲の絶縁材との間に隙間が生じることを抑制することができる。これにより、耐電圧を維持することができる。
【0009】
第3の態様では、上記第1又は第2の態様において、前記端子部は、溶接接合により前記抵抗発熱部に接続されていてもよい。
【0010】
溶接接合された部分は脆弱になり易く、通電不良が発生し易いが、上記の構成によると、巻き線状の第1部分が金属管の変形に追従することにより、溶接接合された部分の通電を維持することができる。
【図面の簡単な説明】
(【0011】以降は省略されています)
この特許をJ-PlatPat(特許庁公式サイト)で参照する
関連特許
他の特許を見る