TOP
|
特許
|
意匠
|
商標
特許ウォッチ
Twitter
他の特許を見る
公開番号
2025158223
公報種別
公開特許公報(A)
公開日
2025-10-17
出願番号
2024060563
出願日
2024-04-04
発明の名称
劣化判定装置、劣化判定システム、および、劣化判定方法
出願人
三菱重工業株式会社
代理人
SSIP弁理士法人
主分類
F01D
25/00 20060101AFI20251009BHJP(機械または機関一般;機関設備一般;蒸気機関)
要約
【課題】回転機械のシール装置が劣化しているかを正確に判定できる劣化判定装置、劣化判定システム、および劣化判定方法を提供する。
【解決手段】劣化判定装置は回転機械のシール装置が劣化しているかを判定する。回転機械は、ロータと、ロータを回転可能に支持する軸受と、軸受を取り囲む軸受箱と、軸受箱に供給されるシール空気が流れるためのシール空気供給路を規定するシール空気供給管と、軸受箱の取り囲むケーシングであって、シール空気よりも高い温度および高い圧力を有する高温高圧ガスが充満する外部空間から軸受箱を隔てると共に、ロータの外周面との間にシール装置が配置される内周面を含むケーシングとを備える。劣化判定装置は、ケーシングと軸受箱との間に形成される第1空間の圧力に相当する第1圧力が、軸受箱の内側に形成される第2空間の圧力に相当する第2圧力よりも大きい場合に、シール装置が劣化していると判定するように構成される。
【選択図】図3
特許請求の範囲
【請求項1】
回転機械のシール装置が劣化しているかを判定するための劣化判定装置であって、
前記回転機械は、
ロータと、
前記ロータを回転可能に支持する軸受と、
前記軸受を取り囲む軸受箱と、
前記軸受箱に供給されるシール空気が流れるためのシール空気供給路を規定するシール空気供給管と、
前記軸受箱の取り囲むケーシングであって、前記シール空気よりも高い温度および高い圧力を有する高温高圧ガスが充満する外部空間から前記軸受箱を隔てると共に、前記ロータの外周面との間に前記シール装置が配置される内周面を含むケーシングと、
を備え、
前記ケーシングと前記軸受箱との間に形成される第1空間の圧力に相当する第1圧力が、前記軸受箱の内側に形成される第2空間の圧力に相当する第2圧力よりも大きい場合に、前記シール装置が劣化していると判定するように構成された判定部を備える劣化判定装置。
続きを表示(約 1,400 文字)
【請求項2】
前記回転機械は、
前記軸受箱から前記第1空間に流れた前記シール空気が前記回転機械の外部に流れるためのシール空気排出路を規定する排出配管と、
前記排出配管内の圧力を計測するための第1圧力計と、
前記シール空気供給管内の圧力を計測するための第2圧力計と、
を含み、
前記第1圧力計の計測値に基づいて前記第1圧力を算出するための第1圧力算出部と、
前記第2圧力計の計測値に基づいて前記第2圧力を算出するための第2圧力算出部と、
をさらに備える
請求項1に記載の劣化判定装置。
【請求項3】
前記第1圧力算出部は、前記第1圧力計の計測値に、前記ケーシングから前記第1圧力計までの前記シール空気排出路における第1圧力損失に相当する第1補正値を加えることで、前記第1圧力を算出するように構成され、
前記第2圧力算出部は、前記第2圧力計の計測値から、前記第2圧力計から前記軸受箱までの前記シール空気供給路における第2圧力損失に相当する第2補正値を差し引くことで、前記第2圧力を算出するように構成される
請求項2に記載の劣化判定装置。
【請求項4】
請求項1から3のいずれかに記載の劣化判定装置と、
前記回転機械と
を備える劣化判定システム。
【請求項5】
前記軸受箱は、
前記軸受を取り囲む内側軸受箱と、
前記内側軸受箱を取り囲む外側軸受箱と、
を有し、
前記第2空間は、前記内側軸受箱と前記外側軸受箱との間の空間であり、
前記シール空気供給管は、前記第2空間に前記シール空気を供給するように構成されている
請求項4に記載の劣化判定システム。
【請求項6】
前記回転機械はガスタービンであり、
前記高温高圧ガスは、前記ガスタービンの圧縮機の出口から排出される圧縮空気であり、
前記シール空気は、前記出口よりも上流側にある前記圧縮機の中間段落から抽気した圧縮空気である
請求項5に記載の劣化判定システム。
【請求項7】
前記シール装置はブラシシールである
請求項6に記載の劣化判定システム。
【請求項8】
回転機械のシール装置が劣化しているかを判定するための劣化判定方法であって、
前記回転機械は、
ロータと、
前記ロータを回転可能に支持する軸受と、
前記軸受を取り囲む軸受箱と、
前記軸受箱に供給されるシール空気が流れるためのシール空気供給路を規定するシール空気供給管と、
前記軸受箱の取り囲むケーシングであって、前記シール空気よりも高い温度および高い圧力を有する高温高圧ガスが充満する外部空間から前記軸受箱を隔てると共に、前記ロータの外周面との間に前記シール装置が配置される内周面を含むケーシングと、
を備え、
前記ケーシングと前記軸受箱との間に形成される第1空間の圧力に相当する第1圧力が、前記軸受箱の内側に形成される第2空間の圧力に相当する第2圧力よりも大きい場合に、前記シール装置が劣化していると判定するように構成された判定ステップを備える劣化判定方法。
発明の詳細な説明
【技術分野】
【0001】
本開示は、ガスタービンなどの回転機械のシール装置が劣化しているかを判定するための劣化判定装置、劣化判定システム、および、劣化判定方法に関する。
続きを表示(約 1,600 文字)
【背景技術】
【0002】
ガスタービンなどの回転機械にはシール装置が設けられる。例えば、特許文献1に開示されるガスタービンは、ロータと、ロータを回転可能に支持する軸受と、軸受を収容する軸受箱と、軸受箱を収容するケーシングと、ケーシングおよびロータの間に位置する外側シールリングとを備える。
【先行技術文献】
【特許文献】
【0003】
特開昭61-108808号公報
【発明の概要】
【発明が解決しようとする課題】
【0004】
外側シールリングは経時的に劣化する虞がある。しかしながら、上記特許文献には外側シールリングが劣化しているかを判定するための具体的な構成は開示されていない。
【0005】
本開示の目的は、回転機械のシール装置が劣化しているかを正確に判定できる劣化判定装置、劣化判定システム、および劣化判定方法を提供することである。
【課題を解決するための手段】
【0006】
本開示の少なくとも一実施形態に係る劣化判定装置は、
回転機械のシール装置が劣化しているかを判定するための劣化判定装置であって、
前記回転機械は、
ロータと、
前記ロータを回転可能に支持する軸受と、
前記軸受を取り囲む軸受箱と、
前記軸受箱に供給されるシール空気が流れるためのシール空気供給路を規定するシール空気供給管と、
前記軸受箱の取り囲むケーシングであって、前記シール空気よりも高い温度および高い圧力を有する高温高圧ガスが充満する外部空間から前記軸受箱を隔てると共に、前記ロータの外周面との間に前記シール装置が配置される内周面を含むケーシングと、
を備え、
前記ケーシングと前記軸受箱との間に形成される第1空間の圧力に相当する第1圧力が、前記軸受箱の内側に形成される第2空間の圧力に相当する第2圧力よりも大きい場合に、前記シール装置が劣化していると判定するように構成された判定部を備える。
【0007】
本開示の一実施形態に係る劣化判定システムは、
前記劣化判定装置と、
前記回転機械と
を備える。
【0008】
本開示の一実施形態に係る劣化判定方法は、
回転機械のシール装置が劣化しているかを判定するための劣化判定方法であって、
前記回転機械は、
ロータと、
前記ロータを回転可能に支持する軸受と、
前記軸受を取り囲む軸受箱と、
前記軸受箱に供給されるシール空気が流れるためのシール空気供給路を規定するシール空気供給管と、
前記軸受箱の取り囲むケーシングであって、前記シール空気よりも高い温度および高い圧力を有する高温高圧ガスが充満する外部空間から前記軸受箱を隔てると共に、前記ロータの外周面との間に前記シール装置が配置される内周面を含むケーシングと、
を備え、
前記ケーシングと前記軸受箱との間に形成される第1空間の圧力に相当する第1圧力が、前記軸受箱の内側に形成される第2空間の圧力に相当する第2圧力よりも大きい場合に、前記シール装置が劣化していると判定するように構成された判定ステップを備える。
【発明の効果】
【0009】
本開示によれば、回転機械のシール装置が劣化しているかを正確に判定できる劣化判定装置、劣化判定システム、および劣化判定方法を提供できる。
【図面の簡単な説明】
【0010】
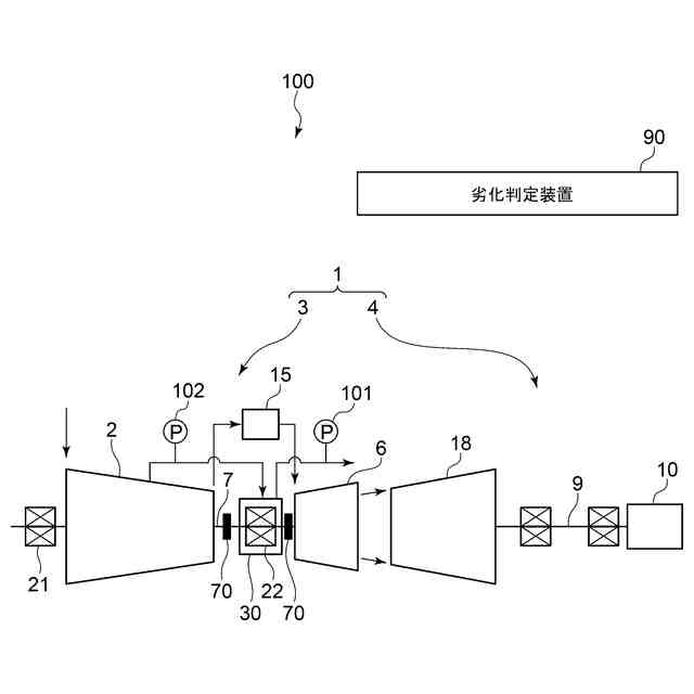
一実施形態に係る劣化判定システムの概略図である。
一実施形態に係るガスジェネレータ部の概略図である。
一実施形態に係る軸受の概略的な拡大図である。
一実施形態に係る劣化判定方法のフローチャートである。
【発明を実施するための形態】
(【0011】以降は省略されています)
この特許をJ-PlatPat(特許庁公式サイト)で参照する
関連特許
三菱重工業株式会社
加熱装置
2日前
三菱重工業株式会社
皮膜形成装置
9日前
三菱重工業株式会社
超音波探傷方法
9日前
三菱重工業株式会社
ポンプシステム
9日前
三菱重工業株式会社
バッテリ交換装置
10日前
三菱重工業株式会社
メタン酸化触媒装置
9日前
三菱重工業株式会社
ガスタービン制御方法
2日前
三菱重工業株式会社
電解セル、及び電解装置
10日前
三菱重工業株式会社
炭化炉及びその制御方法
9日前
三菱重工業株式会社
バーナ及びこれを備えたボイラ
9日前
三菱重工業株式会社
バーナ及びこれを備えたボイラ
9日前
三菱重工業株式会社
燃料噴射装置および往復動内燃機関
3日前
三菱重工業株式会社
水素製造システム及び水素製造方法
9日前
三菱重工業株式会社
洗浄装置、分離システム及び洗浄方法
9日前
三菱重工業株式会社
渦電流探傷装置、及び渦電流探傷方法
9日前
三菱重工業株式会社
蓄圧システム及び蓄圧システムの運転方法
10日前
三菱重工業株式会社
電解セルカートリッジおよびその製造方法
4日前
三菱重工業株式会社
電解モジュールの冷却方法及び電解システム
9日前
三菱重工業株式会社
シール構造、建屋及びシール構造の製造方法
10日前
三菱重工業株式会社
接着剤の膜厚測定方法、および接合部材の製造方法
4日前
三菱重工業株式会社
制御装置、CO2回収装置、制御方法及びプログラム
2日前
三菱重工業株式会社
経路設定方法、移動体、管理システム及びプログラム
4日前
三菱重工業株式会社
電力変換システム、および電力変換システムの制御方法
10日前
三菱重工業株式会社
劣化判定装置、劣化判定システム、および、劣化判定方法
2日前
三菱重工業株式会社
タービン架台及びタービン装置並びにタービン架台の製造方法
9日前
三菱重工業株式会社
粉砕テーブル及び固体燃料粉砕装置並びに粉砕テーブルの補修方法
9日前
三菱重工業株式会社
制御装置、ガスタービンの燃料供給系統、制御方法及びプログラム
5日前
三菱重工業株式会社
固体燃料粉砕装置及びボイラ設備並びに固体燃料粉砕装置の運転方法
10日前
三菱重工業株式会社
濃度算出装置、燃焼制御装置、濃度算出方法及び濃度算出プログラム
10日前
三菱重工業株式会社
船舶の積み付け計画作成装置、船舶の積み付け計画作成方法、およびプログラム
2日前
三菱重工業株式会社
熱電併給用蒸気生成システム及び熱電併給システム並びに熱電併給用蒸気生成方法
9日前
三菱重工業株式会社
ガスタービン制御装置、ガスタービン制御方法、及び、ガスタービン制御プログラム
5日前
三菱重工業株式会社
放射性廃棄物収納用セパレータ、放射性廃棄物収納容器および放射性廃棄物収納方法
5日前
三菱重工業株式会社
炭素強度演算装置、これを用いた合成燃料製造プラント、炭素強度演算方法及び炭素強度演算プログラム
9日前
三菱重工業株式会社
CO2回収装置用蒸気生成システム及びこれを備えたCO2回収装置並びにCO2回収装置用蒸気生成方法
9日前
株式会社豊田自動織機
エンジン式産業車両
10日前
続きを見る
他の特許を見る