TOP
|
特許
|
意匠
|
商標
特許ウォッチ
Twitter
他の特許を見る
10個以上の画像は省略されています。
公開番号
2025159918
公報種別
公開特許公報(A)
公開日
2025-10-22
出願番号
2024062780
出願日
2024-04-09
発明の名称
燃焼設備および制御方法
出願人
三菱重工業株式会社
代理人
個人
,
個人
,
個人
,
個人
,
個人
主分類
F23G
5/50 20060101AFI20251015BHJP(燃焼装置;燃焼方法)
要約
【課題】適切な燃焼を実現することができる燃焼設備を提供することを目的とする。
【解決手段】燃焼設備は、燃焼後のガスが流入する火炉と、乾燥段、燃焼段、および後燃焼段を含み被焼却物を燃焼させながら搬送する炉本体であって、被焼却物の搬送方向の上流側を前、搬送方向の下流側を後と称する場合に、火炉から前方に延びた前天井部と、火炉から後方に延びた後天井部と、後天井部の後端部から下方に延びた後壁とを有する炉本体と、後天井部の中で搬送方向における後天井部の中心よりも後方の領域または後壁に設けられ、前方に向けて第1燃焼用ガスを吐出する第1ノズルと、後天井部において第1ノズルよりも前側の位置に設けられ、後天井部から乾燥段または燃焼段に向けて第2燃焼用ガスを吐出する第2ノズルと、炉本体内の領域である一次燃焼域における目標となる空気比に基づいて、第2ノズルが吐出する第2燃焼用ガスの量を制御する制御部と、を備える。
【選択図】図1
特許請求の範囲
【請求項1】
燃焼後のガスが流入する火炉と、
乾燥段、燃焼段、および後燃焼段を含み被焼却物を燃焼させながら搬送する炉本体であって、前記被焼却物の搬送方向の上流側を前、前記搬送方向の下流側を後と称する場合に、前記火炉から前方に延びた前天井部と、前記火炉から後方に延びた後天井部と、前記後天井部の後端部から下方に延びた後壁とを有する炉本体と、
前記後天井部の中で前記搬送方向における前記後天井部の中心よりも後方の領域または前記後壁に設けられ、前方に向けて第1燃焼用ガスを吐出する第1ノズルと、
前記後天井部において前記第1ノズルよりも前側の位置に設けられ、前記後天井部から前記乾燥段または前記燃焼段に向けて第2燃焼用ガスを吐出する第2ノズルと、
前記炉本体内の領域である一次燃焼域における目標となる空気比に基づいて、前記第2ノズルが吐出する前記第2燃焼用ガスの量を制御する制御部と、
を備える燃焼設備。
続きを表示(約 1,500 文字)
【請求項2】
前記第2ノズルは、前記後天井部の中で前記搬送方向における前記後天井部の中心よりも前側の領域に設けられる、
請求項1に記載の燃焼設備。
【請求項3】
前記第2ノズルは、前記後天井部を前記搬送方向に仮想的に4分割した場合に、4分割した領域の中で最も前側の領域に設けられる、
請求項2に記載の燃焼設備。
【請求項4】
前記第2ノズルは、水平方向の前方を0°とする場合に、前記水平方向に対して60°以上、且つ、90°以下の角度範囲に含まれる方向に前記第2燃焼用ガスを吐出する、
請求項1から請求項3の何れか一項に記載の燃焼設備。
【請求項5】
前記第1ノズルを含むとともに、前記後天井部の中で前記搬送方向における前記後天井部の中心よりも後方の領域または前記後壁に設けられ、前方に向けて前記第1燃焼用ガスを吐出する複数の第1ノズルを備え、
前記複数の第1ノズルから前方に向けてそれぞれ延びた複数の仮想線を規定し、上方から見た場合に、前記第2ノズルは、前記複数の仮想線の間に配置される、
請求項1から請求項3の何れか一項に記載の燃焼設備。
【請求項6】
前記第1ノズルは、前記後壁に設けられるとともに、前記後天井部に沿う壁面噴流を形成する向きに前記第1燃焼用ガスを吐出する、
請求項1から請求項3の何れか一項に記載の燃焼設備。
【請求項7】
前記一次燃焼域の酸素濃度の低下を検知する検知部、
を備え、
前記制御部は、
前記検知部により前記一次燃焼域の酸素濃度の低下が検知された場合に、前記第1燃焼用ガスの酸素濃度を増加させる制御を行い、上記制御を行っても、前記一次燃焼域の酸素濃度の上昇または当該上昇の予兆が検知されない場合、前記第2燃焼用ガスの酸素濃度を増加させる制御を行う、
請求項1から請求項3の何れか一項に記載の燃焼設備。
【請求項8】
前記第2ノズルからの前記第2燃焼用ガスの吐出方向を変更可能な角度調整機構と、
前記燃焼後のガスまたは前記火炉を通過したガスに含まれる成分を検出するセンサと、
前記センサの検出結果に基づき、前記角度調整機構を制御する制御部と、
をさらに備える、
請求項1から請求項3の何れか一項に記載の燃焼設備。
【請求項9】
燃焼設備の制御方法であって、
前記燃焼設備は、
燃焼後のガスが流入する火炉と、
乾燥段、燃焼段、および後燃焼段を含み、被焼却物を燃焼させながら搬送する炉本体であって、前記被焼却物の搬送方向の上流側を前、前記搬送方向の下流側を後と称する場合に、前記火炉から前方に延びた前天井部と、前記火炉から後方に延びた後天井部と、前記後天井部の後端部から下方に延びた後壁とを有する炉本体と、
前記後天井部の中で前記搬送方向における前記後天井部の中心よりも後方の領域または前記後壁に設けられ、前方に向けて第1燃焼用ガスを吐出する第1ノズルと、
前記後天井部において前記第1ノズルよりも前側の位置に設けられ、前記後天井部から前記乾燥段または前記燃焼段に向けて第2燃焼用ガスを吐出する第2ノズルと、
を備え、
1つ以上のコンピュータが、
前記炉本体内の領域である一次燃焼域における目標となる空気比に基づいて、前記第2ノズルが吐出する前記第2燃焼用ガスの量を制御する、
ことを含む制御方法。
発明の詳細な説明
【技術分野】
【0001】
本開示は、燃焼設備および制御方法に関する。
続きを表示(約 2,800 文字)
【背景技術】
【0002】
特許文献1には、ロータリーキルン内の酸素濃度が所望の酸素濃度に制御される焼却装置が開示されている。特許文献2には、二次燃焼室から排出される排ガスにおけるNOx濃度の上昇を抑制する焼却炉が開示されている。
【先行技術文献】
【特許文献】
【0003】
特許第5430210号公報
特許第7199305号公報
【発明の概要】
【発明が解決しようとする課題】
【0004】
しかしながら、特許文献1に記載の焼却装置や特許文献2に記載の焼却炉では、より適切な燃焼を実現することが望まれている。
【0005】
本開示は、上記課題を解決するためになされたものであって、適切な燃焼を実現することのできる燃焼設備および制御方法を提供することを目的とする。
【課題を解決するための手段】
【0006】
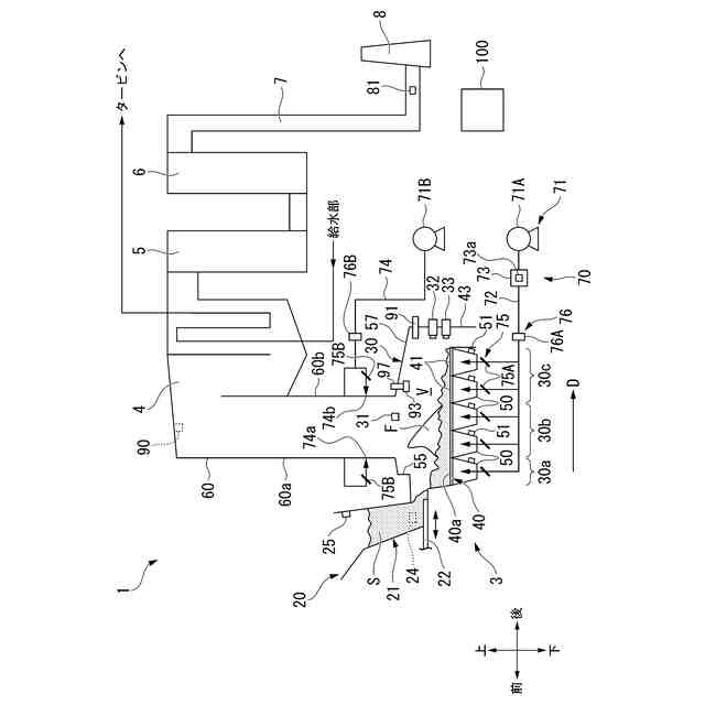
上記課題を解決するために、本開示に係る燃焼設備は、燃焼後のガスが流入する火炉と、乾燥段、燃焼段、および後燃焼段を含み被焼却物を燃焼させながら搬送する炉本体であって、前記被焼却物の搬送方向の上流側を前、前記搬送方向の下流側を後と称する場合に、前記火炉から前方に延びた前天井部と、前記火炉から後方に延びた後天井部と、前記後天井部の後端部から下方に延びた後壁とを有する炉本体と、前記後天井部の中で前記搬送方向における前記後天井部の中心よりも後方の領域または前記後壁に設けられ、前方に向けて第1燃焼用ガスを吐出する第1ノズルと、前記後天井部において前記第1ノズルよりも前側の位置に設けられ、前記後天井部から前記乾燥段または前記燃焼段に向けて第2燃焼用ガスを吐出する第2ノズルと、前記炉本体内の領域である一次燃焼域における目標となる空気比に基づいて、前記第2ノズルが吐出する前記第2燃焼用ガスの量を制御する制御部と、を備える。
【0007】
本開示に係る燃焼制御方法は、燃焼設備の制御方法であって、前記燃焼設備は、燃焼後のガスが流入する火炉と、乾燥段、燃焼段、および後燃焼段を含み、被焼却物を燃焼させながら搬送する炉本体であって、前記被焼却物の搬送方向の上流側を前、前記搬送方向の下流側を後と称する場合に、前記火炉から前方に延びた前天井部と、前記火炉から後方に延びた後天井部と、前記後天井部の後端部から下方に延びた後壁とを有する炉本体と、前記後天井部の中で前記搬送方向における前記後天井部の中心よりも後方の領域または前記後壁に設けられ、前方に向けて第1燃焼用ガスを吐出する第1ノズルと、前記後天井部において前記第1ノズルよりも前側の位置に設けられ、前記後天井部から前記乾燥段または前記燃焼段に向けて第2燃焼用ガスを吐出する第2ノズルと、を備え、1つ以上のコンピュータが、前記炉本体内の領域である一次燃焼域における目標となる空気比に基づいて、前記第2ノズルが吐出する前記第2燃焼用ガスの量を制御する、ことを含む。
【発明の効果】
【0008】
本開示の燃焼設備用システムおよび燃焼制御方法によれば、適切な燃焼を実現することができる。
【図面の簡単な説明】
【0009】
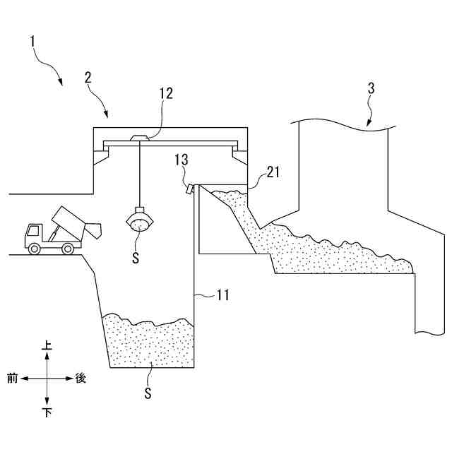
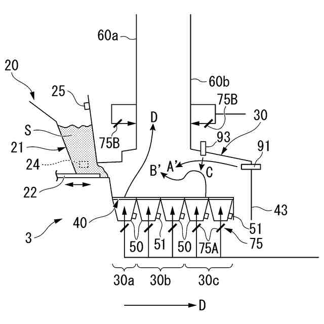
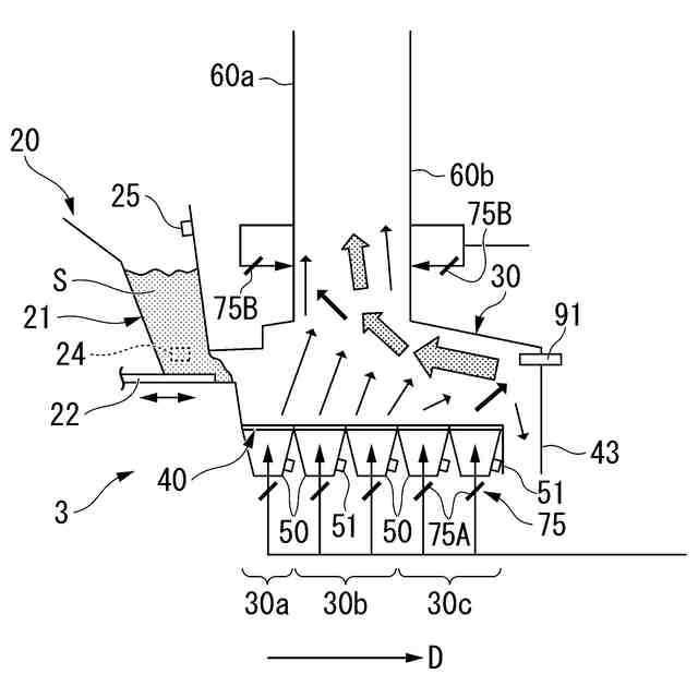
本開示の第1実施形態による燃焼設備の構成の一例を示す図である。
本開示の第1実施形態による貯留部の構成の一例を示す図である。
本開示の第1実施形態による燃焼設備の構成の一例を示す図である。
第2EGRノズルが存在しない燃焼設備におけるガスの流れの一例を示す図である。
本開示の第1実施形態による第2EGRノズルが存在する燃焼設備におけるガスの流れの一例を示す図である。
本開示の第1実施形態による第2EGRノズルがガスを吐出する角度と燃焼の関係の一例を示す図である。
本開示の第1実施形態による第2EGRノズルがガスを吐出する位置と燃焼の関係の一例を示す図である。
第2EGRノズルが存在しない燃焼設備におけるガスの流速の一例を示す図である。
本開示の第1実施形態による第2EGRノズルが存在する燃焼設備1におけるガスの流速の一例を示す図である。
第2EGRノズルが存在しない燃焼設備におけるSRgの一例を示す図である。
本開示の第1実施形態による第2EGRノズルが存在する燃焼設備1におけるSRgの一例を示す図である。
第2EGRノズルが存在しない燃焼設備におけるNOxの濃度分布の一例を示す図である。
本開示の第1実施形態による第2EGRノズルが存在する燃焼設備1におけるNOxの濃度分布の一例を示す図である。
本開示の第1実施形態における第1EGRノズルおよび第2EGRノズルの設置位置の一例を示す図である。
本開示の第1実施形態におけるEGRノズル周辺のガスの流れの一例を示す図である。
本開示の第1実施形態による第2EGRノズルの吐出するガスによる第1EGRノズルから吐出されるガスの流れの第1の例を示す図である。
本開示の第1実施形態による第2EGRノズルの吐出するガスによる第1EGRノズルから吐出されるガスの流れの第2の例を示す図である。
本開示の第1実施形態による第2EGRノズルが吐出するガスと第1EGRノズルが吐出するガスの流れの関係の一例を示す図である。
本開示の第2実施形態による燃焼設備がO2に応じて混合するEGRを制御する処理フローの一例を示す図である。
本開示の第2実施形態による燃焼設備がO2とストーカ速度に応じてEGRを制御する処理フローの一例を示す図である。
本開示の第2実施形態による制御部130が行う処理のイメージを示す図である。
実施形態に係るコンピュータの構成を示すハードウェア構成図である。
【発明を実施するための形態】
【0010】
以下、本開示の実施形態を、図面を参照して説明する。以下の説明では、同一または類似の機能を有する構成に同一の符号を付す。そして、それら構成の重複する説明は省略する場合がある。本開示で「XXに基づく」とは、「少なくともXXに基づく」ことを意味し、XXに加えて別の要素に基づく場合も含み得る。また「XXに基づく」とは、XXを直接に用いる場合に限定されず、XXに対して演算や加工が行われたものに基づく場合も含み得る。本開示で「XXまたはYY」とは、XXとYYのうちいずれか一方の場合に限定されず、XXとYYの両方の場合も含み得る。これは選択的要素が3つ以上の場合も同様である。「XX」および「YY」は、任意の要素(例えば任意の情報)である。
(【0011】以降は省略されています)
この特許をJ-PlatPat(特許庁公式サイト)で参照する
関連特許
三菱重工業株式会社
原子炉
4日前
三菱重工業株式会社
動力装置
26日前
三菱重工業株式会社
ボイラ壁
23日前
三菱重工業株式会社
施工方法
10日前
三菱重工業株式会社
加熱装置
1か月前
三菱重工業株式会社
皮膜形成装置
1か月前
三菱重工業株式会社
ポンプシステム
1か月前
三菱重工業株式会社
燃焼筒の取付方法
23日前
三菱重工業株式会社
石膏脱水システム
10日前
三菱重工業株式会社
メタン酸化触媒装置
1か月前
三菱重工業株式会社
ガスタービン起動方法
19日前
三菱重工業株式会社
蒸気タービンシステム
19日前
三菱重工業株式会社
ガスタービン制御方法
1か月前
三菱重工業株式会社
ガス処理装置および方法
17日前
三菱重工業株式会社
燃焼設備および制御方法
25日前
三菱重工業株式会社
炭化炉及びその制御方法
1か月前
三菱重工業株式会社
原子炉炉心および原子炉
4日前
三菱重工業株式会社
アンモニア除害システム
10日前
三菱重工業株式会社
シール装置及び回転機械
9日前
三菱重工業株式会社
軸流圧縮機、及びその動翼
11日前
三菱重工業株式会社
計測システムおよび計測方法
17日前
三菱重工業株式会社
水素吸蔵材料および原子力設備
18日前
三菱重工業株式会社
レドックスフロー電池システム
23日前
三菱重工業株式会社
支持部材及び接着剤の監視方法
10日前
三菱重工業株式会社
バーナ及びこれを備えたボイラ
1か月前
三菱重工業株式会社
バーナ及びこれを備えたボイラ
1か月前
三菱重工業株式会社
インバータ装置及びその保護方法
17日前
三菱重工業株式会社
演算方法、プログラム及び演算装置
25日前
三菱重工業株式会社
燃料噴射装置および往復動内燃機関
1か月前
三菱重工業株式会社
水素製造システム及び水素製造方法
1か月前
三菱重工業株式会社
電動ファンおよび電動垂直離着陸機
20日前
三菱重工業株式会社
インバータ基板及びインバータ装置
17日前
三菱重工業株式会社
補修方法、プログラム、及び補修装置
11日前
三菱重工業株式会社
圧縮機の静翼セグメント、及び圧縮機
10日前
三菱重工業株式会社
RPB装置及び酸性ガス回収システム
17日前
三菱重工業株式会社
燃料製造システム、及び燃料製造方法
12日前
続きを見る
他の特許を見る