TOP
|
特許
|
意匠
|
商標
特許ウォッチ
Twitter
他の特許を見る
公開番号
2025174233
公報種別
公開特許公報(A)
公開日
2025-11-28
出願番号
2024080382
出願日
2024-05-16
発明の名称
排ガス処理触媒及び排ガス処理方法
出願人
三菱重工業株式会社
代理人
弁理士法人酒井国際特許事務所
主分類
B01J
23/30 20060101AFI20251120BHJP(物理的または化学的方法または装置一般)
要約
【課題】排ガスの成分が変動した場合でも、触媒の性能を高くすることができる。
【解決手段】窒素酸化物を含む排ガスにアンモニアが混合された流体の窒素酸化物とアンモニアの反応を促進する排ガス処理触媒であって、主成分であるチタン酸化物と、活性成分であるマンガンと、を含み、マンガンは、Mn
2
O
3
換算で、全量の0.2質量%以上1.0質量%以下である。
【選択図】図2
特許請求の範囲
【請求項1】
窒素酸化物を含む排ガスにアンモニアが混合された流体の窒素酸化物とアンモニアの反応を促進する排ガス処理触媒であって、
主成分であるチタン酸化物と、
活性成分であるマンガンと、を含み、
マンガンは、Mn
2
O
3
換算で、全量の0.2質量%以上1.0質量%以下である排ガス処理触媒。
続きを表示(約 830 文字)
【請求項2】
前記チタン酸化物は、TiO
2
換算で、全量の60質量%以上である請求項1に記載の排ガス処理触媒。
【請求項3】
活性成分として、タングステン酸化物及びバナジウム酸化物の少なくとも一方を有する請求項1に記載の排ガス処理触媒。
【請求項4】
バナジウム酸化物は、V
2
O
5
換算で全量の0.1質量%以上10質量%以下である請求項3に記載の排ガス処理触媒。
【請求項5】
タングステン酸化物は、WO
3
換算で全量の0.1質量%以上20質量%以下である請求項3に記載の排ガス処理触媒。
【請求項6】
全量の0.1wt%以上2%以下の三酸化硫黄をさらに含む請求項1に記載の排ガス処理触媒。
【請求項7】
活性成分として、クロム、銅、コバルトを含まない請求項1に記載の排ガス処理触媒。
【請求項8】
処理対象の排ガスのNO
2
/NO
x
が、0.5以上であり、且つ、HCHOの濃度がNO
2
濃度以上である請求項1から請求項7のいずれか一項に記載の排ガス処理触媒。
【請求項9】
窒素酸化物を含む排ガスにアンモニアが混合された流体が流入するステップと、
主成分であるチタン酸化物と、活性成分であるマンガンと、を含み、マンガンは、全量の1.0質量%以下である排ガス処理触媒で、窒素酸化物とアンモニアの反応を促進するステップとを有する排ガス処理方法。
【請求項10】
前記排ガスは、NO
2
/NO
x
が、0.5以上であり、且つ、HCHOの濃度がNO
2
濃度以上である条件から、HCHOの濃度が含まれない条件まで変動する請求項9に記載の排ガス処理方法。
発明の詳細な説明
【技術分野】
【0001】
本開示は、排ガスに含まれる窒素酸化物を処理する排ガス処理触媒及び排ガス処理方法に関するものである。
続きを表示(約 1,500 文字)
【背景技術】
【0002】
天然ガス、石油、石炭等の化石燃料や、バイオマス等の燃料を燃焼させるガスタービン、ボイラ等の燃焼プラントは、燃焼して発生する排ガスを処理する排ガス処理装置を備えている。排ガス処理装置は、排ガスに含まれる窒素酸化物を還元する脱硝設備を有する。脱硝設備は、尿素やアンモニアを排ガスに供給し、アンモニアと窒素酸化物を反応させて、窒素酸化物を還元する。脱硝装置は、アンモニアと窒素酸化物の反応を促進させる触媒を備えている。
【0003】
脱硝触媒(排ガス処理触媒)としては、特許文献1に、NO
2
/NOモル比が1以上で存在する排ガス中の窒素酸化物を除去する触媒であって、TiO
2
-V
2
O
5
-WO
3
からなる触媒に、Cr、Cu、Mn、Coの少なくとも1種以上をその酸化物換算で0.1~10wt%添加してなる脱硝触媒が記載されている。
【先行技術文献】
【特許文献】
【0004】
特開平04-18932号公報
【発明の概要】
【発明が解決しようとする課題】
【0005】
特許文献1に記載された触媒は、窒素酸化物の還元処理を促進させることができる。ここで、発電に用いるガスタービン、ボイラ等は、全体の発電量に応じて、発電量を調整する変動負荷運転を行う場合がある。負荷を変動させて運転させる場合や、低負荷で運転する場合と、所定以上の負荷で運転する場合とでは、排ガスの成分が変化する。そのため、排ガスの成分が変動した場合でも、触媒の性能を高くすることが求められている。
【0006】
本開示は、上述した課題を解決するものであり、排ガスの成分が変動した場合でも、触媒の性能を高くすることができる排ガス処理触媒及び排ガス処理方法を提供することを目的とする。
【課題を解決するための手段】
【0007】
上記の目的を達成するための本開示の排ガス処理触媒は、窒素酸化物を含む排ガスにアンモニアが混合された流体の窒素酸化物とアンモニアの反応を促進する排ガス処理触媒であって、主成分であるチタン酸化物と、活性成分であるマンガンと、を含み、マンガンは、Mn
2
O
3
換算で、全量の0.2質量%以上1.0質量%以下である。
【0008】
また、本開示の排ガス処理方法は、窒素酸化物を含む排ガスにアンモニアが混合された流体が流入するステップと、主成分であるチタン酸化物と、活性成分であるマンガンと、を含み、マンガンは、全量の1.0質量%以下である排ガス処理触媒で、窒素酸化物とアンモニアの反応を促進するステップとを有する。
【発明の効果】
【0009】
本開示によれば、排ガスの成分が変動した場合でも、触媒の性能を高くすることができる。
【図面の簡単な説明】
【0010】
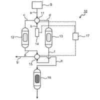
図1は、本実施形態の排ガス処理触媒が適用された燃焼プラントを表す概略構成図である。
図2は、脱硝性能を測定した結果を示すグラフである。
図3は、HCHO除去性能を測定した結果を示すグラフである。
図4は、脱硝性能を測定した結果を示すグラフである。
図5は、脱硝性能を測定した結果を示す表である。
【発明を実施するための形態】
(【0011】以降は省略されています)
この特許をJ-PlatPat(特許庁公式サイト)で参照する
関連特許
トヨタ紡織株式会社
フィルタ
3日前
株式会社ダイセル
圧力容器
1日前
セイコーエプソン株式会社
フィルター装置
1日前
愛三工業株式会社
水素分離膜
1日前
株式会社デンソー
電気化学セル
2日前
栗田工業株式会社
方法、システム及びプログラム
1日前
セイコーエプソン株式会社
流体デバイス
1日前
いすゞ自動車株式会社
二酸化炭素回収装置
1日前
いすゞ自動車株式会社
二酸化炭素回収装置
1日前
いすゞ自動車株式会社
二酸化炭素回収装置
1日前
アイエス ジャパン株式会社
粉体の製造方法及び中実粉体
1日前
株式会社アイシン
二酸化炭素回収システム
2日前
セイコーエプソン株式会社
触媒構造体および触媒構造体の製造方法
1日前
三菱重工業株式会社
排ガス処理触媒及び排ガス処理方法
1日前
三菱重工業株式会社
排ガス処理触媒ユニット及び排ガス処理方法
1日前
オルガノ株式会社
イオン交換体を有する組立体及びその製造方法、並びにイオン交換装置
1日前
カナデビア株式会社
被分離流体が流れる通路形成用の外管及びこれを用いた分離装置
1日前
国立大学法人北海道大学
ガス中の一酸化二窒素を分解する方法及び装置
1日前
アルケマ フランス
有機過酸化物の水性エマルジョン
3日前
ウシオ電機株式会社
二酸化炭素吸収材、及び二酸化炭素の回収方法
1日前
ドナルドソン カンパニー,インコーポレイティド
濾過媒体
3日前
モダン ハイドロゲン,インコーポレイティド
自己洗浄回転要素を含む反応器、並びに関連するシステム、デバイス、及び方法
2日前
インテグリス・インコーポレーテッド
フィルタカートリッジ、フィルタ装置、および方法
3日前
エア・ウォーター・パフォーマンスケミカル株式会社
二酸化炭素を分離・還元する二元機能触媒及びその製造方法並びに該二元機能触媒を用いたプロセス
1日前
テロス セラピューティクス,インク.
治療送達用のプラットフォーム、組成物、および方法
1日前
ギリアード サイエンシーズ, インコーポレイテッド
GP120 V3グリカン指向性抗体による療法に感受性であるHIV患者を同定する方法
1日前
他の特許を見る