TOP
|
特許
|
意匠
|
商標
特許ウォッチ
Twitter
他の特許を見る
公開番号
2025177622
公報種別
公開特許公報(A)
公開日
2025-12-05
出願番号
2024084636
出願日
2024-05-24
発明の名称
支持金物の溶接装置および方法
出願人
三菱重工業株式会社
代理人
弁理士法人酒井国際特許事務所
主分類
B23K
37/02 20060101AFI20251128BHJP(工作機械;他に分類されない金属加工)
要約
【課題】支持金物の溶接装置および方法において、支持柱に対する支持金物の溶接作業における作業性の向上を図る。
【解決手段】円筒形状をなして上端部の内側に熱電対引出管を支持する止め金が装着された支持柱の上端部に対して、円筒形状をなす支持金物の下端部を溶接する支持金物の溶接装置において、支持柱の周囲に配置される架台と、架台に配置されて支持柱を保持可能な保持装置と、架台に対して支持柱の軸心を中心にして回転可能に支持される回転台と、回転台に装着される溶接機と、回転台に装着されて支持柱に対する支持金物の水平面の水平度を計測する計測器と、を備える。
【選択図】図3
特許請求の範囲
【請求項1】
円筒形状をなして上端部の内側に熱電対引出管を支持する止め金が装着された支持柱の上端部に対して、円筒形状をなす支持金物の下端部を溶接する支持金物の溶接装置において、
前記支持柱の周囲に配置される架台と、
前記架台に配置されて前記支持柱を保持可能な保持装置と、
前記架台に対して前記支持柱の軸心を中心にして回転可能に支持される回転台と、
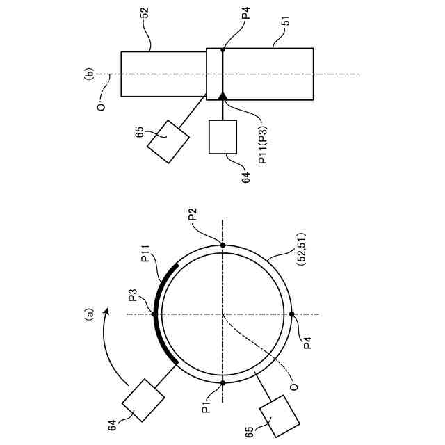
前記回転台に装着される溶接機と、
前記回転台に装着されて前記支持柱に対する前記支持金物の水平面の水平度を計測する計測器と、
を備える支持金物の溶接装置。
続きを表示(約 630 文字)
【請求項2】
前記溶接機と前記計測器は、周方向にずれた位置に配置される、
請求項1に記載の支持金物の溶接装置。
【請求項3】
前記支持金物は、外周部に水平面を有し、前記計測器は、前記水平面までの距離を計測するレーザ変位計を有する、
請求項1または請求項2に記載の支持金物の溶接装置。
【請求項4】
前記回転台の上方に支持部材により支持台が支持され、前記溶接機は、前記支持台の下面部側に支持され、前記計測器は、前記支持台の上面部側に支持される、
請求項1に記載の支持金物の溶接装置。
【請求項5】
円筒形状をなして上端部の内側に熱電対引出管を支持する止め金が装着された支持柱の上端部に対して、円筒形状をなす支持金物の下端部を溶接する支持金物の溶接方法において、
前記支持柱と前記支持金物との接合部に対して周方向に間隔を空けた位置に複数の仮溶接を行うステップと、
前記仮溶接を行うごとに前記支持柱に対する前記支持金物の水平面の水平度を計測した計測結果に基づいて次の仮溶接位置を設定するステップと、
前記仮溶接の完了後に前記仮溶接位置を中心とした複数の周方向領域に本溶接を行うステップと、
前記本溶接を行うごとに前記支持柱に対する前記支持金物の水平面の水平度を計測した計測結果に基づいて次の本溶接位置を設定するステップと、
を有する支持金物の溶接方法。
発明の詳細な説明
【技術分野】
【0001】
本開示は、支持柱に対して支持金物を溶接する支持金物の溶接装置および方法に関するものである。
続きを表示(約 2,000 文字)
【背景技術】
【0002】
原子力発電プラントにて、原子炉格納容器は、岩盤等の堅固な地盤上に立設され、内部に原子炉が配置される。原子炉は、原子炉容器の内部に燃料などの炉内構造物が配置されて構成される。炉内構造物として、上部炉心支持板と上部炉心板との間に管状をなす複数の熱電対引出管支持柱が配置される。熱電対引出管支持柱は、上端部に管状をなす支持金物が連結される。熱電対引出管支持柱および支持金物は、内部に熱電対引出管が配置される。支持金物は、下端部が熱電対引出管支持柱の上端部に溶接により連結される。このような炉内構造物を溶接する技術としては、例えば、特許文献1に記載されたものがある。
【先行技術文献】
【特許文献】
【0003】
特開2003-53553号公報
【発明の概要】
【発明が解決しようとする課題】
【0004】
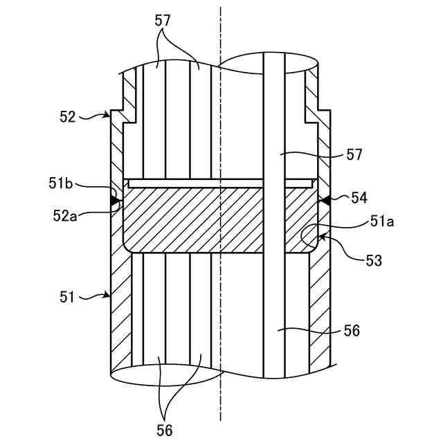
熱電対引出管支持柱は、上端部の内側に熱電対引出管を支持する止め金が装着されており、止め金が装着された熱電対引出管支持柱の上端部に支持金物の下端部を溶接により連結する。まず、止め金が装着された熱電対引出管支持柱の上端部に対して、支持金物を溶接する位置に位置決めする。このとき、支持金物は、下端面が熱電対引出管支持柱の上端面に接触し、下端部が止め金の上端部に嵌合する。この状態で、熱電対引出管支持柱と支持金物との接合部を溶接する。ところが、溶接時に、接合部が熱歪みを生じて熱電対引出管支持柱に対して支持金物が傾いてしまう。そのため、熱電対引出管支持柱と支持金物との溶接作業と、ダイヤルゲージによる支持金物の傾斜度の計測作業を繰り返し行うこととなり、溶接作業に長時間を要してしまうという課題がある。
【0005】
本開示は、上述した課題を解決するものであり、支持柱に対する支持金物の溶接作業における作業性の向上を図る支持金物の溶接装置および方法を提供することを目的とする。
【課題を解決するための手段】
【0006】
上記の目的を達成するための本開示の支持金物の溶接装置は、円筒形状をなして上端部の内側に熱電対引出管を支持する止め金が装着された支持柱の上端部に対して、円筒形状をなす支持金物の下端部を溶接する支持金物の溶接装置において、前記支持柱の周囲に配置される架台と、前記架台に配置されて前記支持柱を保持可能な保持装置と、前記架台に対して前記支持柱の軸心を中心にして回転可能に支持される回転台と、前記回転台に装着される溶接機と、前記回転台に装着されて前記支持柱に対する前記支持金物の水平面の水平度を計測する計測器と、を備える。
【0007】
また、本開示の支持金物の溶接方法は、円筒形状をなして上端部の内側に熱電対引出管を支持する止め金が装着された支持柱の上端部に対して、円筒形状をなす支持金物の下端部を溶接する支持金物の溶接方法において、前記支持柱と前記支持金物との接合部に対して周方向に間隔を空けた位置に複数の仮溶接を行うステップと、前記仮溶接を行うごとに前記支持柱に対する前記支持金物の水平面の水平度を計測した計測結果に基づいて次の仮溶接位置を設定するステップと、前記仮溶接の完了後に前記仮溶接位置を中心とした複数の周方向領域に本溶接を行うステップと、前記本溶接を行うごとに前記支持柱に対する前記支持金物の水平面の水平度を計測した計測結果に基づいて次の本溶接位置を設定するステップと、を有する。
【発明の効果】
【0008】
本開示の支持金物の溶接装置および方法によれば、支持柱に対する支持金物の溶接作業における作業性の向上を図ることができる。
【図面の簡単な説明】
【0009】
図1は、加圧水型原子炉を表す縦断面図である。
図2は、支持柱と止め金と支持金物との連結構造を表す概略断面図である。
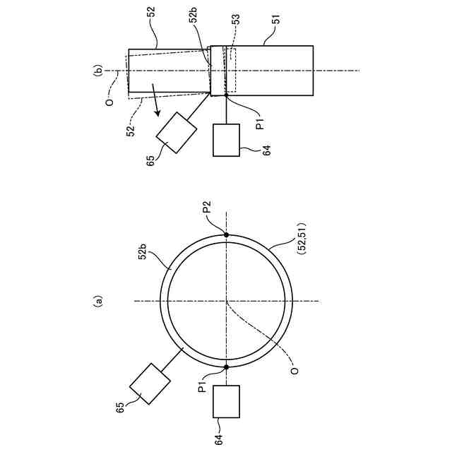
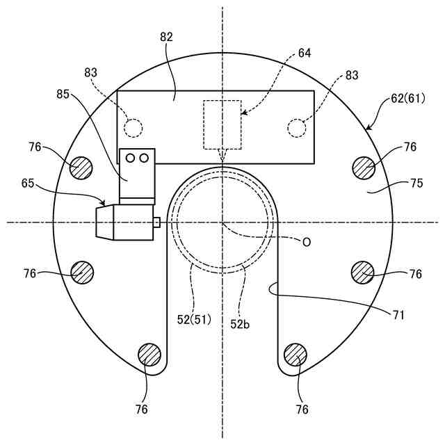
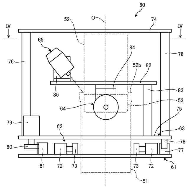
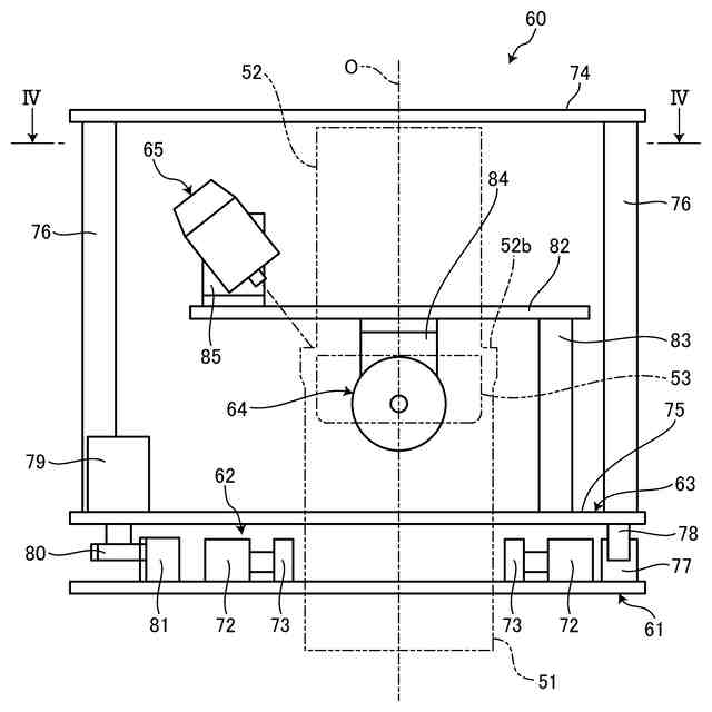
図3は、支持金物の溶接装置を表す概略正面図である。
図4は、支持金物の溶接装置を表す図3のIV-IV断面図である。
図5は、本実施形態の支持金物の溶接方法を表す概略図である。
図6は、支持金物の溶接方法を表す概略図である。
図7は、支持金物の溶接方法を表す概略図である。
図8は、支持金物の溶接方法を表す概略図である。
【発明を実施するための形態】
【0010】
以下に図面を参照して、本開示の好適な実施形態を詳細に説明する。なお、この実施形態により本開示が限定されるものではなく、また、実施形態が複数ある場合には、各実施形態を組み合わせて構成するものも含むものである。また、実施形態における構成要素には、当業者が容易に想定できるもの、実質的に同一のもの、いわゆる均等の範囲のものが含まれる。
(【0011】以降は省略されています)
この特許をJ-PlatPat(特許庁公式サイト)で参照する
関連特許
三菱重工業株式会社
原子炉
2日前
三菱重工業株式会社
原子炉
24日前
三菱重工業株式会社
炭化炉
3日前
三菱重工業株式会社
施工方法
1か月前
三菱重工業株式会社
加熱装置
1か月前
三菱重工業株式会社
動力装置
1か月前
三菱重工業株式会社
ボイラ壁
1か月前
三菱重工業株式会社
遠心圧縮機
8日前
三菱重工業株式会社
原子力システム
9日前
三菱重工業株式会社
石膏脱水システム
1か月前
三菱重工業株式会社
燃焼筒の取付方法
1か月前
三菱重工業株式会社
支持金物除去方法
1日前
三菱重工業株式会社
配管端部用閉止装置
3日前
三菱重工業株式会社
蒸気タービンシステム
1か月前
三菱重工業株式会社
ガスタービン起動方法
1か月前
三菱重工業株式会社
ガスタービン制御方法
1か月前
三菱重工業株式会社
燃焼設備および制御方法
1か月前
三菱重工業株式会社
アンモニア除害システム
1か月前
三菱重工業株式会社
シール装置及び回転機械
29日前
三菱重工業株式会社
原子炉炉心および原子炉
24日前
三菱重工業株式会社
評価装置および評価方法
9日前
三菱重工業株式会社
ガス処理装置および方法
1か月前
三菱重工業株式会社
軸流圧縮機、及びその動翼
1か月前
三菱重工業株式会社
計測システムおよび計測方法
1か月前
三菱重工業株式会社
レドックスフロー電池システム
1か月前
三菱重工業株式会社
支持部材及び接着剤の監視方法
1か月前
三菱重工業株式会社
支持金物の溶接装置および方法
1日前
三菱重工業株式会社
水素吸蔵材料および原子力設備
1か月前
三菱重工業株式会社
ドライアイス貯留部、及び船舶
3日前
三菱重工業株式会社
インバータ装置及びその保護方法
1か月前
三菱重工業株式会社
水位制御方法および水位制御装置
9日前
三菱重工業株式会社
インバータ基板及びインバータ装置
1か月前
三菱重工業株式会社
評価方法、評価装置及びプログラム
2日前
三菱重工業株式会社
電動ファンおよび電動垂直離着陸機
1か月前
三菱重工業株式会社
燃料噴射装置および往復動内燃機関
1か月前
三菱重工業株式会社
演算方法、プログラム及び演算装置
1か月前
続きを見る
他の特許を見る